大家使用手机有没有遇见过这样一个问题,那就是手机用着用着手机屏幕忽然开始自己跳了。屏幕自己跳动或者使用不灵敏其实在我们日常生活中常见的有两种情况,第一种是屏幕使用时间过长,寿命到哪了。还有一种就是我们今天要讲的主题——手机受潮了。
我真的是真真切切遇到过这种情况发生,不过当时不懂,就把手机后盖打开拿吹风机对着吹,想快点把里面的水分给蒸发了,结果把主板还是处理器给烧坏了。真的非常可惜,可是许多朋友也遇到过这种事情,尤其是在南方,那么我们又该怎么办呢?

根据现阶段消息我们可以得知,苹果也正在为解决用户这一困扰而努力着。在今后iPhone手机与Apple Watch智能手表将很有可能采用智能开孔保护盖,这一设计构思能够让产品内部空气流动,以达到冷却产品内部组件的功效,与此同时,空气的流动还能够帮助产品内部蒸发湿气,方式其进入设备。
这一设计构思有好处也有坏处,好处是我上述刚刚提到的两点——散热和保持干燥,但是不好的地方就是这样的设计构思是从听筒、充电口产品外壳不歪开孔达到的,所以空气流通也就意味着设备的防水性将大大降低。

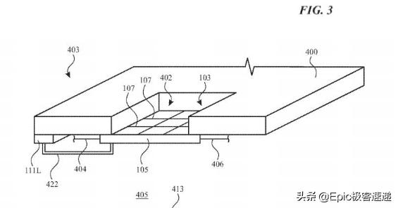
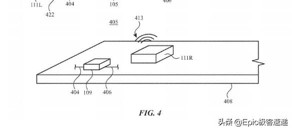
现在美国专利商标局已经在周二授予了这项专利,该专利命名为“电子设备的智能通风口”。在专利中表明,苹果提出在设备上加入带有盖子的通风口,让内部空腔与外界空气隔离。专利中表示这个盖子拥有透气、耐液体的特性,还可以拥有过滤空气与湿气的功能性,也会让该设计保持其一定的防水性。盖子上还装有传感器,能够检测湿气与其他信息。配有红外加热器机制,可以更加快速的处理湿气与残留水分。
