管道缝隙内壁渗漏水,可分为以下几种程度:
(1)微渗:
混凝土面潮湿、有湿渍,手触摸有水,灯光照射下无反光水迹。
修缮时宜采用表面修复技术,采用渗透凝胶结晶型防水涂料。修缮时应先将管片接缝及周边清洁干净,用渗透凝胶结晶型防水涂料涂刷4遍。
(2)慢渗:
混凝土面潮湿、有水印,手触摸有水,擦干渗水部位,经一段时间可见流水反光印迹。
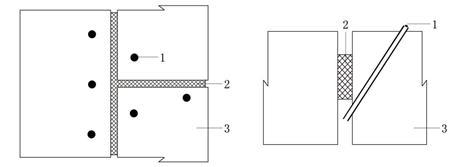
有明水、水压低。修缮时宜采用结构深层注浆堵漏技术,采用丙烯酸盐注浆料。注浆孔应沿管片接缝错开设置,孔间距300~1000(mm),距管片接缝处边沿100~200(mm),钻孔时应倾斜40°~60°(往哪边倾斜)角度进行钻孔,钻孔深度至管片密封条后边。图为注浆孔位置及深度示意图。

注浆孔位置及深度示意图
1、注浆孔 2、密封条 3、管片
注浆施工时,注浆最大压力应控制在0.6(Mpa)左右,注浆料用量每米1~3(Kg)。

(3)漏水:
擦干漏水面,可见渗漏处上立即有水渗出,在顶板下滴水或滴水成线,墙面淌水,底板上形成积水。漏水量大,个别呈小笼头状,漏水50ml/min。
有明水、水压大,修缮时宜采用无机盐注浆。注浆施工时,注浆最大压应控制在1.0(Mpa)以下,注浆料用量每米2~10(Kg)。

以上产品皆是京德立邦公司的优质产品,欢迎做工程的合作伙伴前来合作,有意请私信哟。