装配图的画法主要依据《GB/T4458.2-2003 机械制图装配图中零部件序号及其编排方法》所规定的标准执行。GB/T4458.2-2003 适用于机械装配图中零件、 部件序号的编排方法以及机械装配图的绘制。
一、装配图的内容

1.一组图形;2.必要的尺寸;3.技术要求;4.标题栏、零件序号和明细栏
二、装配图的尺寸标注
在装配图中不需标注零件的全部尺寸,而只需注出下列几种必要的尺寸:
1.规格(性能)尺寸。表示装配体的性能、规格或特征的尺寸,有时被称为规格尺寸,它常常是设计或选择使用装配体的依据
2.装配尺寸。表示装配体各零件之间装配关系的尺寸,它包括:表示零件配合性质的尺寸;表示零件间比较重要的相对位置尺寸。
3.安装尺寸。表示装配体的外形轮廓尺寸,通常是总长、总宽、总高等,为部件的装配体在包装、运输、安装时所需的尺寸。
4.外形尺寸。为安装部件在地基上,或其他部件相连接所需要的结构及尺寸,在装配图中是必须要表示的。
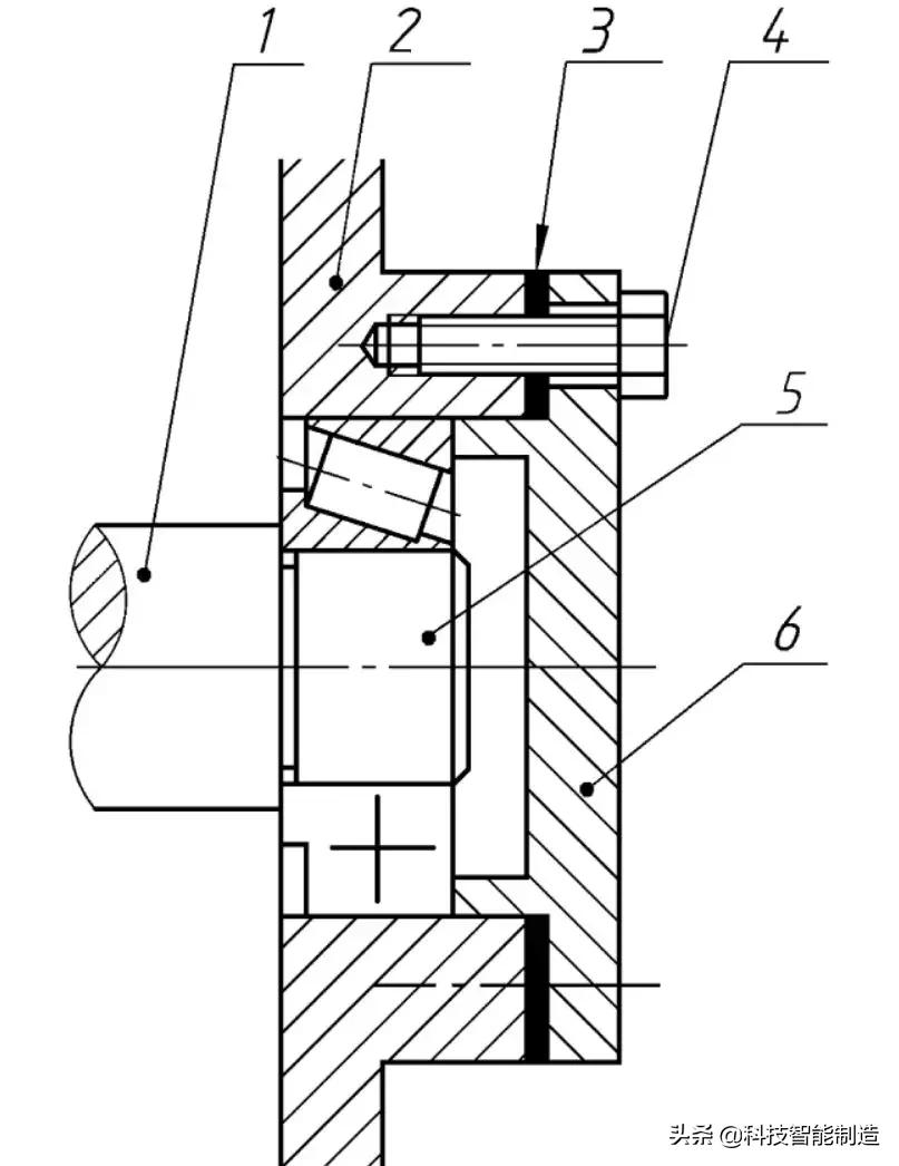
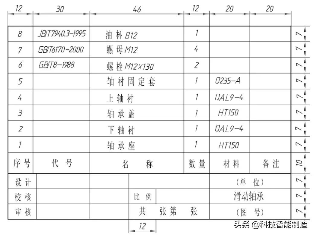
三、装配图序号和明细栏
1.序号。
一种是对机器或部件中的所有零件按一定顺序进行编号。另一种是将装配图中标准件的数量、标记按规定标注在图上,标准件不占编号,而将非标准零件按顺序进行编号。
序号编写一般规定
A.序号的注法

B.指引线末端画箭头

C.公共指引线

2.明细栏

四、常见的装配结构
1.接触面与配合面结构的合理性
两个零件在同一方向上只能有一个接触面和配合面。

为保证轴肩端面与孔端面接触,可在轴肩处加工出退刀槽,或在孔的端面加工出倒角。

2.密封装置

3.防松装置
