点蓝字关注,不迷路~
精梳后的并条机高架频繁的断条原因很多,也是一个经常困扰前纺并条机生产效率的难题,尤其是在高温高湿季节,高架频繁断条现象尤为突出,这与精梳机出现频繁缠绕牵伸罗拉、牵伸皮辊、拥堵喇叭口、堵集束器以及拥堵圈条系统密切相关,而精梳机的粘缠、拥堵会直接影响生产进度和纺部半成品纱疵的增加以及并条高架断头率的增加。为提升企业产品竞争力创造有利条件。
一、规范生产管理及运转操作
精梳机的粘、缠、堵、挂与规范生产管理及运转操作的诸多方面都有密切的关系。
1.1 精梳车间温湿度控制
车间温湿度过小,牵伸皮辊表面静电大、牵伸皮辊表面易产生积花,车间温湿度过大,牵伸罗拉、皮辊表面湿润,也会增加缠绕牵伸罗拉、牵伸皮辊的几率。严格控制好精梳车间的温湿度以及原料的回潮率,通常相对湿度在53-60%要好一些,一般不要超过65%。
1.2 清洁操作与单项操作
设备在运行过程中会产生许多飞花,而清洁工作是减少断头、预防纱疵、提高产品质量的重要环节,必须严格执行清洁标准,减少短绒和飞花附入棉条的现象,重点是加强运转管理,落实各项清整洁管理制度。同时要加强单项操作练兵,规范包接头操作等。
二、设备维护
2.1 减少堵塞喇叭口的措施
2.1.1 喂入棉网宽度的调整
正确调整喂入牵伸系统的棉网宽度,棉网开档过宽,开口宽度过大容易造成堵集束器。同理,若集束器未与牵伸区对正而向两端任何一方偏离,也会造成堵集束器。可通过旋转棉条导柱位置,使喂入宽度E的距离大约为140 mm。如图1所示

图1 牵伸系统棉网喂入宽度的调整
2.1.2 牵伸加压系统的检查
注意检查牵伸皮辊加压芯轴的位置,应对正牵伸皮辊套筒的正中,若牵伸加压气缸内的气膜损坏、漏气,会导致造成牵伸加压不良,甚至出现断网或因牵伸不开而堵喇叭口的现象。
2.1.3 清洁片的检查与调整
检查和更换破损的牵伸罗拉清洁片以及牵伸皮辊清洁器,避免与牵伸罗拉、牵伸皮辊表面接触不良而发生缠绕现象。实际上各个企业对减少缠绕牵伸胶辊、牵伸罗拉的办法很多,譬如:收集细纱机废旧的胶圈,利用鱼珠胶将其粘贴在钢制剥棉器上,从而替换原有的清洁胶套,实现胶圈与胶辊的面接触,减轻胶辊缠花问题,或者收集替换下来的清洁胶套,将其改套在第一罗拉剥棉棒结合件上,这样剥棉棒结合件上的清洁嵌条与罗拉之间也改为了面接触,罗拉缠花问题也可得到减轻。
2.1.4 精梳梳理器材的优选与维护
合理选择顶梳、锡林等梳理器材,尽量减少顶梳、锡林的嵌花现象,避免纤维以束状结构进入棉网中而堵塞喇叭口(办法很多,在此不做过多的累述)。
2.1.5 免处理胶辊的配置与维护
可采用免处理的具有适纺性强、吸放湿性能好、表面爽洁、抗缠绕效果佳、弹性恢复性好的进口胶辊(譬如瑞士贝克品牌),有利于对精梳棉须丛的有效控制及顺利牵伸。可以减少因“棉老鼠”堵集棉器和牵伸喇叭口的几率(在此不做过多的累述)。
三、圈条系统精梳条拥堵的调整措施
精梳拥堵圈条系统,有压辊上方拥条和压辊下方拥条两种情况。
3.1 上圈条压辊上方拥条的调整
3.1.1 张力调整
圈条压辊上方拥条,主要是上圈条压辊与输出辊之间的张力牵伸过小所致,早期的精梳机有三档张力牵伸可供调节,可选择较大的1.01倍的张力牵伸倍数,而新型现代精梳机直接采用较大的1.01倍的张力牵伸。
3.1.2 磨损的上圈条压辊及被动输出辊
在设备长期运行中,经常出现被动输出辊Φ98.5或者上圈条压辊Φ59.5磨损,其外径变小,也会使上圈条压辊与输出辊之间的张力牵伸变小,导致上圈条压辊上方拥条。
3.2 圈条器压辊下方拥条的调整
3.2.1 圈条传动系统的清洁
用温热湿布定期揩擦、清洁主传动输出压辊表面、圈条器曲线斜管内壁的棉蜡,降低棉条与管壁的摩擦阻力,确保精梳条在惯性力合力的方向运动,可使棉条顺势而下,降低其拥堵的几率。
3.2.2 主传动输出辊表面的清洁
棉条传送带主传动输出辊表面一旦缠花,使其主传动输出压辊表面直径变大,使圈条盘速度降低、输出压轮与圈条器的速比降低,使输出压轮至圈条器间的精梳条张力变小,从而导致棉条拥堵圈条器。因此,每次揩车特别要注意主传动输出辊表面的清洁。
3.3 圈条器传动系统的调整
3.3.1 圈条齿形带的检查
定期检查牵伸齿形带、圈条齿形带的张力状态和磨损情况,合理调节圈条张力,若下圈条齿形带未涨紧、丢转打滑等均会造成堵圈条盘入口弯管。
3.3.2 变化器的调整
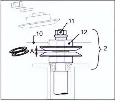
现代高速精梳机圈条器回转速度的调节是通过变化器(2)增减垫片A的厚度改变其皮带轮的直径(Φ112mm-Φ121.7mm)来实现的,如图2所示。

图2传动圈条器的变化器
提高圈条器的速度,增大了输出压轮至圈条器棉条的张力牵伸,可大大缓解圈条器拥堵的现象。通过变化器(2)来调节圈条器的速度。距离(A)可以通过垫片来调节。距离(A)越大,圈条器的速度就越低,其棉条张力越低,就越容易发生圈条器的堵塞现象,而距离(A)越小,圈条器速度就越高,棉条张力越大,也就越不容易发生棉条堵塞圈条器现象的发生。因此,为了减少棉条堵塞圈条器的几率,可将垫片A全部去掉。操作时可先拆卸板(10),螺母(11)和上垫圈(12)。直接插入或去除垫圈,在安装时按照相反的顺序进行即可。
3.3.3 变化器的改造
在长期使用的过程中,变化器的内壁会磨出深深的一道凹痕,会导致圈条器回转速度降低,必要时可将变速器上部车去1-1.5mm,以使圈条器的回转速度增加,避免圈条器拥堵现象的发生,大大提高精梳机的生产效率,降低挡车工的劳动强度。变速轮的上部加工后,一定要注意调整下底盘的偏心距,以确保桶内棉条的排列有序。
3.3.4 合理选择圈条喇叭口的口径
如图3所示,压辊(2)将棉条(4)拉过喇叭口(3)并进行压缩(选择较小的出条喇叭口直径),使其在后处理后,精梳条的纤维间的抱合力会更好,可有效减少并条高架断条。采用两种不同规格的圈条喇叭口的口径,纺出来的条子做条干不匀率试验,口径较大的纺出来的条子,其棉条紧密度小,精梳条的纤维间的抱合力低,试验结果表明:条干不匀率偏高,而口径较小的纺出来的条子,其棉条紧密度,精梳条的纤维间的抱合力高,条干不匀率亦较低。应根据棉条定量通过优选试验,选择合适的喇叭口(3) 。因此,选择较小的出条喇叭口直径可以改善棉条紧密度,减少棉条在并条机后喂入时可大大减少破条、断条的概率,从而改善条干和毛羽。改变喇叭口轮速度的同时改变棉条张力。而喇叭口过大使条子过于蓬松,也是造成堵圈条盘弯管的不容忽视的环节。

图3圈条喇叭口的口径的选择
四、结 语
并条高架断条与精梳机粘缠、拥堵现象密切相关,降低缠绕牵伸罗拉牵伸皮辊以及减少拥堵集棉器和圈条系统,可有效稳定成纱质量。为提升企业产品竞争力创造有利条件。降低缠绕和拥堵是加强运转管理与机台清整洁、熟悉精梳圈条传动系统工艺路线、优化设计调整精梳圈条张力牵伸工艺及相应的诸多技术改造的相关措施来实现的。
作者:刘允光 聊城允光精梳技术服务中心
编辑:中国纱线网新媒体团队
对于本期话题你有什么看法?欢迎转发、收藏、评论、点赞,走过路过不要忘了关注,不关注一个,不许走~
领取福利:
第一步、关注。
第二步、私信回复加群,邀请您加入500个纺织群,群内海量求购供应信息让您1分钟找到客户。
领取福利!500个纺织群等您加入,一分钟找到客户
如果你想看更多纺织资讯,最新行情,可以前去公众号「中国纱线网」
回复数字「2」,及时获取最新纺织行情