一、脚手架施工说明
1、 施工作业人员
1)脚手架施工人员须持有特殊工种操作证,方可上岗作业。
2)脚手架安全作业管理要求施工人员要正确使用个人劳动保护用品、正确使用防滑鞋、工具袋等。

安全带高挂低用
2、 脚手架安全专项施工方案
1)脚手架属于危险性较大的分部分项工程,必须编制安全专项施工方案。
2)对搭设高度50m及以上落地式钢管脚手架工程、提升高度150m及以上附着式整体和分片提升脚手架工程、架体高度20m及以上悬挑式脚手架工程等超过一定规模的危险性较大的分部分项工程,应当组织专家对方案进行论证。
二、脚手架准备工作
1、 脚手架材质要求
1、钢管采用φ48.3mm*3.6mm,每根最大质量不应大于25.8kg,使用前应刷涂防锈漆、警示色。

钢管涂刷警示漆
2、 常用扣件的形式有三种:
(1)供两根钢管连接的对接扣件。
(2)用于两根任意角度相交钢管连接的回转扣件;
(3)供两根垂直相交钢管连接的直角扣件;

扣件三种形式
3、底座选择
底座一般采用厚8mm、边长150~200mm的钢板作底板,上焊150mm高的钢管(或钢筋),底座有内插式和外套式。

底座形式
4、木脚手板采用4000×200×50mm杉木、红松木等一等材质,两端宜用镀锌铁丝箍绕两圈。

脚手板
5、安全网
密目网、水平安全网应符合相关标准且必须有认定合格证(阻燃)。
密目式安全网密度不低于2000目/100cm²

水平安全网

密目式安全网
三、落地式脚手架搭设要点

搭设示意图
1、木垫板基本要求:
垫板应准确地放在定位线上,采用长度不小于2跨、厚度不小于50mm、宽度不小于200mm的木垫板,底座放置在垫板上。


2、扫地杆搭设的基本要求:
脚手架必须设置纵横向扫地杆。纵向扫地杆(大横杆方向)应采用直角扣件固定在距钢管底端不大于200mm处的立杆上。横向扫地杆(小横杆方向)应采用直角扣件固定在紧靠纵向扫地杆下方的立杆上。

扫地杆搭设

扫地杆高度
3、抛撑及局部节点设置要求:
1)脚手架开始搭设立杆时,应每隔6跨设置一根抛撑,架高大于7m不便设抛撑时,则应设置连墙件使架子与建筑物牢固连接,直至连墙件安装稳定后,方可根据情况拆除。抛撑与地面夹角应在45°~60°之间,至主节点的距离不大于300mm。

抛撑扎设
2)立杆的接长除顶层顶步可采用搭接外,其余各部位接头必须采用对接扣件连接,立杆搭接长度不应小于1m,并应不少于2个旋转扣件固定。

3)脚手架立杆顶端宜高出女儿墙上端1m,宜高出檐口上端1.5m。

4、立杆搭设基本要求:
1)立杆上的对接扣件应交错布置,同步内隔一根立杆的两个相隔接头在高度方向错开的距离不宜小于500mm,各接头中心至主节点的距离不宜大于步距的1/3。

2)脚手架立杆基础不在同一高度时,必须将高处的纵向扫地杆向低处延长两跨与立杆固定,高低差不应大于1m。靠边坡上方的立杆轴线到边坡的距离不应小于500mm。

5、纵向水平杆搭设基本要求:
1)脚手架纵向水平杆应随立杆按步搭设,并应采用直角扣件与立杆固定。

2)纵向水平杆应设置在立杆内侧,单根立杆长度不小于3跨。

3)两根相邻纵向水平杆的接头不应设置在同步或同跨内;
4)不同步或不同跨两个相邻接头在水平方向错开的距离不应小于500mm;
5)各接头中心至最近主节点的距离不应大于纵距的1/3。

6、横向水平杆搭设基本要求:
1)脚手架主节点必须设置一根横向水平杆,用直角扣件扣接且严禁拆除。
2)当使用木脚手板、竹串片脚手板时,横向水平杆两端均应采用直角扣件固定在纵向水平杆上。

3)双排脚手架横向水平杆靠墙一端的外伸长度不应大于500mm,超过应增加一道内防护水平杆。

4)作业层上非主节点处的横向水平杆,宜根据支撑脚手板的需要等间距设置,最大间距不应大于纵距的1/2。

5)对接扣件开口处立杆应朝内,横杆应朝上;各杆件端部扣件盖板边缘至杆端(抗滑移)距离不小于100mm。


7、连墙件的设置要求:
1)连墙件应靠近主节点处设置,偏离主节点的距离不应大于300mm。
2)连墙件应从底层第一步水平杆处开始设置,当该处设置有困难时,应采用其他可靠措施固定。

3)开口型脚手架两端必须设置连墙件,连墙件的垂直间距不应大于建筑物的层高且不应大于4m。

4)连墙件中的连墙杆应呈水平设置,当不能水平设置时,应向脚手架一端下斜连接,禁止上斜连接。

8、剪刀撑设置基本要求:
1)高度在24m以下的落地脚手架,必须在外侧两端、转角及中间间隔不超过15m的立面上,各设置一道剪刀撑,并应由底至顶连续设置。

2)高度在24m及以上的双排落地脚手架应在外侧全立面连续设置剪刀撑。

3)每道剪刀撑宽度不应小于4跨,且不应小于6m,斜杆与地面的倾角应在45°~60°之间。

4)剪刀撑斜杆应用旋转扣件固定在与之相交的横向水平杆的伸出端或立杆上,旋转扣件中心线至主节点的距离不应大于150mm。

5)剪刀撑搭接长度不应小于1m,并应采用不少于三个旋转扣件固定。
9、横向斜撑(之子撑)设置基本要求:
1)高度在24m及以上的封闭型脚手架,除拐角应设置横向斜撑外,中间应每隔6跨距设置设置一道。
2)开口型双排脚手架的两端均必须设置横向斜撑。
3)横向斜撑应在同一节间,由底至顶呈之字形连续布置 。

10、脚手板铺设基本要求:
1)作业层脚手板应铺满、铺稳、铺实。
2)脚手板应设置在三根横向水平杆上。
3)当脚手板长度小于2m时,可采用两根横向水平杆支撑,但应将脚手板两端与横向水平杆可靠固定,严防倾翻。
4)脚手板的铺设应采用对接平铺或搭接铺设。
5)脚手板对接铺设时,接头处应设两根横向水平杆,脚手板外伸长度应为130~150mm,两块脚手板外伸长度之和不应大于300mm。
6)脚手板搭接铺设时,接头应支在横向水平杆上,搭接长度不应小于200mm,其伸出横向水平杆的长度不应小于100mm。
7)作业层端部脚手板探头长度应取150mm,其板的两端均应固定于支撑杆上。
(脚手板探头应用直径3.2mm的镀锌钢丝固定在支撑杆件上)

8)脚手板铺设需要注意区分问题:
当使用冲压钢脚手板、木脚手板、竹串片脚手板时,纵向水平杆应作为横向水平杆的支座即横向水平杆压在纵向水平杆上。

当使用竹笆脚手板时,纵向水平杆应采用直角扣件固定在横向水平杆上,并应等间距设置,间距不应大于400mm即纵向水平杆压在横向水平杆上。

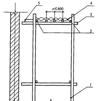
9)脚手板底部应用安全网双层兜底,距离墙面的距离不应大于150mm(现场考虑外墙施工一般留置300-400mm)。
11、脚手架防护基本要求:
1)脚手架外侧必须满挂密目式安全网,且用专用绳索牢固而严密的固定在纵向水平杆上。
2)作业层脚手板下每隔10m必须用水平安全网进行封闭。
3)以首层为基准,每间隔10m必须设置一道完整的安全平网。
4)临边防护高度不应小于1.2米,第一道水平杆距地面高度为60cm,下设18cm挡脚板。
12、斜道搭设的基本要求:
1)斜道应附着在外脚手架或建筑物设置。
2)高度不大于6m的脚手架,宜采用一字形斜道;
3)高度大于6m的脚手架,宜采用之字形斜道;
4)拐弯处应设置平台,其宽度不应小于斜道宽度;
5)斜道两侧及平台外围均应设置栏杆及挡脚板;栏杆高度应为1.2m,挡脚板高度不应小于180mm;
6)脚手板铺设时,应在横向水平杆下增设纵向支托杆,纵向支托杆间距不应大于500mm;
7)脚手板顺铺时,接头应采用搭接,下面的板头应压住上面的板头,板头的凸棱处应采用三角木填顺;
8)运料斜道宽度不应小于1.5m,坡度不应大于1:6;人行斜道宽度不应小于1m,坡度不应大于1:3;
9)人行斜道和运料的脚手板上应每隔250~300mm设置一根防滑木条,木条厚度应为20~30mm;

四、检查与验收:
1、脚手架及其地基基础应在下列阶段进行检查与验收:
(1)基础完工后与脚手架搭设前;
(2)作业层上施加荷载前;
(3)每搭设完6~8m高度后;
(4)达到设计高度后;
(5)遇有六级强风及以上风或大雨后,冻结地区解冻后;
(6)停用超过一个月。
2、脚手架拆除安全注意事项:
拆除前准备工作:
(1)拆除前安全技术交底;
(2)全面检查脚手架扣件连接、连墙件、支撑体系是否符合构造要求;
(3)清除脚手架上杂物及地面障碍物;
(4)设置警戒隔离区;
拆除顺序:
拆除应由上而下,逐层进行,即安全网→栏杆→脚手板→剪刀撑→小横杆→大横杆→立杆,做到一步一清。
拆除至下部最后一根立杆高度时,应先搭设临时抛撑加固后,再拆除连墙件。
拆除安全事项:
(1)连墙件必须随脚手架逐层拆除,严禁将连墙件整层或数层拆除后再拆脚手架;
(2)应由上而下逐层进行,严禁上下同时作业;
(3)分段拆除高差大于两步时。应增设连墙件;
(4)卸料时各构配件严禁抛掷至地面;
(5)拆除的构配件应用塔吊吊运或人工传递到地面,严禁从高处向下抛掷。