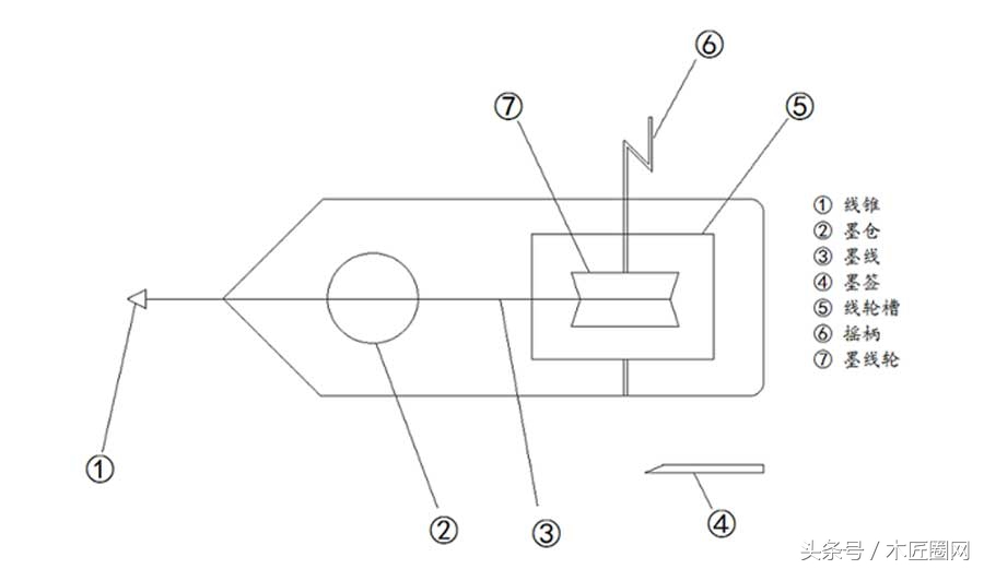
今天木匠圈(mujiangquan)分享的是墨斗的做法,墨斗是用硬质木料凿削而成,前半部分是斗槽,后半部分是线轮。丝棉浸满墨汁,装于斗槽内,线绳通过斗槽,一端绕在线轮上,另一端与定针相连。制作的时候先下好料,掏好造型,安好线圈,再导入墨汁。

步骤1:做墨仓
用手锯切割好四方的槐木木块,固定在木工工作台上。再用手钻分别钻好墨仓和线槽,并用木工凿清除多余木屑,形成一个正方形墨仓和圆形的线槽。




内仓制作好后,再把墨斗初呸固定在工作台上。用手锯切除外形,使形状成圆形,再用木锉初步打磨即可。






步骤2:制线轮
制作一个手摇转动的轮,线轮这里采用杨木,按墨仓尺寸制作一个圆柱形的线轮,中间做进5mm左右用来缠墨线。墨线由木轮经墨仓细孔牵出,固定于一端,像弹琴弦一样将木线提起弹在要划线的地方,用后转动线轮将墨线缠回。





步骤3:牵墨线
一般用蚕丝做成的细线,也可以用棉线,前后用手钻钻一小孔,墨线从中穿过,它经过墨仓时可以保留一定数量的墨汁。墨线的末端有一个线锤,由于材料所限没有制作漂亮的线锤,暂时用铁钉代替了下。我看过古工匠一般是用铁或铜制作的有尖锥,也有用山羊角制作,待后续找到合适的材料再制作吧。






步骤4:削墨签
用竹片做成的画笔,下刀的时候以一定角度果断切下竹片,使其下端做成扫帚状。再把下端切开就可以。弹直线时用它压线,画短直线或记号时当笔使用。



步骤5:完工!
墨斗的使用:定针扎在木料的前端,将线绳拖到木料后端,用左手拉紧压住,右手把线绳提起,放手回弹,即可绷出墨线来。【运营:981170000】






