人们都说“开宝马坐奔驰”,一提到宝马都不由自主的和“操控”挂钩。不过如今宝马有“M系”,奔驰有“AMG”,奥迪有“RS”,宝马在操控这件事上真的还有优势吗?国产后的华晨宝马在操控上和进口宝马到底差多少?
今天我们就从“底盘”、“动力系统”、“转向及电子系统”几方面聊聊“宝马”与“操控”的关系。
宝马的底盘到底怎么样
底盘对一辆车的操控性至关重要,如果底盘不好,即使动力再强车子也不好开。就比如你的身体素质和博尔特一样好,但你不穿跑鞋也跑不赢他。

悬架方面宝马的坚持
汽车悬架大家可以理解为是车轮和车身的连接部分,车子开得舒不舒服,过弯极限高不高,都与悬架有关。

从上个世纪90年*开代**始宝马三系E36就开始采用多连杆后悬架了,多连杆后悬架即使放在现在也是一种高性能高价格的悬架形式。

多连杆悬架虽然可以提供很好的操控性,但同时这种悬架结构复杂需要占用很大的车内空间。要知道当时的宝马3系长度才4米5,要装下多连杆悬架是一种取舍与挑战,就好家里客厅虽然很小,但也要精心布置放一个大沙发进去,这样费的成本和精力是很大的。

同时,宝马的悬架和同级车型相比大多更短更硬,这就需要把车身高度降低的同时提升弹簧的强度,这样一来就就能让车子的操控性更好,不过同时也损失了一部分舒适性和通过性。
降低簧下质量
所谓簧下质量就是车辆悬架及其以下的质量,就好比你打篮球的时候穿了双很重的鞋,那么你跑跳起来就肯定不灵活了,车子也一样,如果悬架和轮毂轮胎太重的话操控性肯定就受影响。

宝马从E46这一代的底盘就开始用铝合金悬架来大幅降低簧下质量了。这么做成本肯定会提升,也是一种向操控的妥协。

值得注意的是,大部分宝马的制动卡钳位置都很独特:前卡钳在后,后卡钳在前。这样是为了让更多重量集中在前后轴之间,进一步提升操控性。
宝马的动力系统怎么样
操控除了和底盘有关之外和动力系统也有很大关系。大家常说“马力即正义”,车子在底盘部不变的情况下肯定是动力越强操控越好,这也是为什么那么多人车子买回来先刷个一阶改改动力。

宝马的直列6缸发动机
宝马最经典的发动机就是直列6缸,从以前的3系上搭载的2.5L自然吸气的直6到现在的M3上的3.0T涡轮增压直6,都是神机般的存在。

直列六缸的布局和V6相比更为平顺,因为它解决了一阶振动和二阶振动的问题,质感比同排量的V6会强上不少。不过直列6缸的缺点也很明显,就是体积太大,整个发动机太长了,会让发动机舱变得很长,而且会占用一部分车内空间。

所以坚持使用直6也是一种不妥协的表现。不过现在的大部分宝马车系都是用横置4缸的布局,直6发动机也只能作为一个图腾搭载在一些主打高端和性能的车型上了。

变速箱匹配好
大家翻宝马车的动力参数的时候就会发现车子的马力不是很大但加速却很快,就比如F30这一带的宝马328i,2.0T的发动机245匹马力,却能做出百公里加速5.9s的成绩,有很多国产车的2.0T标称的马力都比这个大,但加速却是10s左右的水平,这是为什么呢?

这个问题的答案就是变速箱,首先宝马搭载的变速箱就很好,3系搭载的都是ZF的8速变速箱。其次宝马在发动机和变速箱的匹配与调教上下了很大的功夫,使得发动机的动力可以更加高效的传到车轮上,车子动力也就更好了。

宝马的转向和动力系统怎么样
驾驶者要用双手控制车辆就要通过车子的转向系统,所以说转向系统的好坏直接影响我们的操控手感。好的转向系统能达到所谓“人车合一,指哪打哪”的感觉。

转向和ZF合作
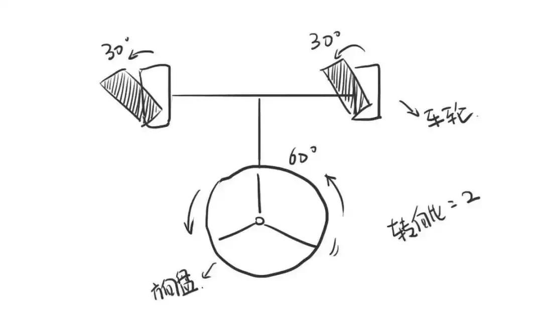
宝马的转向很早就和ZF合作开发了,传统的转向系统只能用18:1的固定传动比,也就是车轮转1度方向盘要打18度,而宝马这套系统可以在10:1和20:1之间变化。

方向沉,还原真实是路感
在E90这一代宝马3系的时代,宝马的方向盘打起来是著名的沉,这让很多女性用户望而却步,不过宝马始终总认为这样可以让车主感受到更强的路感,让车主找到人车合一的感觉。

不过现在F30的宝马3系以及新5系上的方向盘以及慢慢变轻市场妥协了,但还是比奥迪和奔驰的重。

电子系统调校向操控妥协
宝马的DSC电子稳定系统也是朝操控的方向来调的。有很人说开宝马容易甩尾,其实是因为即使电子稳定系统打开之后系统仍允许后轮的转速比前轮高10%。

这种调校就是在保证安全的情况下尽可能的保留车子的操控性能和驾驶乐趣。

华晨宝马和进口宝马操控差多少
现在我们买到的宝马3系和5系基本是国产的华晨宝马,同样是3系,国产的和进口的价格就要差三分之一,那么华晨宝马的操控性和进口的差多少呢?

发动机动力系统国内外一致
华晨宝马的发动机和海外是相同的,比如国内三系上搭载的B48发动机和海外的B48发动机是一样的。所以在动力表现上国内版和进口版同一个款型的是一样的。

而且沈阳的华晨宝马发动机工厂是宝马全球首家全工艺发动机工厂,属于世界领先地位,海外版的宝马车上搭载的发动机很多都是从这里出产的。

生产装配标准国内外一致
华晨宝马的装配虽然在国内,但它的装配工艺和标准是和国外统一的,在这一点上国内国外宝马都一样。

底盘部分零部件存在差别
虽说各种核心部件国内和海外版没什么区别,不过在底盘一些具体零部件上就会存在差别,海外版的零购件来自德国、日本、捷克、波兰等地,而国产版本则多采用本地供应商的配件。所以国内版的宝马和海外版在底盘质感上还是有区别的。

现如今的宝马车型虽然越来越向市场妥协,把发动机小排量化,方向盘变轻,但依旧没有丢掉它注重操控的属性。因为在“AMG”和“RS”马力越做越大的今天,宝马必须坚持把“操控”作为它的核心竞争力,这样才能在市场里长久的站稳脚跟。

来源:汽车之家