
腕表的精准度受很多因素影响,日差超过10秒,日积月累下来,佩戴者就会明显感觉出时间不准,这时候就需要对腕表进行微调。所以手表上调整走时的微调,是判断手表品质的关键部件。
同一款机芯,使用不同的微调,会分出级别。比如应用广泛的ETA机芯就会根据使用的游丝、摆轮、避震、微调,分出标准版、增强版、顶级版、天文台版的不同级别。那么机芯的微调装置具体有哪些呢?今天老魏就来给你们科普科普。

摆轮游丝
现代我们所使用的机械手表,几乎全是利用‘游丝摆轮’的特性来设计生产。游丝摆轮的状态直接决定手表走时的精度、稳定性,可以说是一块手表中最为精密的地方。而决定“游丝摆轮”周期性的要素有两个,一个是“游丝”,另一个就是“摆轮”。 手表的微调装置就是通过控制这两个要素来实现调节。
通过控制游丝长度
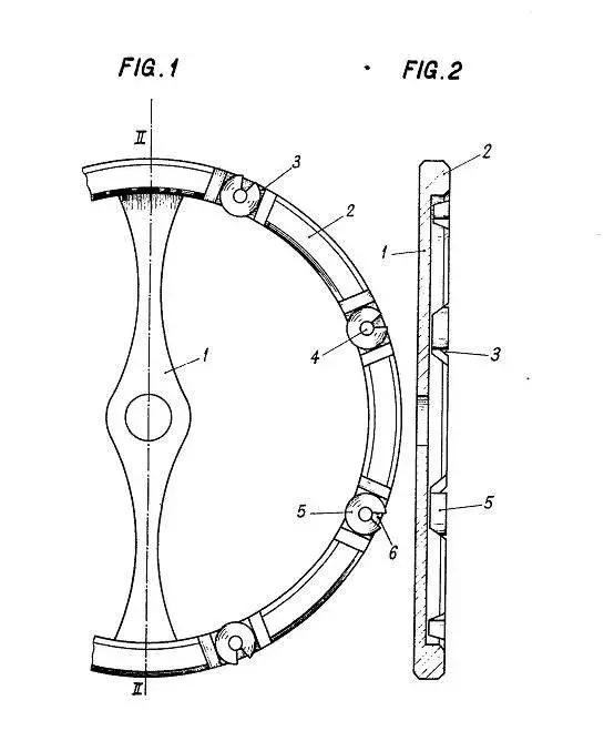
快慢针微调
快慢针是采用的最多的手表精度调整方式,通过控制游丝工作长度来调节手表走时的快慢,使用时,向左或向右偏移即可。最典型的快慢针由四部分组成:1、做微小调整的偏心螺丝 2、微调夹头部的V形部分 3、活动外桩 4、游丝快慢夹。游丝工作长度又是如何影响手表走时快慢?

我们知道游丝摆轮的状态直接决定手表走时的精度、稳定性,是一块手表中最为精密的地方。而决定“游丝摆轮”周期性的要素有两个,一个是“游丝”,另一个就是“摆轮”。当摆轮不变的情况下,游丝的工作长度越长,摆轮来回转动所需要的时间就越长,同事钟表里面的齿轮不变,手表就走得越慢;反之亦然。

例如,有时候我们的手表会受磁,游丝受磁以后会发生粘连,这样游丝的工作长度就变短了,手表自然会走快。于是钟表师们就利用改变游丝工作长度来改变手表走时的快慢。当手表走慢了,就缩短游丝的工作长度。
采用快慢针理论上并不是个最好的办法,它是有先天不足的,主要体现在受到震动时游丝伸展和收缩时变形加剧,容易发生偏移,进而导致手表走时意外变快变慢。同时,钟表维修师傅在调节时也不容易把握需要偏移的具体角度。采用偏心螺丝快慢针结构的表,都不会很贵。顶级表里面大概只有雅典,改自ETA的机芯会保留这样的机构。
快慢针的高端——鹅颈微调
快慢针里面的也有高端的,就是大名鼎鼎的鹅颈微调,鹅颈微调在游丝的夹头上面进行固定,使用整块钢板切割成弯曲形状,十分像鹅弯曲的脖子,因此被称为鹅颈微调。除了鹅脖子形状,类似设计还有怀表上用的蜗牛微调,作用大同小异。

鹅颈有三大作用,它能紧紧卡住快慢夹。带双鹅颈的,还能卡住外桩,这个会保证在震动情况下避免产生位移,第二,它能做出精细的精度调整,保证精度能被准确的调校到一个满意和准确范围内,第三,现在更多的它是一种装饰和制表文化的传承,也是艺术和手表档次的表现。

双鹅颈
如今鹅颈微调已经成为了德国表的象征,朗格品牌就将鹅颈微调作为标志性元素之一。在鹅颈微调上下了大功夫的还有格拉苏蒂原创,其甚至申请了一系列专利,应对快慢针导致游丝容易变形的问题。不仅如此,格拉苏蒂原创还推出了双鹅颈微调系统,创新性地将双鹅颈微调系统翻到腕表盘面上,为佩戴者展示纯粹的机芯美学。
通过控制摆轮配重
无卡度微调
对于要素摆轮来讲,通过调节摆轮的配重可以实现微调。
这一概念很容易理解,在游丝不变的情况下,摆轮越重,摆轮来回摆动所需要的时间就越长,钟表里面的齿轮不变,手表就走得越慢;摆轮越轻,摆轮来回摆动所需要的时间就越短,钟表里面的齿轮不变,钟表就都得越快。

不过要注意,通过摆轮要素去调节钟表走时快慢不是真的去增加或减少摆轮本身的重量。因为摆轮太过于精细,是难以在后期增加、减少重量的。于是钟表师们研究出调节摆轮上面的配重的方法。

而所谓“无卡度”,其实就是指没有快慢针,精度是用摆轮上面的配重来调整的,这些配重有许多样式,作用基本类似砝码,这些砝码都是双数和对应的,调整会使摆轮质量的重心向中心或边缘移动,达到震荡周期改变的目的,无卡度是一种先入为主的叫法,其实叫“砝码摆”会更贴切。
实现方式就是在摆轮内侧装上螺钉,将螺丝拧进、拧出即可,螺丝和摆轮的重量并没有改变,但螺丝的距离摆轮中间的距离发生了改变,所以摆轮的配重就相应变化。

相比快慢针,无卡度结构游丝的长度是固定不变的, 稳定和等时性要好很多。如果硬挑无卡度的缺点,就是无卡度一般都配合同心性更好的宝玑式游丝,摆轮整体高度上会高出1毫米。
无卡度的结构上,有两大体系,一个是劳力士的Microstella,一个是百达翡丽的Gyromax。
劳力士1938年开创的Microstella无卡度结构

劳力士沿用76年的Microstella无卡度美国专利
劳力士的设计是在摆轮边缘上设置一个螺杆,上面螺丝旋转上一个金质的螺母。如同百达翡丽的设计,劳力士的最早期也是费力的在边缘上开出槽,并且砝码位于摆轮外边缘。

Microstella 如今的设计无卡度砝码在摆轮内
如今的新款Microstella微调都是位于摆轮内缘了。这样加工和实现的难度就大大降低,一样实现的调校和减少风阻的效果。1938年7月29日,劳力士就申请了这项技术的专利CHX2239668,专利的有效期是20年,过期后,谁都可以无偿使用,沛纳海、欧米茄的无卡度设计都是沿用劳力士的套路。
百达翡丽1948年开创的Gyromax无卡度
现在提起无卡度第一个想起来的很可能就是百达翡丽标志性的马蹄形金质砝码Gyromax微调,Gyromax微调是非常了不起的,使用已经60多年,一直沿用到如今的硅质擒纵上。把缺口朝摆轮中心轴方向旋转,可以让表走慢。

百达翡丽瑞士专利CH280067A中Gyromax微调砝码安装在摆轮上
百达翡丽摆轮上的砝码(masselotte)数,最常见的是8个,也有4个和6个的。PP的324自动机芯自厂计时28-520机芯硅摆轮上就是4个金质微调砝码。不要小看这几个砝码,调节的范围可以影响摆幅达到180度,正常的摆幅也就是270度,??调校范围是非常大的。实用、可靠、美观,所以沿用至今。

好啦,看完是不是对微调有了比较清晰的认知呢?另外提醒各位通过鉴别和分辨是不是“砝码摆轮”,也算是分辨真假表最简单粗暴的方式哦!