易宝支付频被投诉,而其支付牌照即将到期,受此影响或难续展
《中国科技投资》刘逸伦
近期,易宝支付有限公司(以下简称“易宝支付”)投诉量激增,尤其因盗刷问题屡被用户投诉;另一方面,除了对不明商户提供支付服务外,易宝支付还被常常被诉为无资质现金贷提供支付通道及代扣服务。频繁被诉致使公司的风控水平被外界质疑,此前,易宝支付因“违反相关清算管理规定”被罚5296万元,这一罚单也成为当时行业之最。
实际上,易宝支付并不仅仅为网贷平台提供支付服务,其金融布局涵盖P2P、*款贷**超市、大数据征信、智能营销、金融科技输出、供应链金融等全互联网金融产业链。以支付为入口,易宝支付的互金盈利模式正在打通,但如何解决密集的投诉问题成为易宝支付能走多远的关键,同时也决定着易宝支付的支付牌照能否在明年成功续展。《中国科技投资》记者就相关问题致函易宝支付相关负责人,截至发稿,未获回应。
盗刷投诉
在公益平台21CN聚投诉上,易宝支付常常成为第三方支付行业用户投诉的对象。目前,据聚投诉公布的数据,易宝支付总投诉量已达7286件,已解决6022件,解决率为82.65%,无效投诉为1958件。易宝支付大量投诉的原因之一是公司在用户不知情的情况下从其卡中无故划扣资金。
在“已解决”和“无效投诉”中,记者联系到了两位投诉者。来自辽宁的吴先生告诉记者,2020年4月18日,他的建设银行信用卡被分7笔划走了近5000元钱,转入商户为“(特约)易宝支付”,交易详情为“春秋航空扫码支付”,但吴先生近期从未有过乘机行为。易宝支付回应吴先生称,易宝支付查看到了盗刷现象,可追回已拦截其中三笔共2300元资金,但剩余四笔交易需与发卡行建设银行联系。而建设银行回复吴先生称,先填写资料,但仍需与易宝支付沟通。
目前,建行尚未将相关资料发松给吴先生,而吴先生告诉记者,该信用卡为7年前办理的,目前处于闲置状态。最近一次交易是在去年12月份,此卡并不常用,且账号密码仅为自己知晓。
同样遭遇盗刷的还有深圳的刘先生。今年4月11日,易宝支付从刘先生的长城借记卡中分5笔划扣了570元,交易方同样为“(特约)易宝支付”,交易详情为“POS消费”。通过易宝支付客服查询,此5笔交易发起方为乐信(LX.US)旗下分期消费金融平台“分期乐”,易宝支付让刘先生与商户沟通。
但蹊跷的是,据分期乐官方回应,刘先生所提供的手机及邮箱信息并未在分期乐平台注册过,因此分期乐认为刘先生还应与易宝支付进一步沟通。刘先生称,这张借记卡是提取公积金支付房租用卡,并不是常用卡,被盗刷前卡内余额不足600元,这些通过易宝支付的盗刷几乎是将卡内余额划尽。
据记者了解,不少用户被划扣的支付场景并非真实的交易场景。部分用户划扣资金的交易详情说明为“行车交通-机票”、“网上快捷支付”、“POS消费”、“休闲娱乐-旅游度假”、“异地跨行消费”等,但用户对于这些交易场景均予以否认。




用户划扣交易记录
风控漏洞
业内人士称,频繁发生盗刷事件显示了第三方支付公司的风控漏洞,在身份识别上应当加强源头管理,对可疑交易应当设立预警机制。
对此,北京德和衡(上海)律师事务所黄梦奇律师称,第三方支付公司未按照规定履行客户身份识别义务,与身份不明客户进行交易、未按规定报送可疑交易报告。上述案例中行为,明显属于《反洗钱法》第三十二条所规定的违法行为。
值得注意的是,易宝支付频繁遭受投诉或会影响明年牌照续展。2021年5月易宝支付牌照到期,黄梦奇律师称,根据支付相关规定,监管层对频遭投诉,造成恶劣影响的支付机构,完全有权不予续展。
此前,易宝支付还因为714高炮平台提供代扣服务而广受投诉。有用户称,易宝支付为甜兔、南京靓机口袋网络科技有限公司、爱米卡、浙江铂裕科技有限公司等17家714网贷平台提供支付服务。对此,易宝支付曾回复该用户,商家无法联系。
近年来,易宝支付为无资质网贷提供支付服务,遭大量投诉同时被多家媒体先后报道。但相关代扣乱象仍屡禁不止,有支付从业者称,背后或因利润空间大所致。代扣等支付业务的抽佣费率较高达千分之三至六,而普通商户服务收单收益在“96费改”后,刷卡费率降至0.6%,万元消费第三方支付机构最多仅获6元服务费。
分析人士称,在断直连政策和移动支付两巨头支付宝、微信支付市场挤压下,中小型支付机构获利空间大幅降低,竞争加剧使得其纷纷另谋生路。
显然,易宝支付在追求利润的道路上走得太远,风控漏洞出现频遭用户投诉。另一方面,易宝支付开始资本运作,2018年,彭博社曾报道易宝支付计划赴港上市,募资约2亿美元。2019年1月,彭博社再次报道易宝支付放弃在港上市计划,转向赴美IPO。但上述消息均被易宝支付相关人士否认。
互金折戟
早在2013年,易宝支付就开始谋求转型,提出“支付+金融+营销”升级战略。易宝支付CEO唐彬在2017年接受媒体采访时多次表示,易宝支付不仅是一家第三方支付公司,更是一家交易服务平台。
彼时,唐彬称,易宝支付在金融业务主要有两大类,一是主要基于易宝支付商户的B端理财服务,二是面向垂直行业的供应链融资,在深耕的航空、保险、旅游、游戏等行业,联合银行为代理商提供授信服务。
根据公开资料,唐彬通过北京富汇易达科技有限公司(以下简称“富汇易达”)构建了易宝支付的金融版图。富汇易达控股了包括商业保理、大数据征信、P2P互联网金融、智能营销、金融科技、私募投资等39家金融相关公司,涉及网贷产业链上下游,涵盖借贷、助贷、营销、征信、融资等金融增值业务。
其中,富汇易达控股的P2P互联网金融平台有北京易宝金融信息服务有限公司(以下简称“易宝金融”)、 北京财多多投资管理有限公司(简称“财多多”)。
据企查查显示,北京易宝金融信息服务有限公司(以下简称“易宝金融”)成立于2013年,实缴注册资本为1547万元,法人代表*石乔**。
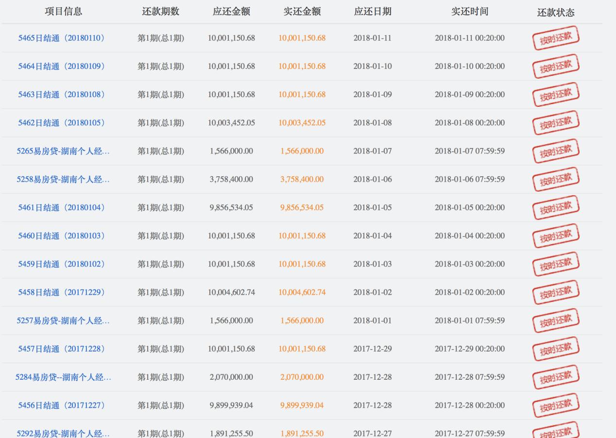
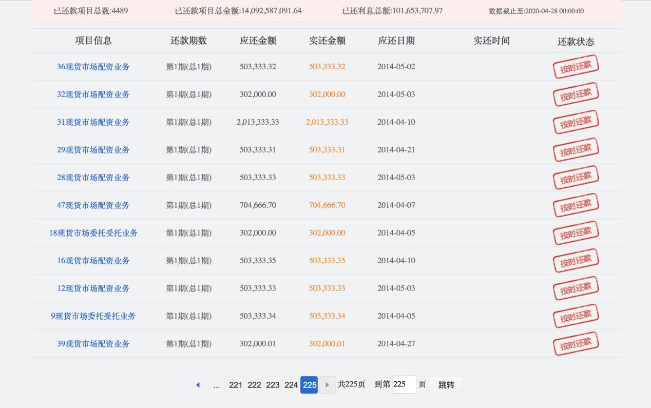
易宝金融官网所示,截至2020年3月31日数据,其累计借款额140亿元,累计借贷笔数5078笔,累计出借人数仅为13081人,累计借款人数973人,人均累计借款金额超千万,为1445.33万元,人均累计出借金额107.51万元,累计代偿金额1.7亿元,代偿笔数728笔。
目前,据易宝金融工作人员称,“根据监管要求,公司于2019年12月起良性退出,扫尾工作做完公司即将关闭。”但公司官网并未有平台相关良性退出公告,且投资者将如何退出,公司并未公开通知。
易宝金融的实缴注册资本为1547万却撬动了140亿的借贷生意。查看易宝金融过往的融资项目信息,标的多为“房贷”、“经营贷”等大额借款标的,2014年平台还涉足现货市场配资业务,借款额多为百万至千万元,多数大额标的均为1期。由于平台处于良性退出时期,标的具体信息不可知;另一方面,2016年8月,多部门发布的《网络借贷信息中介机构业务活动管理暂行办法》中明确规定:个人和企业在统一平台上借款上限分别是20万和100万元,而在不同平台借款上限分别不超过100万元和500万元。易宝金融大额标的已触及监管红线。


易宝金融标的详情
此外,汇富易达旗下另一家P2P公司财多多官网已变为游戏平台,APP也不存在。
值得注意的是,易宝集团内部孵化的大数据征信机构天创信用服务有限公司(简称“天创信用”)是一家利用大数据技术进行企业/个人互联网信息采集,并利用易宝十余年交易客户积累的海量数据及第三方企业合作数据,对外提供个人征信、企业征信、企业/个人评分、精准营销与风险防控等方面的征信服务。
但国内目前仅百行征信获得个人征信业务开展资质,由于国家对个人隐私安全的重视,其参股的8家征信公司在个人征信业务方面也审慎开展。但易宝支付旗下的天创信用,在开展个人征信业务的同时还成立*款贷**超市平台直接参与放贷业务,随之而来的是,天创信用旗下的*款贷**超市平台优智借也屡遭*力暴**催收、套路贷的投诉。去年9月,监管对业内数据公司重拳整治,彼时同盾科技、51信用卡均因涉套路贷数据问题被调查。

另外,富汇易达旗下私募投资公司创悟邦(上海)投资管理有限公司(下称“创悟邦”)还对其控股的天创信用进行交叉投资,2019年10月11日,天创信用进行第二次股权融资,投资方为创悟邦。
相较于支付行业,互联网金融业务的开展显然更具盈利能力,但不论是互联网金融还是大数据征信,易宝支付均未取得相关营业许可,展业存在风险。