
屋面找平层施工
一、排气道的要求和做法
1.示意图和现场照片
排气道做法示意图和排气道施工现场照片分别见图6-1和图6-2。

图6-1 排气道做法示意图

图6-2 排气道施工现场照片
2.注意事项
①排气道应留设在预制板支撑边的拼缝处,其纵横向的最大间距为6m,宽度不宜大于80mm。
②屋面每36m2宜设置一个排气孔,排气道应与排气孔相互沟通,并与大气相通,不得堵塞,排气孔应做防腐处理。
③找平层分隔缝的位置应与保温层及排气道位置一致,以便兼作排气道。
3.施工做法详解
施工工艺流程:基层处理→定位弹线→扫气道施工→排气孔施工→面层施工。
(1)基层处理
屋面结构找平层表面的杂物、垃圾应清理干净。
(2)定位弹线
按设计要求及排气道、排气孔设置数量,弹线分格定位。
(3)扫气道施工
当采用水泥膨胀蛭石及水泥膨胀珍珠岩作屋面保温层时或当屋面保温层和找平层干燥有困难时,应做排气屋面。
排气屋面可通过在保温层中设置排气通道实现,其施工要点如下。
①排气道应纵横设置,排气道间距应按设计要求和按面层材料种类的实际情况而定。同时必须考虑排气道整齐美观要求。
②排气道应纵横贯通,不得堵塞,并同大气连通的排气孔相通。
③找平层设置的分隔缝可兼作排气道,铺粘卷材时宜采用条粘法或点粘法。
④在保温层中预留槽做排气道时,其宽度一般在30~40mm;在保温层中埋设打孔细管(塑料管或镀锌钢管)作排气道时,管径宜为ф25,管子四周间距30mm打上小孔,排气道应与找平层分隔缝相重合。
(4)排气孔施工
①排气出口应埋设排气管,排气管应设置在结构层上,穿过保温层的管壁应设排气孔,作为通气沟的管端头应插入排气管底部与其相连,下端应与屋面结构紧密焊接或连接,上端高出屋面面层≥250mm,排气孔高度与排气帽方向应保持整齐一致。
②为避免排气孔与在基层接触发生渗漏,其伸出屋面管子四周的找平层应做成圆锥台,管子与找平层之间应留凹槽,并填嵌密实材料,防水层收头处应用金属箍箍紧,并用密封材料封严。
(5)面层施工
①排气屋面防水层施工前,应检查排气道是否被堵塞,并加以清扫,然后宜在排气道上粘贴一层隔离纸或塑料薄膜,宽约200mm,对中排气道贴好,完成后才可铺贴防水卷材(或刷防水涂料)。防水层施工时不得刺破隔离纸,以免胶黏剂(或涂料)流入排气道,造成堵塞排气不畅。
②当进行下道工序或相邻施工时,应对排气屋面工程已完成部分采取保护措施,防止损坏。
4.施工总结
①有保温层的做法:先确定排气道的位置、走向及出气孔的位置。在板状隔热保温层施工时,当粘铺板块时,应在已确定的排气道位置处拉开80~140mm的通缝,缝内用大粒径、大孔洞炉渣填平,中间留设12~15mm的通风口,再抹找平层。铺设防水层前,在排气槽位置处、找平层上部附加宽度为300mm的单边点粘的卷材覆盖层。
②有找平层、无保温层屋面的做法:先确定排气道的位置、走向及出气孔的位置。分隔缝做排气道的间距以4~5m为宜,不宜大于6m,缝宽度12~15mm,铺设防水层前缝上部附加宽度为250mm的单边点粘的卷材覆盖层。
二、屋面找平层分隔缝留置
1.示意图和现场照片
找平层分隔缝示意图和现场照片分别见图6-3和图6-4。

图6-3 找平层分隔缝示意图

图6-4 找平层分隔缝现场照片
2.注意事项
屋面找平层宜留置分隔缝,对于大面积的找平层、装配式钢筋混凝土板和加气混凝土板材轻型屋面的找平层宜留置分隔缝,缝宽宜为20mm,待基层充分干燥后,缝槽内嵌填密封材料。
3.施工做法详解
施工工艺流程:参数的确定→分隔缝施工。
分隔缝的宽度一般为20mm;水泥砂浆或稀释混凝土找平层纵横分隔缝的最大间距不超过6m,分隔缝内应填嵌沥青砂等弹性密封材料;基层应坡度正确、平整光洁,平整度偏差不大于5mm,无空鼓裂缝;防水找平层、防水保护层、面层的分隔缝位置上下相对应,面层分隔缝预留位置应满足验收规范要求。
4.施工总结
①找平层设置分隔缝的方法:在铺抹找平层时,格局确定的分格距离、分格的部位、分隔缝的宽度、分隔缝的深度,采用大小合适的木条按规定置于屋面板各部位后,再铺抹砂浆,待找平层已充分养护好能上人时,起掉木方,打通各路分隔缝通道即可。
②对于有保温层的屋面,保温层和找平层干燥有困难时,宜采用排气屋面。找平层设置分隔缝兼作排气道,缝宽可调宽至40mm,以利于排出潮气。保温层通过排气道上的设置孔与大气连通,排气道之间要纵横贯通,不得堵塞,间距宜为6m,排气孔以不大于36m2设置一个为宜,待基层充分干燥(将1m2大小的卷材平铺于找平层上,静置3~4h后掀起观察,在找平层的覆盖部位及卷材底面未见水纹或水珠)后,缝槽内嵌填密封材料。
三、水泥砂浆找平层施工
1.施工照片
水泥砂浆找平层施工照片分别见图6-5。

图6-5 水泥砂浆找平层施工照片
2.注意事项
①基层表面应洁净湿润,但有保温层时不洒水。
②分隔缝应与板缝对齐,缝高同找平层高度,缝宽20mm左右,用小木条或金属条嵌缝。
3.施工做法详解
施工工艺流程:基层处理→找标高、弹线→洒水湿润→抹灰饼和标筋→刷水泥浆结合层→铺设找平层→抹光。
(1)基层处理
①在铺设找平层前,应将基层表面处理干净,当找平层下有松散填充层时,应铺平振实。
②用水泥砂浆铺设找平层,其下一层为水泥混凝土垫层时,应予湿润;当表面光滑时,尚应划毛或凿毛。
(2)找标高、弹线
根据墙上的+50cm水平线,往下量测出面层标高,并弹在墙上。
(3)洒水湿润
用喷壶等工具将地面基层均匀洒水一遍。
(4)抹灰饼和标筋
测量放线,定出变形缝、分格线和标高控制点并做出灰饼。
(5)刷水泥浆结合层
铺设时先刷一道水泥浆,其水灰比宜为0.4~0.5,并应随刷随铺。
(6)铺设找平层
涂刷水泥浆之后跟着铺水泥砂浆,在灰饼之间将砂浆铺均匀,然后用木刮杠按灰饼高度刮平。铺砂浆时如果灰饼已硬化,木刮杠刮平后,同时将利用过的灰饼敲掉,并用砂浆填平。
(7)抹光
当设计要求需要压光时,采用铁抹子压光。
①铁抹子压第一遍:木抹子抹平后,立即用铁抹子压第一遍,直到出浆为止,把脚印压平。如果砂浆过稀表面有泌水现象时,可均匀撒一遍水泥和砂(1:1)的拌合料(砂子要过3mm筛),再用木抹子用力抹压,使干拌料与砂紧密结合一体,吸水后用铁抹子压平。
②第二遍抹压:当面层开始凝结,地面面层上有脚印但不下陷时,用铁抹子进行第二遍抹压,注意不得漏压,并将面层的凹坑、砂眼和脚印压平。
③第三遍抹压:当面层上人稍有脚印,而抹压无抹子纹时,用铁抹子进行第三遍抹压,第三遍抹压要用力稍大,将抹子纹抹平压光,压光的时间应控制在初凝前完成。
4.施工总结
①砂浆铺缝应按由远到近、由高到低的程序进行,最好在分格缝内一次连续铺成,严格掌握坡度。
②待砂浆稍收水后,用抹子压实抹平;终凝前,轻轻取出嵌缝条。
③一般在气温0℃以下时或终凝前要下雨时,不宜施工。否则应有一定的技术措施作为保证。
四、沥青砂浆找平层施工
1.示意图和现场照片
沥青砂浆找平层施工示意图和现场照片分别见图6-7和图6-8。

图6-7 沥青砂浆找平层施工示意图

图6-8 沥青砂浆找平层施工现场照片
2.注意事项
①倒泛水:保温层施工时须保证找坡泛水,抹找平层应检查保温层坡度泛水是否符合要求,铺抹找平层应掌握坡向及厚度。
②抹好的找平层上,推小车运输时,应先铺脚手板车道,以防止破坏找平层表面。
③找平层施工完毕,未达到一定强度时不得上人踩踏。
④雨水口、内排雨口施工过程中,应采取临时措施封口,防止杂物进入造成堵塞。
3.施工做法详解
施工工艺流程:基层处理→根管封堵→抹水泥砂浆找平层→沥青砂浆找平层。
(1)基层处理
将结构层、保温层上表面的松散杂物清扫干净,凸出基层表面的灰渣等黏结杂物要铲平,不得影响找平层的有效厚度。
(2)根管封堵
大面积做找平层前,应先将出屋面的根管、变形缝、屋面暖沟墙根部处理好。
(3)抹水泥砂浆找平层
①洒水湿润:抹找平层水泥砂浆前,应适当洒水湿润基层表面,主要是利于基层与找平层的结合,但不可洒水过量,以免影响找平层表面的干燥,防水层施工后窝住水气,使防水层产生空鼓,所以洒水达到基层和找平层能牢固结合为宜。
②贴点标高、冲筋。根据坡度要求,拉线找坡,一般按1~2m贴点标高(贴灰饼),铺抹找平砂浆时,先按流水方向以间距1~2m冲筋,并设置找平层分隔缝,宽度一般为20mm,并且将缝与保温层连通,分隔缝最大间距为6m。
③铺装水泥砂浆:按分格块装灰、铺平,用刮杠靠冲筋条刮平,找坡后用木抹子搓平,铁抹子压光。待浮水沉失后,人踏上去有脚印但不下陷为度,再用铁抹子压第二遍即可交活。找平层水泥砂浆一般配合比为1:3,拌和稠度控制在7cm。
④养护:找平层抹平、压实以后24h可浇水养护,一般养护期为7d,经干燥后铺设防水层。
(4)沥青砂浆找平层
①喷刷冷底子油:基层清理干净喷涂两道均匀的冷底子油,作为沥青砂浆找平层的结合层。
②配置沥青砂浆:先将沥青熔化脱水,预热至120~140℃;中砂和粉料拌和均匀,加入预热熔化的沥青拌和,并继续加热至要求温度,但不应使升温过高,防止沥青炭化变质。
③铺找平、找坡饼,间距为1~1.5m。
④沥青砂浆铺设,按找坡、找平线拉线铺平后,铺装沥青砂浆,用长把刮板刮平,经火辊滚压,边角处可用烙铁烫平,压实达到表面平整、密实、无蜂窝、看不出压痕为好。
4.施工总结
①等冷底子油干燥后,可铺设沥青砂浆,其虚铺厚度约为压实后厚度的1.3~1.4倍。
②施工时沥青砂浆的温度应为:室外气温在5℃以上时,拌制温度在140~170℃,铺设温度在90~120℃;室外气温在5℃以下时拌制温度在160~180℃,铺设温度在100~130℃。
③施工缝应留成斜槎。继续施工时,接槎处应处理干净,并刷热沥青一遍,然后铺沥青砂浆,用火辊或烙铁烫平。
④雨、雪天不能施工,且在0℃以下施工时,应有一定的技术措施。沥青砂浆铺设后,最好及时铺设第一层卷材。
屋面保温层施工
一、保温层的基层处理
1.示意图和现场照片
保温层基层施工示意图和现场照片分别见图6-9和图6-10。

图6-9 保温层基层施工示意图

图6-10 保温层基层现场照片
2.注意事项
基层表面应坚实且具有一定的强度,清洁干净,表面无浮土、砂粒等杂物,残留的砂浆块或突起物应以铲刀铲平;伸出屋面的管道及连接件应安装牢固、接缝严密,若有铁锈、油污应用钢丝刷、砂纸、溶剂等清理干净。
3.施工做法详解
施工工艺流程:确定参数→进行施工。
找平层应以水泥砂浆抹平压光,基层与突出屋面的结构(如女儿墙、天窗、变形缝、烟囱、管道、旗杆等)相连的阳角;基层与檐口、天沟、排水口、沟脊的边缘相连的转角处应抹成光滑的圆弧形,其半径一般为50mm。
4.施工总结
铺设保温层前,将预埋的钢筋、架子管、吊钩、套拉绳等切割清除,残留在基层表面的痕迹要磨平,抹入砂浆层内;穿过屋面和墙体等结构层的管根部位要用细石混凝土填塞密实,将管根固定,并将基层的尘土、杂物等清理干净,保证基层干净、干燥。
二、板状保温层铺设
1.示意图和现场照片
板状保温层铺设示意图和现场照片分别见图6-11和图6-12。

图6-11 板状保温层铺设示意图

图6-12 板状保温层铺设现场照片
2.注意事项
①在已铺好的保温层上不得施工,应采取必要措施,保证保温层不受损坏。
②保温层施工完成后,应及时铺抹水泥砂浆找平层,以保证保温效果。
3.施工做法详解
施工工艺流程;基层处理→弹线找坡→管根固定→隔气层施工→保温层铺设。
(1)基层清理
应将现浇混凝土结构层表面的杂物、灰尘等清理干净。
(2)弹线找坡
按设计坡度及流水方向,找出屋面坡度走向,确定保温层的厚度范围。
(3)管根固定
穿结构的管根在保温层施工前,应用细石混凝土塞堵密实。
(4)隔气层施工
2~4道工序完成后,设计有隔气层要求的屋面,应按设计做隔气层,涂刷均匀无漏刷。
(5)保温层铺设
干铺板块状保温层:直接铺设在结构层或隔气层上,分层铺设时上下两块板块应错①开,表面两块相邻的板边厚度应一致。一般在块状保温层上用松散料石做找坡。
②黏结铺设板块状保温层:板块状保温材料用黏结材料平粘在屋面基层上,一般聚苯板材料应用沥青胶结料粘贴。
4.施工总结
①保温层不良。影响保温效果的有:保温材料热导率、粒径级配、含水量、铺实密度等原因;施工选用的材料要达到技术标准,并控制密度,保证保温的功能效果。
②铺设厚度不均匀:铺设时不认真操作。应拉线找坡,铺顺平整,操作中应避免材料在屋面上二次堆积倒运。应保证均质铺设。
③保温层边角处质量问题:边线不直,边槎不整齐,影响找坡、找平和排水。
④保温材料铺贴不实:影响保温、防水效果,造成找平层裂缝。应严格达到规范和验评标准的质量标准,严格验收管理。
三、倒置式保温层铺设
1.示意图和现场照片
倒置式保温层铺设示意图和现场照片分别见图6-13和图6-14。

图6-13 倒置式保温层铺设示意图

图6-14 倒置式保温层铺设现场照片
2.注意事项
①倒置式屋面保温材料应采用吸水率小、长期浸水不腐烂的材料,找坡坡度不应小于2%。保温材料上应用混凝土等块材、水泥砂浆或卵石做保护层。其防水层要平整,不得有积水现象。
②屋面施工人员必须穿软底鞋,防止刺破防水卷材和碰损保温板。
③吊罐、料斗等应避免冲击保温板或防水卷材。
④在坡屋面上施工时,应采取可靠的安全防护措施。
3.施工做法详解
施工工艺流程:选择施工做法→进行施工。
(1)胶粘法施工
将屋面基层清扫干净,按设计配合比制水泥胶,并将水泥胶抹在防水层面及挤塑保温板上,随机涂抹在水泥胶的防水层面上,并用橡胶锤轻轻捶打保温板或用压辊稍用力滚压保温板,使保温板与防水层粘贴密实、平稳。保温层施工完毕应立即施工找平层砂浆,砂浆摊铺要均匀,滚压密实平整。最后按设计要求做屋面保护层。若保温板施工完毕不立即做找平层,应在保温板上做压重处理,防止保温与防水层松滑、空落。
(2)干铺法施工
干铺法一般只在平屋面保温层施工时采用。其施工工艺较胶粘法更为简单,可直接将挤塑保温板与防水层干铺连接,并只需按建筑物的屋顶风荷载要求而加以简单的压重固定,通常采用预制混凝土板块或卵石,也可在挤塑保温板上直接浇筑混凝土,使之与基层成一刚性整体。
4.施工总结
①对胶粘法施工的挤塑保温板保温层,考虑到防水卷材搭接厚度的影响,水泥胶结层厚度应不小于5mm。
②用胶粘法施工挤塑保温板时,保温层施工完毕不立即施工找平层,必须在保温板上铺设压重材料,以防止保温板与基层松滑、起拱。黏结水泥胶固化前,应禁止施工人员在板上行走。
③当气温低于5℃时不宜采用胶粘法施工。
④无论干铺法施工还是胶粘法施工,对挤塑保温板均宜按屋面形状线性试铺并裁切板材,以减少板材的浪费。
⑤相邻两幅板接缝应相错开半幅或50mm以上;若分层铺设,其上下层接缝也应相互错开。
⑥要求粘贴密实、平稳无滑移,拼缝严实,相邻板的板缝上下层板缝应按要求错开。对干铺法施工的板缝宜采用50mm宽的胶带纸封缝。
⑦施工挤塑保温板时一般宜铺设至女儿墙边;若遇天沟,板材宜铺至天沟边约50mm。
⑧采用干铺法施工时,必须严格控制找平层的平整度。
屋面防水层施工
一、屋面刚性防水层施工
1.示意图和现场照片
刚性防水层施工示意图和现场照片分别见图6-15和图6-16。

图6-15 刚性防水层施工示意图

图6-16 刚性防水层施工现场照片
2.注意事项
①隔离层成品保护:
a.隔离层施工完成后,不能随意上人践踏或码放材料物品;
b.必须通过隔离层区域的地方应铺设脚手板,避免将隔离层破坏;
c.绑扎钢筋网片时,钢筋应轻拿轻放,不得将底下的隔离层损坏。
②钢筋网片的成品保护:
a.钢筋网片成型后,应认真进行保护,不得污染钢筋或随意拖挂;
b.不能在钢筋网片上随意行走践踏、推车或堆放物品,如必须作为运输通道时应铺设脚手板。
③刚性防水层的成品保护:
刚性防水层完成后,应按规定派专人进行养护,养护期不少于7d,使混凝土表面经常保持湿润。养护期间不得随意上人踩踏、推车或堆放重物。
④分格缝修整时,不得用锤钎剔凿。嵌填完毕的密封材料应保护,不得碰损及污染,固化前不得踩踏,可采用卷材或木板保护。
3.施工做法详解
施工工艺流程:基层处理→做隔离层→弹线、支模板→绑扎防水层钢筋网片→浇筑细石混凝土防水层→分隔缝密封材料嵌填→细部构造施工。
(1)基层处理、做找平层、找坡
①基层为整体现浇钢筋混凝土板或找平层时,应为结构找坡。屋面的坡度应符合设计要求,一般为2%~3%。
②基层为装配式钢筋混凝土板时,板端缝应嵌填密封材料处理。
③基层应清理干净,表面应平整,局部缺陷应进行修补。
(2)做隔离层
①刚性防水屋面基层为保温层时,保温层可兼做隔离层,但保温层必须干燥。
②隔离层可用石灰黏土砂浆、纸筋灰、麻刀灰、卷材等。
③石灰黏土砂浆铺设时,基层清扫干净,洒水湿润后,将石灰膏:砂:黏土配合比为1:2.4:3.6,铺抹厚度为15~20mm,表面压实平整,抹光干燥后再进行下道工序的施工。
④纸筋灰与麻刀灰做刚性防水层的隔离层时,纸筋灰与麻刀灰所用灰膏要彻底熟化,防止灰膏中未熟化颗粒将来发生膨胀,影响工程质量。铺设厚度为10~15mm,表面压光,待干燥后,上铺塑料布一层再绑扎钢筋,浇筑细石混凝土。
⑤卷材做隔离层时,可在找平层上直接铺一层卷材,即可在其上浇筑细石混凝土刚性防水层。
(3)弹分格缝线、安装分格缝木条、支边模板
①弹分格缝线。分格缝弹线分块应按设计要求进行,如设计无明确要求时,应设在屋面板的支承端、屋面转折处、防水层与突出屋面结构的交接处,纵横分格不应大于6m。
②分格缝木条宜做成上口宽为30mm,下口宽为20mm,其厚度不应小于混凝土厚度的2/3,应提前制作好并泡在水中湿润24h以上。
③分格缝木条应采用水泥素灰或水泥砂浆固定于弹线位置,要求尺寸和位置准确。
④为便于拆除,分格条也可采用聚苯板或定型聚氯乙烯塑料分格条,底部用砂装固定于弹线位置。
(4)绑扎防水层钢筋网片
①把隔离层清扫干净,弹出分格缝墨线,将钢筋满铺在隔离层上,钢筋网片必须置于细石混凝土中部偏上的位置,但保护层厚度不应小于10mm。绑扎成型后,按照分格缝墨线处剪开并弯钩。
②采用绑扎接头时应有弯钩,其搭接长度不得小于250mm。绑扎铜丝收口应向下弯,不得露出防水层表面。
③混凝土浇筑时,应有专人负责钢筋的成品保护,根据混凝土的浇筑速度进行修整,确保混凝土中的钢筋网片符合要求。
(5)浇筑细石混凝土防水层
①细石混凝土浇筑前,应将隔离层表面杂物清除干净,钢筋网片和分格缝木条放置好并固定牢固。
②浇筑混凝土按块进行,一个分格板块范围内的混凝土必须一次浇捣完成,不得留置施工缝。浇筑时先远后近,先高后低,先用平板锹和木杠基本找平,再用平板振捣器进行振捣,用木杠二次刮平。
③用木抹子或电动抹平机基本压平,收出水光,有一定强度后,用铁抹子或电动抹光机进行二次抹光,并修补表面缺陷。
④终凝前进行人工三次收光,取出分格条,再次修补表面的平整度及光洁度在2m范围内不大于5mm。
⑤细石混凝土终凝(12~24h)后,有一定强度以后进行养护,养护时间不少于7d。养护方法可采用淋水湿润,也可采用喷涂养护剂、覆盖塑料薄膜或锯末等方法,必须保证细石混凝土处于充分的湿润状态。养护初期屋面不允许上人。
⑥细石混凝土养护期过后,将分格缝中杂物清理干净,干燥后用密封材料嵌填密实。
(6)分隔缝密封材料嵌填
①嵌填密封材料前,基层应干净、干燥、表面平整、密实,不得有蜂窝麻面、起皮起砂现象。
②基层处理剂应配比准确,搅拌均匀,采用多组分基层处理剂时,应根据有效时间确定使用量。
③基层处理剂涂刷应均匀,不得漏涂,待基层处理剂表干后,应立即嵌填密封材料。
④采用热灌法施工时,应由下向上进行,纵横交叉处沿平行于屋脊的板缝宜先浇灌,同时在纵横交叉处沿平行于屋脊的两侧板缝各延伸浇灌150mm,并留成斜槎。
⑤当采用冷嵌法施工时,应先将少量密封材料批刮在缝槽两侧,再分次将密封材料填嵌在缝内,应用力压嵌密实,并与缝壁黏结牢固。嵌填时,密封材料与缝壁不得留有空隙,并防止裹入空气。接头应采用斜槎。
⑥当采用合成高分子密封材料嵌缝时,单组分密封材料可直接使用。多组分密封材料应根据规定的比例准确计量,拌和均匀,其拌和量、拌和时间和拌和温度应按该材料要求严格控制。
⑦高分子密封材料嵌缝方法可用挤出枪和腻子刀进行,嵌缝应饱满,由底部逐渐充满整个缝槽,严禁气泡和孔洞发生。
⑧一次嵌填或分次嵌填应根据密封材料的性质确定。
(7)细部构造施工
①刚性防水层与屋面女儿墙、出屋面的结构外墙、设备基础、管道等所有突出屋面的结构交接处均应断开,留出30mm宽的缝隙,并用密封材料嵌填,泛水处应加设卷材或涂膜附加层,收头处应固定密封。
②水落口防水构造宜采用铸铁和PVC制品。水落口埋设标高应考虑该处防水设防时增加的附加层和柔性密封层的厚度及排水坡度加大时的尺寸。
③过水孔可采用防水涂料、密封材料防水,两端周围与混凝土接触处应留设凹槽,用密封材料封闭严密。
4.施工总结
①混凝土必须振捣密实,不得漏振,养护期内不能随意上人踩踏,更不能堆放材料器具。
②拼装式屋面板缝清理干净,吊模后洒水湿润,浇筑膨胀细石混凝土,并捣固密实。
③分格缝的嵌填认真地进行检查,柔性防水部分与刚性防水部分相接处必须确保工程质量。
二、高聚物改性沥青防水卷材屋面防水层施工
1.示意图和现场照片
卷材铺贴方向示意图和卷材铺贴现场照片分别见图6-17和图6-18。

图6-17 卷材铺贴方向示意图

图6-18 卷材铺贴现场照片
2.注意事项
①已铺贴好的卷材防水层,应及时采取保护措施,不得损坏,以免造成隐患。
②穿过屋面的管根,不得损伤定位。
③变形缝、水落口等处施工中临时堵塞的废纸、麻绳、塑料布等,完工后应及时清理干净,以保持排水畅通。
④防水层施工完成后,应及时做好保护层。
⑤施工时不得污染墙面等部位。
3.施工做法详解
施工工艺流程:清理基层→涂刷基层处理剂→附加层施工→热熔铺贴卷材→屋面防水保护层。
(1)清理基层
施工前将验收合格的基层表面的尘土、杂物清理干净。
(2)涂刷基层处理剂
高聚物改性沥青防水卷材可选用与其配套的基层处理剂。使用前在清理好的基层表面,用长把滚刷均匀涂布于基层上,常温经过4h后,开始铺贴卷材。
(3)附加层施工
女儿墙、水落口、管根、檐口、阴阳角等细部先做附加层,一般用热熔法使用改性沥青卷材施工,必须粘贴牢固。
(4)热熔铺贴卷材
按弹好标准线的位置,在卷材的一端用火焰加热器将卷材涂盖层熔融,随即固定在基层表面,用火焰加热器对准卷材和基层表面的夹角,喷嘴距离交界处300mm左右,边熔融涂盖层边跟随熔融范围缓慢地滚铺改性沥青卷材,卷材下面的空气应排尽,并辊压黏结牢固,不得空鼓;卷材的搭接应符合《屋面工程技术规范》(GB 50345)的规定。接缝处要用热风焊枪沿缝焊接牢固,或采用焊枪、喷灯的火焰熔焊粘牢,边缘部位必须溢出热熔的改性沥青胶,随即刮封接口,防止出现张嘴和翘边。
(5)卷材铺贴方向应符合的规定
①屋面坡度小于3%时,卷材宜平行屋脊铺贴。
②屋面坡度在3%以上或屋面受震动时,卷材可平行或垂直屋脊铺贴。
③上下层卷材不得相互垂直铺贴。
④热熔铺贴卷材时,焊枪或喷灯嘴应处在成卷卷材与基层夹角中心线上,距粘贴面300mm左右处。
⑤如采用双层铺贴防水层,第二层铺贴的卷材,必须与第一层卷材错开1/2幅宽,其操作方法与第一层方法相同。
⑥接缝熔焊黏结后再用火焰及抹子在接缝边缘上均匀地加热抹压一遍,然后用防水涂料进行涂刷封边处理。面部卷材铺完经蓄水试验验收合格后,应按设计要求,做好保护层。不上人屋面一般直接铺贴背面带片石或石渣的防水卷材,或在防水层表面涂刷银色反光涂料。
⑦卷材末端收头:在卷材铺贴完后,应采用橡胶沥青胶黏剂或专用密封材料将末端黏结封严,防止张嘴翘边,造成渗漏隐患。
⑧屋面防水层完工后,应做蓄水或淋水试验。有女儿墙的平屋面做蓄水试验,蓄水24h无渗漏为合格。坡屋面可做淋水试验,一般淋水24h无渗漏为合格。
(6)屋面防水保护层
屋面防水保护层分为着色剂涂料、地砖铺贴、浇筑细石混凝土,或用带有矿物粒(片)料,细砂等保护层的卷材。
①着色剂涂刷:此种做法适用于非上人屋面。首先将防水层表面清擦干净,并保证表面干燥,均匀涂刷粘接剂,将用水冲洗过且晒干后的矿物片均匀撒在防水层表面,并进行适当压实,待矿物片清扫干净,有露出防水层处进行补粘。要求施工完毕后,保护层表面黏结牢固,厚度均匀一致,无透底、漏粘。
②地砖铺贴:此种做法适用于上人屋面。在防水层表面设隔离层后,再铺摊水泥砂浆进行地砖铺贴,铺贴过程中应注意屋面的排水坡向及坡度,水落口处不得积水;也可采用干砂卧砖铺贴地砖,其效果较好。
③在卷材防水层上铺设隔离层后,可浇筑细石混凝土保护层,并留设分隔缝,其纵横间距不宜大于6m。
④防水保护层施工过程中,应加强对防水层的成品保护工作。
4.施工总结
①屋面不平整:找平层不平顺,造成积水,找平层施工时应拉线找坡。做到坡度符合要求,平整无积水。
②空鼓:卷材防水层空鼓,发生在找平层与卷材之间,且多在卷材的接缝处,其原因是找平层的含水率过大;空气排除不彻底,卷材没有粘贴牢固。施工中应控制基层含水率,并应把住各道工序的操作关。
③渗漏:渗水、漏水发生在穿过屋面管根、水落口、伸缩缝和卷材搭接处等部位。伸缩缝未断开,产生防水层撕裂;其他部位由于粘贴不牢、卷材松动或衬垫材料不严、有空隙等;接槎处漏水原因是甩出的卷材未保护好,出现损伤和撕裂或基层清理不干净,卷材搭接长度不够等。施工中应加强检查,严格执行工艺规程认真操作。
④屋面防水施工中应严格按照《建筑工程施工安全操作规程》中的有关规定做好安全防护,避免发生安全事故。
⑤屋面防水施工中用于溶解基层处理剂的有机溶剂属易燃品,应有专人妥善保管,特别是有机溶剂应采取有效措施防止中毒并应做好施工现场各工种间的协调及消防安全工作。
三、合成高分子防水卷材屋面防水层施工
1.示意图和现场照片
卷材搭接示意图和合成高分子防水卷材施工现场照片分别见图6-19和图6-20。

图6-19 卷材搭接示意图

图6-20 合成高分子防水卷材施工现场照片
2.注意事项
①已铺贴好的卷材防水层,应及时采取保护措施,不得损坏,以免造成隐患。
②穿过屋面的管根,不得损伤变位。
③变形缝、水落口等处施工中临时堵塞的废纸、麻绳、塑料布等,完工后应及时清理干净,以确保排水畅通。
④防水层施工完成后,应及时做好保护层。
⑤施工时不得污染墙面等部位。
3.施工做法详解
施工工艺流程:基层清理→涂刷基层处理剂→复杂部位附加层施工→铺贴卷材防水层→接缝处理→卷材末端收头→蓄水试验→保护层施工。
(1)基层清理
做施工防水层前将已验收合格的基层表面清扫干净,不得有灰尘、杂物等影响防水层质量的缺陷。
(2)涂刷基层处理剂
①配制底胶:将聚氨酯材料按甲:乙=1:1.5的比例(质量比)配合搅拌均匀;配制成底胶后,即可进行涂刷。
②涂刷底胶(相当于冷底子油。将配制好的底胶用长把滚刷均匀涂刷在大面积基层上,厚薄要一致,不得有漏刷和白点现象;阴阳角、管根等部位可用毛刷涂刷;在常温情况下,干燥4h以上,手感不粘时,即可进行下道工序。
(3)复杂部位附加层施工
①增补剂配制:将聚氨酯材料按甲:乙组分以1:1.5的比例(质量比)配合搅拌均匀,即可进行涂刷。配制量视需要确定,不宜一次配制过多,防止多余部分固化。
②按上述方法配制后,用毛刷在阴角、水落口、排气孔根部等部位,涂刷均匀,作为细部附加层,厚度以1.5mm为宜,待其固化24h后,即可进行下道工序。
(4)铺贴卷材防水层
①铺贴前在未涂胶的基层表面排好尺寸,弹出基准线,为铺卷材创造条件。卷材铺贴方向应符合下列规定:屋面坡度小于3%时,卷材宜平行屋脊铺贴;屋面坡度在3%以上,卷材可平行或垂直屋脊铺贴;上下层卷材不得相互垂直铺贴。
②铺贴卷材时,先将卷材摊开在平整、干净的基层上,用长把滚刷蘸合成高分子胶黏剂均匀地涂刷在卷材表面,在卷材接头部位应空出100mm不涂胶,涂胶厚度要均匀,不得有漏底或凝聚块存在。当胶黏剂静置10~20min,干燥至指触不粘手时,用原来卷卷材的纸筒再卷起来,卷时要求端头平整,不得卷成竹笋状,并要防止进入砂粒、尘土和杂物。
③基层涂布胶黏剂:已涂的基层底胶干燥后,在其表面涂刷合成高分子胶黏剂,涂刷要用力适当,不要在一处反复涂刷,防止粘起底胶,形成凝聚块,影响铺贴质量。复杂部位可用毛刷均匀涂刷,用力要均匀,涂胶后指触不粘时,开始铺贴卷材。
④铺贴时从流水坡度的下坡开始,按先远后近的顺序进行,使卷材长向与流水坡度垂直,搭接顺流水方向。将已涂刷好胶黏剂预先卷好的卷材,穿入ф30、长1.5m的铁管,由两人抬起,将卷材一端粘接固定,然后沿弹好的基准线向另一端铺贴。操作时卷材不要拉得太紧,每隔1m左右向基准线靠贴一下,依次顺序对准线边铺贴。但是无论采取哪种方法均不得拉伸卷材,也要防止出现皱褶。铺贴卷材时要减少阴阳角的接头,铺贴平面与立面相连接的卷材,应由下向上进行,使卷材紧贴阴阳角,不得有空鼓等现象。
⑤排出空气,每铺完一张卷材,应立即用干净的长把滚刷从卷材的一端开始在卷材的横方向顺序用力滚压一遍,以便将空气彻底排出。
⑥为使卷材粘贴牢固,用30kg重、30mm长的外包橡皮的铁辊滚压一遍,滚压粘牢。
(5)接缝处理
①在未涂刷的长、短边100mm处,每隔1m左右用合成高分子胶黏剂涂一下,待其基本干燥后,将接缝翻开临时固定。
②卷材接缝用丁基胶剂黏结,先将A、B两份按1:1的比例(质量比)配合搅拌均匀,用毛刷均匀涂刷在翻开接缝的接缝表面,待其干燥30min后(常温15min左右),即可进行黏合,从一端开始用手一遍压合一边挤出空气。粘好的搭接处,不允许有皱褶、气泡等缺陷,然后用手辊滚压一遍,然后沿卷材边缘用专用密封膏封闭。
(6)卷材末端收头
①为使卷材末端收头黏结牢固,防止翘边和渗水漏水,应将卷材收头裁整齐后塞入预留凹槽,钉压固定后用聚氨酯密封膏等密封材料封闭严密,再涂刷一层聚氨酯涂膜防水材料。
②防水层铺贴不得在雨天、雪天、大风天施工。
(7)做蓄水试验
屋面防水层完工后,应做蓄水试验。有女儿墙的平屋面做蓄水试验,蓄水24h无渗漏为合格。坡屋面可做淋水试验,一般淋水2h无渗漏为合格。
(8)保护层施工
做法参照高聚物改性沥青防水卷材屋面保护层做法。
4.施工总结
①空鼓:卷材防水层空鼓,发生在找平层与卷材之间,且多在卷材的接缝处,其原因是找平层含水率过大;空气排除不彻底,卷材没有粘贴牢固。施工中应控制基层含水率,并应把住各道工序的操作关。
②渗漏:渗水、漏水发生在穿过屋面管根、水落口、伸缩缝和卷材搭接等部位。伸缩缝未断开,产生防水层撕裂;其他部位由于粘贴不牢、卷材松动或衬垫材料不严、有空隙等;接槎处漏水原因是甩出的卷材未保护好,出现损伤和撕裂,或基层清理不干净,卷材搭接长度不够等。施工中应加强检查,严格执行工艺规程认真操作。
③积水:屋面、檐沟泛水坡度做得不顺,坡度不够,屋面平整度差。施工时找平层的泛水坡度应符合设计要求。
④屋面防水施工中应严格按照《建筑工程施工安全操作规程》中的有关规定做好安全防护,避免发生安全事故。
⑤屋面防水施工中用于溶解基层处理剂的有机溶剂应有专人妥善保管,并应采取有效措施防止中毒。
四、聚合物水泥涂膜屋面防水层施工
1.示意图和现场照片
涂膜防水层施工示意图和现场照片分别见图6-21和图6-22。

图6-21 涂膜防水层施工示意图

图6-22 涂膜防水层施工现场照片
2.注意事项
①已涂刷好的防水层,应及时采取保护措施,不得损坏,以免造成隐患。
②穿过屋面的管根,不得损伤变位。
③变形缝、水落口等处施工中临时堵塞的废纸、麻绳、塑料布等,完工后应及时清理干净,保证其排水畅通。
④防水层施工完成后,应及时做好保护层。
⑤施工时不得污染墙面等部位。
3.施工做法详解
施工工艺流程:清理基层→涂料的调配→涂膜施工。
(1)清理基层
先以铲刀扫帚等工具将基层表面的突出物、砂浆疙瘩等异物铲除,并将尘土杂物彻底清扫干净。对凹凸不平处,应用高强度等级水泥砂浆修补顺平。对阴阳角、管根、地漏和水落口等部位更应认真清理。
(2)涂料的调配
涂膜防水材料的配制:按照生产厂家指定的比例分别称取适量的液料和粉料,配料时把粉料慢慢倒入液料中并充分搅拌,搅拌时间不少于10min至无气泡为止。搅拌时不得加水或混入上次搅拌的残液及其他杂质。配好的涂料必须在厂家规定的时间内用完。
(3)涂膜施工
①涂刷底层涂料,将已搅拌好的底层涂料,用长板刷或圆形滚刷滚动涂刷,涂刷要横竖交叉进行,达到均匀、厚度一致,不漏底,待涂层干燥后,再进行下道工序。
②细部附加层增强处理,对预制天沟、檐沟与屋面交界处,应增加一层涂有聚合物水泥防水涂料的胎体增强材料作为附加层,宽度不小于300mm。檐口处、压顶下收头处应多遍涂刷封严,或用密封材料封严。泛水处的防水层,可直接刷至女儿墙的压顶下,收头处应多遍涂刷封严。水落口周围范围内,坡度不应小于5%,并应用该涂料或密封材料密封,其厚度不应小于2mm,水落口周围与基层接触处,应留宽20mm、深20mm凹槽,并嵌填密封材料。伸出屋面管道与找平层间应留凹槽,槽内应嵌填密封材料,防水层收头应用密封材料封严。
③涂刷下层涂料须待底层涂料干燥后方可涂刷。
④涂刷中层涂料须待下层涂料干燥后方可涂刷。
⑤涂刷面层涂料,待中层涂料干燥后,用滚刷均匀涂刷。可多刷一遍或几遍直至达到设计规定的涂膜厚度。
⑥每层涂刷完约4h后涂料可固结成膜,此后可进行下一层涂刷。为消除屋面因温度变化产生胀缩,应在涂刷第二层涂膜后铺无纺布同时涂刷第三层涂膜。无纺布的搭接宽度应不小于100mm。屋面防水涂料的涂刷不得少于五遍,涂膜厚度不应小于1.5mm。
⑦聚合物水泥防水涂料与卷材复合使用时,涂膜防水层宜放在下面;涂膜与刚性防水材料复合使用时,刚性防水层放在上面,涂膜放在下面。
⑧防水层完工后应做蓄水试验,蓄水24h无渗漏为合格。坡屋面可做淋水试验,淋水2h无渗漏为合格。
⑨保护层:涂膜防水作为屋面面层时,不宜采用着色剂保护层。一般应铺面砖等刚性保护层。
4.施工总结
①涂膜防水层与基层应黏结牢固,表面平整,涂刷均匀,无流淌、皱褶、脱皮、起鼓、裂缝、鼓泡、露胎体和翘边等缺陷。
②每层涂刷必须定量取料。配好的料应在2h内用完。
③屋面防水施工中应严格按照《建筑工程施工安全操作规程》中的有关规定做好安全防护,避免发生安全事故。
其他屋面工程做法
一、瓦屋面施工
1.示意图和现场照片
瓦屋面施工示意图和现场照片分别见图6-23和图6-24。

图6-23 瓦屋面施工示意图

图6-24 瓦屋面施工现场照片
2.注意事项
①各种瓦运输堆放应避免多次倒运,运输时应轻拿轻放,不得抛扔、碰撞,进入施工现场后应堆放整齐。
②油毡瓦应在环境温度不高于45℃的条件下保管,应避免雨淋、日晒、受潮,并应注意通风和避免接近火源。
③在施工过程中各专业工种应紧密配合,合理安排工序,尤其是安装屋面瓦的施工队伍应与做避雷和出屋面管道的施工队伍及时沟通。
④应禁止无关人员随意上施工完的瓦屋面。
⑤严禁将油漆、涂料或水泥砂浆等洒落在屋面上,并防止重物撞击屋面。
3.施工做法详解
施工工艺流程:基层处理→分中号垄→调正脊→调垂脊→调戗脊→铺边垄→冲垄→铺底瓦→盖筒瓦→勾抹瓦接缝。
(1)平瓦屋面
①施工放线:放线不仅要弹出屋脊线及檐口线、水沟线,还要根据屋面瓦的特点和屋面的实际尺寸,通过计算,得出屋面瓦所需的实际用量,并弹出每行瓦及每列瓦的位置线,便于瓦片的铺设。
②为保证屋面达到三线标齐(水平、垂直、对角线),应在屋脊第一排瓦和屋脊处最后一排瓦施工前进行预铺瓦,大面积利用平瓦扣接的3mm调整范围来调节瓦片。
(2)坡屋面
①坡度大于50%的屋面铺设瓦片时,需用铜丝穿过瓦孔系于钢钉或加强连接筋上,钢钉或加强连接筋在浇筑屋面混凝土时预留;或用相当长度的钢钉直接固定于屋面混凝土中。对于普通屋面檐口第一排瓦、山墙处瓦片以及屋脊处的瓦片必须全部固定,其余可间隔梅花状固定,当坡度大于50%时,必须全部固定,檐口及屋脊处砂浆必须饱满。
②挂(铺)瓦层。钢板网1:3水泥砂浆或C25防水混凝土(P6)垫层,平均厚度为35mm,随抹压实、找平,用双股18号镀锌钢丝将钢板网绑住,形成整网与预埋件在屋顶结构板上的ф30透气管,还须用涂料将连接筋和网筋根部涂刷严密以防腐防渗。挂瓦时,先挂脊瓦两侧的第一排瓦、变坡折线两侧的第一排瓦及檐部的第一排瓦,均须用双股18号镀锌钢丝绑扎在瓦条上或(水泥卧瓦)上。脊部用麻刀灰或玻璃灰卧脊瓦。
③排水沟部位的瓦片用手提切割机裁切,应切割整齐,底部空隙用砂浆封堵密实、抹平,水沟瓦可外露,也可用彩色的聚合水泥砂浆找补、封实。平瓦伸入天沟、檐沟的长度不应小于50mm。排水沟应预先在地面上制作,铺入后应包住挂瓦条,并用钢钉固定,屋檐处铝板(或其他板材)应向下折叠,以防止雨水倒灌。
(3)油毡瓦屋面
①油毡瓦屋面坡度宜为10%~85%。
②油毡瓦的基层必须平整。铺设时在基层上应先铺一层沥青防水垫毡,从檐口往上用油毡钉铺钉,垫毡搭接宽度不应小于50mm。
③油毡瓦铺设:油毡瓦应自檐口向上铺设,第一层瓦应与檐口平行,切槽应向上指向屋脊,用油毡钉固定。第二层油毡瓦应与第一层叠合,但切槽应向下指向檐口。第三层油毡瓦应压在第二层上,并露出切槽100mm。油毡瓦之间的对缝上下不应重合。
④铺设脊瓦时,应将油毡瓦沿槽切开,分成四块作为脊瓦,并用两个油毡钉固定。脊瓦应顺主导风向搭接,并应搭盖住两坡面的油毡瓦接缝的1/3。脊瓦与脊瓦的压盖面不小于脊瓦面积的1/2,并不应小于100mm。
⑤屋面与突出屋面结构的连接处,油毡瓦应铺设在立面上,其高度不应小于250mm。在屋面与突出屋面的烟囱、管道等连接处,应先做垫层,待铺瓦后,再用聚合物改性沥青防水卷材做单层防水。在女儿墙泛水处,油毡瓦可沿基层与女儿墙的八字坡铺贴,并用镀锌薄钢板覆盖,钉入墙内;泛水口与墙间的缝隙应用密封材料封严。
(4)琉璃瓦屋面
①基层处理:基层面扫刷干净后抹25mm厚1:2.5水泥砂浆找平层,中间夹铺耐碱玻璃纤维网格布,压实抹平,并在每间檩条端头设置伸缩缝,缝宽20mm。找平层保湿养护7d后扫刷干净,表面涂刷基层处理剂,干燥后用柔性密封膏等材料嵌填伸缩缝,再对找平层用聚氨酯防水涂料涂刷,厚度不小于2mm。在涂膜未凝固前,对其表面撒上中砂1层,拍压1次,待涂膜固化后扫除没有粘牢的砂粒。必要时可淋水或在雨后对基层面检查排水,确保基层排水畅通、无凹坑和无渗漏等现象。
②分中号垄:测量檐口长度的中点和屋脊长度的中点,从屋脊中拉线到檐口中弹出横向中线,为中垄底瓦的中线。根据瓦的大小,从中垄向两端之间赶排瓦当,底瓦瓦垄为单数。因琉璃瓦不宜砍截,排好的瓦当要认真复核,防止差错,并将各垄盖瓦的中点用红笔画到屋脊的扎肩灰脊上。
③调正脊:根据排好瓦当的位置砌好各垄的底瓦,砌正吻座,并画好垂脊当沟。垂脊要卡住兽座,安装正吻,吻中要用吻锯,中间灌足灰浆;背兽套在横插的防锈铁钎上,铁钎应与兽桩十字相交绑牢,然后拉通线铺砌正脊瓦件。正脊是屋面的主要部位,各项尺寸都要准确。在划好的中垄线上放第一块正中脊瓦,再向两端铺盖脊瓦。脊瓦为单数,车脊瓦端头中穿通长钢筋连接起来,两端固定。脊瓦、瓦件、正吻等色泽要一致。
④调垂脊:垂脊分兽前和兽后两部分,兽前占坡长的1/3。垂兽放在分界处,安装翘角撺头,挑出的尺寸必须符合规定。翘角之上放方眼勾头,勾孔中钉铁钎,安放仙人之后装小兽,小兽的数目符合设计要求,一般顺序为龙、凤、狮子、天马、海马、狻猊等。
⑤调戗脊:戗脊位于歇山屋面的四角,其做法和垂脊基本相同,不同的是戗脊的斜当沟、压当条必须与垂脊交圈。戗脊与垂脊交接处要严实,防止出现裂缝。各脊的线条要柔和、匀称,轴线和垂直度的偏差均不大于5mm。
⑥铺边垄:在坡面的两边垄铺一块割角的滴水瓦和底瓦、盖瓦,两端边垄的弧度要一致、要平行。边垄的弧曲线是整个坡瓦面的标准,其质量的优劣会直接影响全部屋面外观质量。
⑦冲垄:将线拉在两端边垄的盖瓦背上,靠正脊拉一道齐头线,中腰拉一道楞线,檐口拉一条檐线,作为整个盖瓦的高度标准,铺砌檐头滴水底瓦和花檐盖瓦。盖瓦和线齐平,凹凸偏差不大于4mm,盖瓦下面要放一块遮心瓦。用钉子从盖瓦头上的孔中钉牢,是防止盖瓦下滑的措施,钉上用麻刀灰塞严,再盖上钉帽。
⑧铺底瓦:根据排好的檐口瓦当和画在脊上的红线拉直线,凡出现破损、裂缝的底瓦不得使用,从而杜绝底瓦出现渗漏。铺灰排底瓦时,用灰浆填塞饱满粘牢,要掌握底瓦的排列搭接长度,一般为底瓦的1/3,并均匀一致。
⑨盖筒瓦:瓦的接头朝上,由下往上依次安放,上面的瓦头要压住下面瓦的接口,接头面要抹足灰浆,挤压严实;各接缝宽度要均匀,缝宽不宜大于5mm,这是防止盖瓦榫缝不渗水的关键措施。
⑩勾抹瓦接缝:清扫干净瓦垄,用掺有同盖瓦相同颜色的麻刀灰等在侧面相接的地方勾抹紧密;上口与瓦的外边平,下面应与上口垂直。要及时将瓦面擦抹洁净,防止灰浆污染釉面。
4.施工总结
①瓦片的安装必须达到水平、垂直、对角线三方面对齐。
②瓦片的安装必须牢固,挂瓦条与基层的连接必须牢固。
③屋面不得有渗漏现象,对天沟、檐沟、泛水及出屋面的构造物交接处,必须采取可靠的构造措施,确保封闭严密。
二、金属压型夹芯板屋面施工
1.示意图和现场照片
金属压型板檩条安装示意图和金属压型夹芯板屋面现场照片分别见图6-25和图6-26。

图6-25 金属压型板檩条安装示意图

图6-26 金属压型夹芯板屋面现场照片
2.注意事项
①屋面材料吊运应先用尼龙带兜紧,然后用钢丝绳吊挂尼龙带或用吊具起吊。不允许钢丝绳直接捆扎而勒坏金属板材。对于较长的金属板材、檐沟板宜用铁扁担多点吊运,吊点的最大间距不得大于5m。
②屋面施工中尽量避免利器碰伤金属板材表面涂层,一旦划伤有锈斑时,应采用相应系列涂料修补好。
③屋面施工完毕,应将残留在屋面及檐沟、天沟内的金属切屑、碎片、螺栓等杂物清理干净。
④在已铺好的屋面上行走必须穿软底鞋,不得直接在屋面上进行捶打和加工工作。
⑤屋面上应避免集中上人、堆料,以免局部变形过大,撕裂密封材料而造成渗漏。
3.施工做法详解
施工工艺流程:测量放线→安装檩条→配板→铺钉金属板材→细部构造施工。
(1)测量放线
首先放出屋面轴线控制线,根据控制线在每个柱间钢梁上弹出用于焊接屋面檩托的控制线。认真校核主体结构偏差,确认对屋面此结构的安装有无影响。
(2)安装檩条
①檩条的规格和间距应根据结构计算确定,每块屋面板端应设置檩条支承外,中间也应设置一根或一根以上檩条。
②檩条安装时,使用吊装设备按柱间同一坡向,分次吊装。每次成捆吊至相应屋面梁上,水平平移檩条至安装位置,檩托板与另一根檩条采用套插螺栓连接。
(3)配板
①屋面坡度不应小于1/20,亦不应大于1/6;在腐蚀环境中屋面坡度不应小于1/12。
②铺板可采用切边铺法和不切边铺法。切边铺法应先根据板的排列切割板块搭接处金属板,并将夹芯泡沫清除干净。屋角板、包角板、泛水板均应先切割好。
(4)铺钉金属板材
①金属板材应用专用吊具吊装,吊装时不得损伤金属板材。
②屋面板采取切边铺法时,上下两块板的板缝应对齐;不切边铺法时,上下两块板的板缝应错开一波。铺板应挂线铺设,使纵横对齐,长向(侧向)搭接,应顺年最大频率方向搭接,端部搭接应顺流水方向搭接,搭接长度不应小于200mm。屋面板铺设从一端开始,往另一端同时向屋脊方向进行。
③每块屋面板两端的支承处的板缝均应用M6.3自攻螺钉与檩条固定,中间支承处应每隔一个板缝用M6.3自攻螺钉与檩条固定。钻孔时,应垂直不偏斜将板与檩条一起钻穿,螺栓固定时,先垫好密封带,套上橡胶垫板和不锈钢压盖一起拧紧。
④铺板时两板长向搭接间应放置一条通长密封条,端头应放置两条密封条(包括屋脊板、泛水板、包角板等),密封条应连续不得间断。螺栓拧紧后,两板的搭接口处还应用丙烯酸或聚硅氧烷密封膏封严。
⑤两板铺设后,两板的侧向搭接处应用拉铆钉连接,所用铆钉均应用丙烯酸或聚硅氧烷密封膏封严,并用金属或塑料杯盖保护。
(5)细部构造施工
①金属板屋面与立墙及突出屋面结构等交接处,均应做泛水处理。
②天沟用金属板材制作时,伸入屋面板的金属板材不应小于100mm;当有檐沟时屋面板的金属板材应伸入檐沟内,其长度不应小于50mm;檐口应用异型金属板材做堵头封檐板;山墙应用异型金属板材的包角板和固定支架封严。
③每块泛水板的长度不宜大于2m,泛水板的安装应顺直;泛水板与金属板的搭接宽度应符合不同板型的要求。
4.施工总结
①屋面不得有渗漏水。
②钢板的彩色涂层要完整,不得有划伤或锈斑。
③螺栓或拉铆钉应拧紧,不得松弛。
④板间密封条应连续,螺栓、拉铆钉和搭接口均应用密封材料封严。
三、单层金属板屋面施工
1.示意图和现场照片
板材搭接示意图和金属板屋面现场施工照片分别见图6-27和图6-28。

图6-27 板材搭接示意图

图6-28 金属板屋面现场施工照片
2.注意事项
①金属板垂直、水平运输时,所有的工具应*绑捆**丝棉,安放牢固,严禁拖滑。堆放场地应平坦、坚实,且便于排除地面水。
②严禁往屋面上堆放物料等重物,或抛掷砖头、水泥块等杂物,以防因碰撞、冲击引起屋面板产生较大变形而影响屋面质量。
③在屋面面板上必须及时清理杂物,避免工具、配件坠地,造成彩板漆膜破坏。
3.施工做法详解
施工工艺流程:测量放线→檩托安装→主檩条安装→屋面衬板的安装→支架檩条的安装→保温棉的安装→金属屋面面板的铺设。
(1)测量放线
使用紧线器拉钢丝线测放出屋面轴线控制线的位置,依据轴线控制线在主体结构上弹出用于焊接檩托的控制线。
(2)檩托安装
①根据设计图纸要求,在主体结构上焊接钢檩托,如是混凝土结构应有预埋件。
②钢檩托预制成型,并经防腐、防锈处理后严格按设计要求的位置摆放就位,保证构件中心线在同一水平面上,其误差不得超过±10mm。
③在焊接安装钢檩托时,必须保证焊缝成型良好,焊缝长度、焊脚高度应符合设计要求和施工规范的规定。焊缝处除渣、不平滑处打磨后进行涂刷各道防腐、防锈涂层处理。
(3)主檩条安装
①主檩条按照设计规格型号加工,檩条轧制成型后,进行喷砂除锈,涂刷防腐、防锈漆。
②将成型的主檩条吊装到安装作业面,水平平移到安装位置,用木垫块垫好,保证檩条上表面在同一水平面上,其误差不应超过±10mm,上下水平,不平整的需用角铁等填充物垫平,其偏差不应超过±6mm。
③在焊接安装钢檩托时,必须保证焊缝成型良好,焊缝长度、焊脚高度应符合设计要求和施工规范的规定。焊缝处除渣、不平滑处打磨后进行涂刷各道防腐、防锈涂层处理。
(4)屋面衬板的安装
①衬板安装前,预先在板面上弹出拉铆钉的位置控制线及相邻衬板搭接位置线。衬板的横向搭接不小于一个波距,纵向搭接不小于150mm。如板与板相互接触发生较大缝隙时需用和铝拉铆钉适当紧固。
②用自攻螺钉固定铺设好的衬板,连接固定应锚固可靠,自攻螺钉应在一个水平线上,用1m靠尺检验,凡超过4mm误差均应重新修整固定,使外露螺钉直线时自然成为直线,曲线时自然成为曲线,圆滑过度。
(5)支架檩条的安装
①支架檩条按照设计规格型号加工,檩条轧制成型后,进行喷砂除锈,涂刷防腐、防锈漆。
②安装支架檩条配件:按设计间距,采用自攻螺钉将配件与主檩条连接,位置必须准确,固定牢固。
③将成型的支架檩条吊装到安装作业面,水平平移到安装位置,准确定位摆放在安装好的支架檩条配件上,保证构件中心线在同一水平面上,其误差不应超过±10mm,上下水平,不平整的需用角铁等填充物垫平,其偏差不应超过±6mm。
④将支架檩条与配件焊接,保证焊缝成型良好,焊缝长度、焊脚高度应符合设计要求和施工规范的规定。对焊缝处需除渣打磨光亮平滑后按要求补涂防锈漆。
(6)保温棉的安装
将保温棉依照排板图铺设,如分层铺设,上下层应错缝,错缝的宽度应≥100mm,边角部位应铺设严密,不得少铺、漏铺或不铺。
(7)金属屋面面板的铺设
①根据测量所得屋面板长度,在压型机电脑控制盘上输入各部位面板加工长度数据并压制面板。采用直立锁边式连接技术,使屋面上无螺钉外露、防水、防腐蚀性能好。
②为防止屋面板在起吊过程中的变形,一般采用人工方式搬运。在每6~8m处设一人接板,通过搭设的坡道运送至屋面,存放在适宜屋面板安装时取用的位置。按屋面面板卷边大小,堆在屋面工作面上,以加快安装进度。遇有面板折损处做好标记,以便调整。
③根据设计图纸,依屋面面板排板设计,安装时每6m距离设一人,按立壁小卷边朝安装方向一侧,依次排列,安装在固定的支架和支架檩条之上,大小卷边扣在一起,设专人观察扣上支架的情况,以保证固定点设置的准确、固定牢固。
④屋面板面板铺设完毕,应及时采用专用锁边机将板咬合在一起,接口咬合紧密,板面无裂缝或孔洞,以获得必要的组合效果。
⑤屋面板接口的咬合方向需符合设计要求,即相邻两块板接口咬合的方向,应顺最大频率风向。在多维曲面的屋面上雨水可能翻越屋面板的肋高横流时,咬合接口应顺水流方向。
⑥屋面板纵向通长一块板安装,无纵向搭接缝,使屋面系统完整,防水性能可靠。
⑦屋面板安装完毕,应仔细检查其各部位的咬合质量,如发现有局部拉裂或损坏,应及时做出标记,以便焊接修补完好,以防有任何漏水现象发生。
⑧屋面板安装完毕,檐口收边工作应尽快完成,防止遇特大风吹起屋面板发生事故,收边要求泛水板、封檐板安装牢固。包封严密,棱角顺直,成型良好。
4.施工总结
①在安装了几块屋面板后要用仪器检查屋面板的平整度,以防止屋面凹凸不平,出现波浪。
②注意屋顶风机风口处及水落管处的密封和紧固问题。
③天沟氩弧焊接不可有断点、透点。
④屋面施工材料必须随时*绑捆**固定,做好防风工作。
屋面细部构造
一、天沟、檐口、檐沟的防水构造
1.示意图和现场照片
檐口施工示意图和现场施工照片分别见图6-29和图6-30。

图6-29 檐口施工示意图

图6-30 檐口现场施工照片
2.注意事项
①天沟、檐口应增铺附加层。当采用沥青防水卷材时应增铺一层卷材;当采用高聚物改性沥青防水卷材或合成高分子防水卷材时用防水涂膜增强层。
②天沟、檐沟与屋面交接处的附加层宜空铺,空铺宽度为200mm。
3.施工做法详解
施工工艺流程:天沟施工→檐口施工→檐沟施工。
①天沟铺设沥青瓦的方法有三种:敞开式、编织式、搭接式(切割式),其中以搭接式较为常用。
②在铺贴完防水卷材后,先沿一坡屋面铺设沥青瓦伸过天沟并延伸到相邻屋面300mm处,用钢钉固定,钢钉应固定在排水天沟中心线外侧250mm处,并用密封胶黏结牢固。用同样方法继续铺设另一坡沥青瓦,延伸到相邻的坡屋面上。距天沟中心线50mm处弹线,将多余的沥青瓦沿线裁剪掉,用密封膏固定好,并嵌封严密。
③檐沟:檐口油毡瓦与卷材之间,应采用粘贴法铺贴。
4.施工总结
①卷材防水层应由沟底翻上至沟上至沟外檐顶部,天沟檐沟卷材收头应留凹槽并用密封塑料嵌填密实。
②高低跨内排水天沟与立墙交接处应采取适当变形的密封处理。
③檐口防水构造具体做法:无组织排水檐口800mm范围内卷材应采取满粘法;卷材收头应压入凹槽并用金属压条固定,密封材料封口;涂膜收头应用防水涂料多遍涂刷或用密封材料封严;檐口下端应抹出鹰嘴或滴水槽。
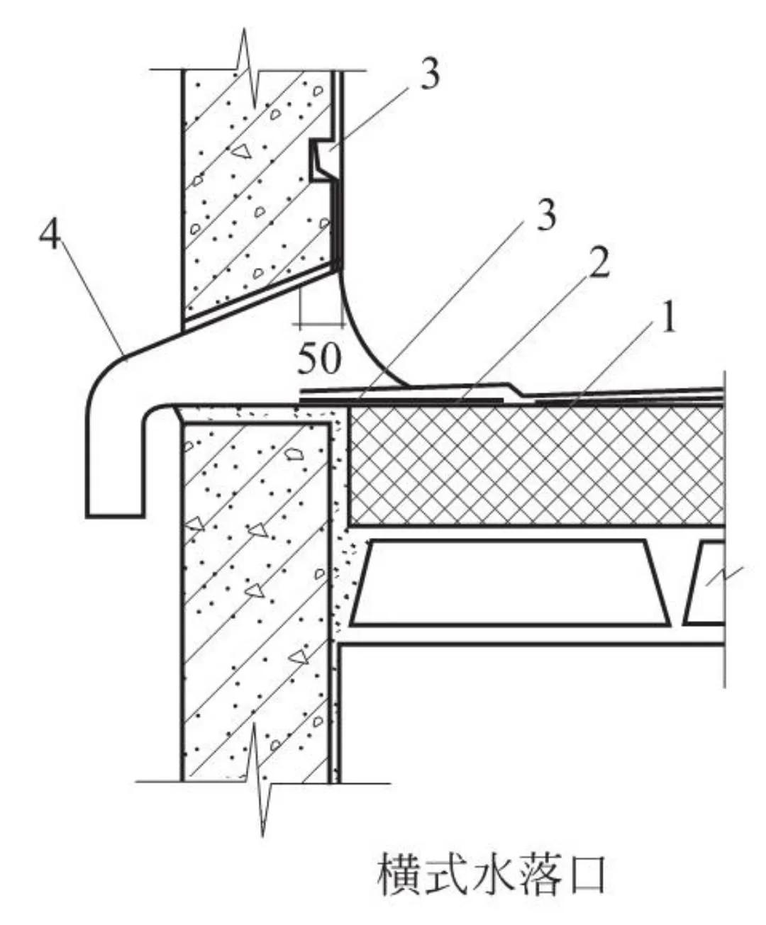
二、水落口及水落管构造及做法
1.示意图和现场照片
水落口施工示意图和水落管现场照片分别见图6-31和图6-32。

图6-31 水落口施工示意图
注:1—防水层;2—附加层;3—密封材料;4—水落口

图6-32 水落管现场照片
2.注意事项
①制品搬运应轻拿轻放,堆放应分品种,水落管存放地面应平整,横、竖分层码放。严禁损坏变形。
②已涂刷的防锈层、油漆层应注意保护,防止划掉防锈层,污染油漆面。
③水落管安装前,对水落口应采取措施,不使水口的排水浇墙,造成墙面污染。
3.施工做法详解
施工工艺流程:水落管制作与安装→找准安装位置→水落管安装。
(1)水落管制作与安装
①画线:依照图纸尺寸,材料品种、规格进行放样画线,经复核与图纸无误,进行裁剪。为节约材料宜合理进行套裁,先画大料,后画小料,画料形式和尺寸应准确,用料品种、规格无误。
②画线后,先裁剪出一套样板,裁剪尺寸准确,裁口垂直平整。
③成型:将裁好的块料采用电焊对口焊接,焊接之后经校正符合要求。
④刷防锈漆:加工制作好的水落斗(包括铸铁雨水斗),应刷防锈层。铸铁雨水口应刷防锈漆,用钢丝刷刷掉锈斑,均匀涂刷防锈漆一道;镀锌白铁雨水斗,应涂刷磷化底漆。
(2)找准安装位置
①挑檐板水落口应按设计要求,先剔出挑檐板钢筋,找好水落口位置,核对标高,装卧水落口,用ф6钢筋加固,支好底托模板,用与挑檐同强度等级的混凝土浇筑密实。水落口上表面,应与找平层平齐,不得突出找平层表面。水落口周边应留宽和深各20mm的凹槽,槽内应嵌填密封材料,并完成防水层后安装活动钢筋箅子。
②横式水落口:按设计要求,在砌筑女儿墙时,预留水落口洞。将左右两侧及上口用砖和砂浆嵌固,清水砖墙缝应与大面积墙体一致,或在砌筑墙体时,弹出中线、标高,将水落口斗随墙砌入,用水泥砂浆或豆石混凝土封口,完成防水层施工后将箅子安装稳固。
③内排直式水落口宜采用铸铁或塑料制成,埋设标高应考虑水落口防水层增加的附加层、柔性密封、保护面层及排水坡度,水落口周围直径500mm范围内坡度不应小于5%,并应用防水涂料或密封材料涂封,其厚度不应小于2mm。
④刷油漆:水落口安装完毕,对其外露的表面按设计要求涂刷油漆。
(3)水落管安装
①安装水落管随抹灰架子由上往下进行,先在水斗口处吊线坠弹直线,用钢錾子在墙上打眼,按线用水泥砂浆埋入卡子铁脚,卡子间距为1.2m,卡子露出墙面3cm左右,外墙水落管距外墙饰面不小于3cm,且不宜大于4cm,待水泥砂浆达到强度后再安装水落管;严禁用木楔固定。有马腿弯时上口必须压进水斗嘴内并在弯管与直管接槎处加钉一个卡子。
②安装下节水落管时,套入上节水落管的长度应不小与4cm,另一半圆卡子用螺丝拧紧;最下面一节管子要待勒脚、散水做完后才能安装,主管距散水面15~20cm。水落管下口设135°弯头,呈马蹄形。水落管经过带形线脚、檐口等墙面突出部位处宜用直管,线脚、檐口线等处以应预留缺口或孔洞;如必须采用弯管绕过时,弯管的弯折角度应为钝角。
③雨水管不宜排在采光井上面,也不应使水落管穿过采光井罩后再排向地面,如遇采光井应将水落管接出直接排到地面散水处。弯头处设双卡固定,水落管正面及侧面应通顺无弯曲。
4.施工总结
①水落管不直:安装卡子时没有吊线找垂直,产生正、侧视不顺直,应弹线或拉线控制与墙的距离和垂直度。
②水落口高于找平层:安装水落口没有剔除砂浆找平层,形成单摆浮搁,应严格控制水落口标高、位置。
③水落管卡子安装不牢:主要是在基层下木塞用圆钉或木螺钉固定而造成,固定点严禁下木塞,卡子孔直径应正确,填塞水泥砂浆应密实。
三、变形缝防水构造及做法
1.示意图和现场照片
变形缝防水构造示意图和变形缝防水现场施工照片分别见图6-33和图6-34。
注:1—衬垫材料;2—卷材封盖;3—防水层;4—附加层;5—沥青麻丝;6—水泥砂浆;7—混凝土盖板

图6-33 变形缝防水构造示意图

图6-34 变形缝防水现场施工照片
2.注意事项
变形缝的泛水高度不应小于250mm,防水层应铺贴到变形缝两侧砌体的上部;变形缝内填充泡沫塑料或沥青麻丝,上部填放衬垫材料,并用卷材封盖;变形缝顶部加盖混凝土或金属盖板,混凝土盖板的接缝嵌填密封材料。
3.施工做法详解
施工工艺流程:划线下料→变形缝钢板除锈、刷漆。
(1)划线下料
缝口上盖板一般用24~26号白铁皮制作,或按设计要求选用。依据图纸下料,根据变形缝实际长度加出搭接尺寸,做出样板,如实际需要的形状多时,应分类制作样板;需要焊接的部位应在安装后量好尺寸再行焊接。
(2)变形缝钢板除锈、刷漆
①变形缝钢板罩制成后,先将表面铁锈等清理干净,里外满刷防锈漆一道,用镀锌薄铁板制作成罩,涂刷调和漆前应先涂刷锌黄类或磷化底漆;交活后应再涂刷铅油两道。
②变形缝铁板罩安装前,应检查缝口伸缩片、缝内填充的沥青麻丝、油膏嵌缝等工序完成情况,经检查无漏项后,再进行安装。变形缝与外墙、变形缝与挑檐等交接处,先用50mm圆钉钉牢,用锡焊填充钉头,经检查合格后,刷罩面漆一道。
4.施工总结
屋面变形缝处附加墙与屋面交接处的泛水部位,应做好附加增强层,接缝两侧的卷材防水层铺贴至缝边,然后在缝边填嵌直径略大于缝宽的衬垫材料,如聚苯乙烯泡沫塑料板(直径略大于缝宽)、聚苯乙烯泡沫板等。为了使其不掉落,在附加墙砌筑前,缝口用可伸缩卷材或金属板覆盖。附加墙砌好后,将衬垫材料填入缝内。嵌填完衬垫材料后,再在变形缝上铺贴盖缝卷材,并延伸至附加墙里面。卷材在立面上应采用满粘法,铺贴宽度不小于100mm。卷材施工完后,在变形缝顶部加盖预制钢筋混凝土盖板或0.55mm厚镀锌钢板。预制钢筋混凝土盖板采用20mm厚1:3水泥砂浆坐垫,镀锌钢板在侧面采用水泥钉固定。为提高卷材适应变形的能力,卷材与附加墙顶面宜黏结。