在大理石瓷砖之后,有一种被誉为划时代的全新产品——瓷抛砖,这种既有大理石瓷砖的真石质感、丰富多变的纹理,因为通体无釉,又有抛光砖的硬度和耐磨度,同时兼备抛光砖和抛釉砖的优点,有非常优越的理化性能,一经问世,甚嚣尘上,堪称整个陶瓷界的希望。
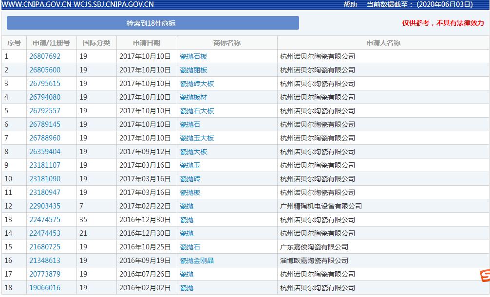
更有甚者,有企业把瓷抛砖当做一个新品类,当做扭转市场的大杀器……华东某知名陶瓷企业,把瓷抛砖相关的商标,一股脑的全部注册掉(不过通过国家知识产权局商标局官网查询,与瓷抛砖相关的商标申请,已被商标局悉数驳回),大有把瓷抛砖市场一家独占、一网打尽的架势。


貌似申请的瓷抛砖商标被驳回
但是,经过数年的市场检验表明,这是一场空欢喜!
这个所谓的新品类,才几年时间,似乎就走完了产品生命周期,逐渐被各大厂家所抛弃,一时间,各种瓷抛砖清仓处理的信息满天飞。



这个所谓的新品类,为什么会如此快的淡出市场,实在耐人寻味。
当年,简一大理石在行业率先开发出大理石瓷砖新技术,公司的掌舵人深知,大理石瓷砖的市场很大,不应该是哪一家企业独享,需要全行业一起做,共同做大市场蛋糕,才能做大这个新品类。后来的结果不用说了,大理石瓷砖成就了简一,也成就了一大批企业。
清代大学者、著名诗人袁枚,33岁弃官隐居南京小仓山,买下一个破败的园子,将其改名为“随园”,并花费巨资,开平沼,起楼台,水榭丹堤,奇峰怪石,绿竹万竿……把随园打造成“一个随心所欲的居所”。
园子建好后,袁枚没有独占私藏,而是把随园四周原有的围墙全给拆了,并在随园大门挂上一副对联:“放鹤去寻山鸟客,任人来看四时花。”
消息一传来,南京各界民众、文人雅士、富商大贾,纷至沓来,一睹为快,随园便成了南京著名网红地。每逢佳日,游人如织。文艺青年们不时聚在一块,吟诗作对,猜拳行令,好不热闹,袁枚作为随园主人,也乐在其中。乾隆下江南时,还专门派人到随园取景,以备修皇家花园时作参考。
独乐乐不如众乐乐,这是古人悟出的道理,袁枚也深谙其中奥妙,硬是把自己的私家园林,变成了大众公园,留下了一段佳话,并给后人留下一部今人读来口齿生香的《随园诗话》, 还有吃货宝典《随园食单》。
很可惜,这座《红楼梦》大观园原型的江南名园,毁于太平天国之乱,已片椽无存。
大家都来一起玩,这才有趣嘛!何必独占。也可惜,在巨大的商业利益面前,不是所有的企业都明白这样的道理。

砍掉别人的腿,你也不一定跑的更快。把瓷抛砖的商标全部注册掉,没能独享市场蛋糕,也没有像简一一样开挂,开启行业一个全新的品类。
在现今商业时代,商标具有排他性、独占性和唯一性,也是企业的核心资产之一,为了保障自己的商业利益,注册商标保护自己的商誉和商业利益,合理合法,也可以理解。同时,一个企业,你可以把自己的新发明,注册专利。但如果一个企业把某一个品类产品,大包大揽,注册成商标,等于把公园里的湖,变为自家的池塘,占为己有,不准别人来游泳、划船,这个就有些太过了。
瓷抛砖为什么没有形成一个品类,做大市场,个中原因很多,与技术成熟度、市场时机、市场推广……都有关系。但被企业注册成独家的商标,让众多企业噤若寒蝉,成为一个绊脚石,到底有没有在这个因素存在,就留给大家来评论吧。 (来源于大家居信息 作者拾镰砍柴)