
作者| fanfan
来源| 极果编辑部
说起折叠屏,无外乎两种形式。
一是“上下翻折”,屏幕尺寸大小维持不变,但折叠后体积只有原先一半,方便携带。#数码科技要闻#

二是“左右对折”,折起来与普通手机差不多,但展开后,屏幕是普通手机的两倍大,有点类似小号的平板电脑。

目前,国内各大手机厂商都陆续推出了自己的折叠屏手机,例如小米MIX Fold、OPPO Find N、华为Mate X、荣耀MagicV、摩托罗拉Moto Razr等。这些产品在形态上,无一例外都采用了上下折或者左右折。

但...要论玩折叠屏,三星依旧是唯一的“大佬”。
继Galaxy Z Flip 系列、Galaxy Z Fold系列后,三星又“脑洞大开”,将“上下折”和“左右折”融合,打造全新的折叠手机产品。

在见惯了一溜的普通折叠手机后,这种创新设计还挺让人好奇。

这款手机被命名为“Galaxy Z Multi Fold”。
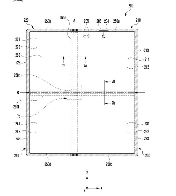
从曝光的专利图来看,Galaxy Z Multi Fold比例更接近长方形,整体尺寸看起来不小 。屏幕变大后,视觉效果更好,各种操作也更加方便。

该设备在折叠方式上十分多样化,不仅能水平折叠,而且也可以做到垂直折叠,并且在水平左右折叠时,屏幕既可以内折叠,也可以外折叠。

在水平折叠模式下,屏幕还可藏身于内部,以兼顾折叠使用和收纳防护效果。

鉴于多样的折叠方式,该设备的铰链也相对复杂。
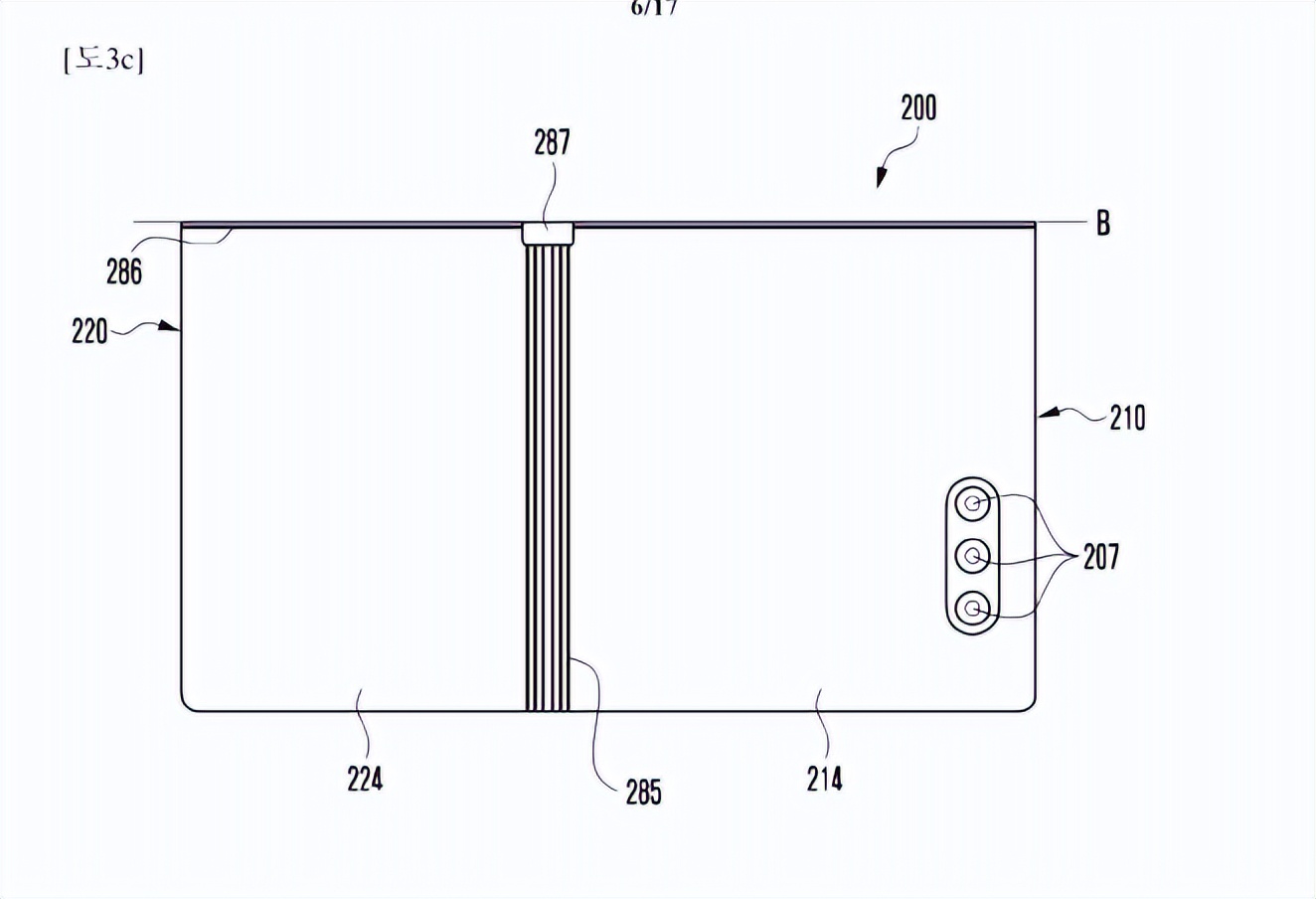
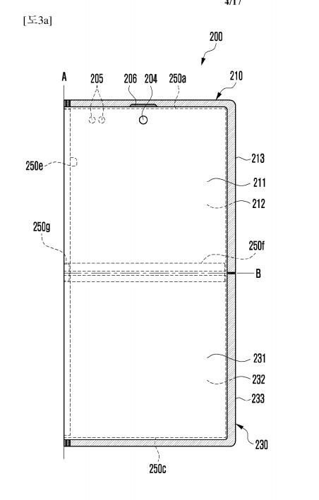
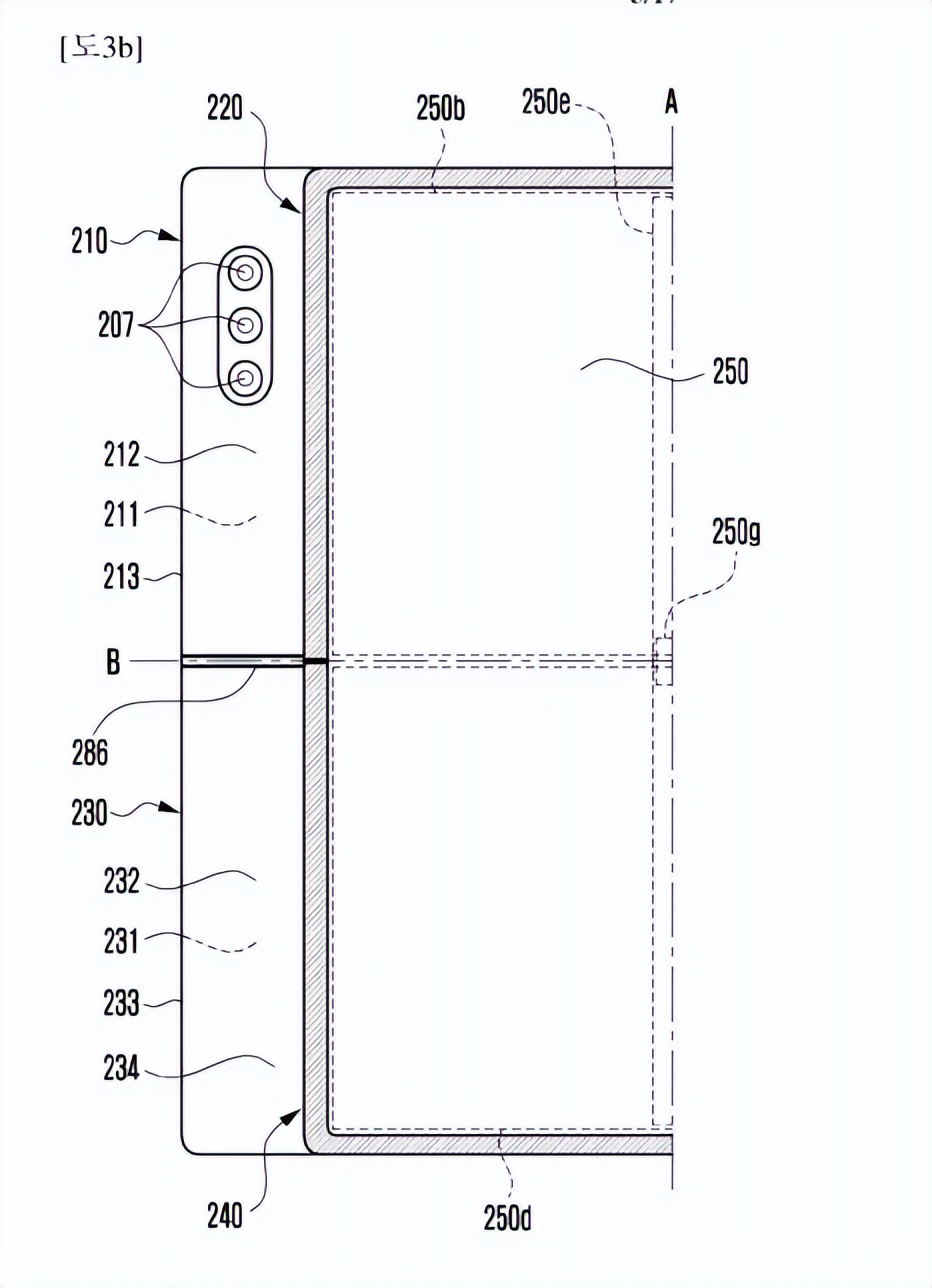
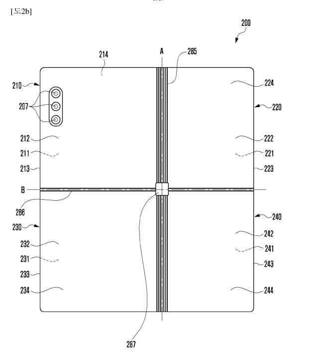
从专利图来看,三星Galaxy Z Multi Fold采用了“十字状”铰链,这种创新设计对铰链的要求很高,一是使用寿命问题;二是屏幕折痕问题,两个方向的任意折叠,难度不是一星半点。

早前,小米 MIX Fold在折叠后为了不损伤屏幕,在中间位置还留有一定的缝隙, 算是一种比较稳妥的折叠方式。
不知道,三星会在新设备上怎样设计呢?

总之,从专利图来看,三星Galaxy Z Multi Fold确实在折叠方式上下了大功夫,让人更加好奇它的具体样貌。虽然三星官方未有任何信息泄露,但知名博主@Dohyun Kim透露,该设备正在开发中。

日前,LetsGoDigita网站根据Dohyun Kim的描述以及之前三星的专利文件,携手平面设计师Parvez Khan一起,制作了三星“Galaxy Z Multi Fold”的高清概念渲染图,让大伙能够看到这款手机的具体样貌和更多细节。

从曝光渲染图来看,Galaxy Z Multi Fold在折叠方式上大致还原了专利图,共有两种折叠方式,可以向内折叠,也可以向外折叠,折叠后会形成一个“双面”手机!

不用时,水平折叠合起来保护屏幕,连手机壳都省了。

根据Dohyun Kim所述,该设备屏幕尺寸要大于7.6英寸的Galaxy Z Fold3 。目前折叠屏手机中,华为Mate X2 和小米MIX Fold屏幕都达到了8英寸,不知道Galaxy Z Multi Fold会不会向此靠近。

Galaxy Z Multi Fold的背部,很明显可以看到“十字状”的铰链,这一点还原了专利图的设计。

根据知情人士爆料,Galaxy Z Multi Fold还有望像笔记本电脑一样半折叠放置,然后,屏幕的下半部分可以像虚拟键盘一样显示控件,而屏幕的顶部显示内容。

如此创新的外观设计,也是获得了许多网友点赞,表示这下可以随便折了。

除了外观外,该设备的细节也有曝光,但信息量不多。

首先是拍照方面。根据爆料信息可知,该设备或采用屏下自拍摄像头 + 后置三摄组合。如此一来,屏幕就能得到最大利用。

此前,三星曾在Galaxy Z Fold3上运用UPC方案,将智能手机前置摄像头嵌入显示面板,如此只在有需要时操作相机,不开启前置相机时,整块显示屏能100%得以利用。但这种设计相较于打孔屏来说,画质表现一般。
其它方面,目前只知晓该机有望内置4400+ mAh电池、以及支持25/45W有线快充和无线充电功能。

为进一步提升交互体验,据说该设备还将配备S Pen手写笔。
这里就有一个问题:Galaxy Z Multi Fold 如此多样的折叠方式,导致外壳中很难有足够的空间容纳 S Pen。因此,新机S Pen的收纳很可能像Galaxy S22 Ultra那样设计一个收纳槽。

目前,还没有很明确关于软件方面的信息。但据知情人士透露,Galaxy Z Multi Fold 将运行最新的 Android版本。同时,三星也在积极为Galaxy Z Multi Fold开发崭新的用户界面(UI),以提升整体的用户体验。

目前这款三星Galaxy Z Multi Fold的研发已经提上日程,这也就意味着距离该机的量产不远了。

不过,完全按照专利设计的话,研发难度可能不小。
首先是屏幕材料,如何保证设备上百上千次折叠不破裂。还有就是铰链问题,铰链形成了类似“十字”的形状,这对于技术要求更高,若要实现量产,那么三星将要挑战的技术难度是前所未有的。

还有一个潜在问题就是防水性。目前,暂不知道该设备防水性如何。没记错的话,三星Galaxy Z3是迄今为止唯一一款防尘防水的可折叠机型。鉴于Galaxy Z Multi Fold采用了双铰链,设计复杂,能否防水还有待观察。

如果一切都能完美解决的话,那三星真是把折叠屏玩到了极致!
话说,单看外观设计的话,大家觉得这种“随便折”的手机如何?如果是你,你会考虑入手吗?