如今的房价高涨不降,让不少人飘在外地的人只能选择去租房。数据显示,在全国房租最贵百城中,前三名依旧是北京、深圳、上海,苏州以27.35元/月/㎡排在第22名。
排名虽然不靠前,27.35元的数字还是挺大的

▼全国房租最贵百城排名(部分名单)


△数据内容来源于中国房价平台
苏州自2016年以来,房价便陷入疯长阶段,这也带动苏州房租的上涨。再加上来苏州的人越来越多,租房需求增多,房租难怪会涨了。

如今对于进入职场已经有段时间的80后甚至90后们,也要渐渐面对买房子的问题了。拥有一套属于自己的房子应该是大多数人的想法,特别是在中国的传统观念下。这时候到底是买个房子还是继续租房成了一个问题。买房子的话要一下子拿出一大笔首付,以后过上房奴的生活;租房子却又感觉前路漫漫,一直租下去也不是个办法。
▼
到底是买房还是租房合算呢?
买房篇
在苏州买房,是考虑买潜力有待开发的新房,还是买配套设施相对齐全的二手房呢?小编觉得这并不是最大的问题,最大的问题是它们都!很!贵!

根据搜房网的数据,苏州新房的2月均价已经达到了13428元/㎡,二手房3月均价更是成功破2,达到了20581元/㎡。

先别说话
来感受一下这房价吧~


假设我们花200万买一套房子。按照目前的政策,苏州市区的首付首套房20%,我们就按这个来算。假设首付40万自己出了,问银行*款贷**160万,以基准利率贷30年,用最新的房贷计算器算了一下,结果是:

月还款8491.63元
你扛得住吗?
反正小编是扛不住的

租房篇
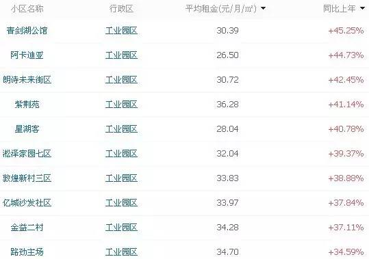
在苏州租房,那我们来看看苏州各区的小区2016年2月的平均租金和涨幅。强忍着别哭!这只是各区房租上涨的前10代表,剩下这次就不一一统计了。
园区租金涨幅排行榜

吴中区租金涨幅排行榜

姑苏区租金涨幅排行榜



新区租金涨幅排行榜

相城区租金涨幅排行榜

吴江区租金涨幅排行榜

在苏州租一个相对好一点的房子,大概租金大概在1000左右。小编友情提醒你一句:月末了,房东阿姨要收租啦!

▼
内心OS:租房pk买房

倾向于租房住是比较“自由派”的想法,想住哪住哪,感觉全天下都是你的,可以随着工作或生活的改变而随时更换居住的地方。但也不得不承认其中面临的问题,比如房租的不稳定上涨,搬家时的各种麻烦,挣的钱都交房租了,到头来自己却什么都没落着。

倾向于买房便是“稳定派”的作风,有一个固定的家,不用考虑每个月要给房东很多钱,虽然有月供,但最起码,买房花了钱最后还能落着一套房!但也得承认,买了房,在我们自己心中会认为拥有了一个属于自己的房子。但事实上,你还得面临二三十年后遇上*迁拆**或者旧房改造等等一系列的问题。在中国你并无法拥有这个房子,只是长期“租”给你而已。因为房子是你的,地不是你的,只是把土地的使用权70年交付给你。
到底是租房还是买房
大家自己看着办吧

其实纠结此问题最根本的原因是
。

(觉得说到心坎里去的,请点击下方大拇指)
部分信息来源:中国房地产业协会发布、搜房网
姑苏网综合整理,转载请联系授权。姑苏君ID:gusujun0512;商务电话:18068034680。
下周清明小长假就要来啦!点击“阅读原文”,快来说说你的出行计划吧!