2019年2月24日,华为正式对外发布了华为Mate X,作为全球首款折叠屏手机,它得到了前所未有的关注度。不过虽然产品极具未来感,但还是有不少问题要解决,就比如最直观的屏幕。

折叠屏手机相比传统手机的屏幕,"折叠"二字为它带来了不少劣势,就以华为Mate Xs来说,屏幕折叠起来倒没有啥问题,只不过平时使用起来稍微注意点规避划痕即可,但屏幕展开后,肉眼可见的折痕问题在所难免。
而针对这个问题,苹果就申请了一项折叠屏专利。为了减少显示屏中的折痕、划痕或者其他问题,苹果在显示屏中覆盖了一层特殊的材料,这个材料可以进行所谓的自动复原。

先简单说一下,以目前的技术来看,屏幕折叠后的折痕肯定是没有办法完全消除的,厂商们只能通过不断的优化来减少折痕面积和折痕曲率。
而前段时间的摩托罗拉Razr 5G就是通过采用了新的技术,将屏幕折痕做的更加平整,使得中间的划痕不再那么明显,视觉效果也更加优秀。

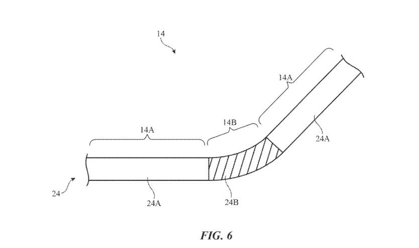
因为采用了柔性屏幕,而且还要做"折叠"这件事,所以折叠屏手机的显示屏表面并不能像传统手机那样附上一层保护玻璃,这就使得屏幕的硬度不会很强,很容易造成划痕,甚至指甲划过都能存在不可修复的情况。
所以苹果的这项专利,可以说就是专为折叠屏手机而生,专门将这两个问题彻底解决。据悉,这个专利在实现时,表面的柔性层就类似海绵一样,拥有专属的记忆体,再将屏幕进行折叠后打开,屏幕中间会自动恢复成原来的样子,展现出没有划痕的显示屏。

而且让人比较惊喜的是,苹果的专利显示正在开发一款可折叠的iPhone原型机。但不同于摩托罗拉Razr 5G,它是通过将两个独立显示面板进行铰链连接,这样来看的话,它似乎就是一款双屏手机。
从图片我们可以看出,这款手机的外观与目前的iPhone 11没有太大的差别,顶部仍然保留了刘海,应该还会保留FaceID,不过整个手机的边框看似还是比较宽的,不知道真实效果究竟如何。

从这几次苹果申请的折叠屏专利来看,苹果一直都没有停止过对折叠屏iPhone的研发,折叠屏手机肯定是做的出来,但苹果好像就是想把它做到极致才肯罢休。
目前折叠屏手机的这两个最大问题,苹果似乎已经找到了新的解决办法,我估计在不久的未来,首款折叠屏iPhone就要亮相了。

不过以苹果的定价策略,售价嘛,那肯定不用担心了,至少我是买不起的。