在过去这些年间,随着国内外对太赫兹技术的研究不断深入,各种各样的太赫兹产品也相继出现在了市面上,众所周知的有太赫兹细胞仪、太赫兹健康水仪,还有太赫兹能量鞋,而后者作为其中的一个分类,近年来也衍生出不少同类产品,俗话说:“养树护根,养人护脚。”人的双脚是“人体之根”,健康之本。于是乎,足密码,赫力健,金泰利,申花,易馨泰,双特足梦思,艾力沛纷纷流入市场,而近段时间以来主打太赫兹能量鞋概念的“吉步欣美健”也开始因其夸张的宣传,而受到了业内外人士的广泛关注。
那么吉步欣美健旗下的带有太赫兹概念包装的能量鞋和小神吹到底有何功效?号称有关产品可以治病的宣传材料是否真实可信?“太赫兹光波是癌细胞的克星”的说法从何而来?相关奖金制度又该如何解读?当自己销售了30双,培养了两个全国代理,同时团队销售满10000双时,即可升为合伙人,那么吉步欣美健的合伙人将会拿到怎样的收益?

新兴技术,百病克星?
经查,山西吉步科技有限公司是“吉步欣美健”品牌的经营主体,据公众号“吉步欣美健科技”介绍,山西吉步科技有限公司是一家致力于打造高精端功能养生鞋的大健康平台,也是一家集全国一线功能养生鞋品牌为一体的电子商务平台,旗下有吉步欣美键,吉步奇际,吉步欣直播,吉步赛潮等。经查,山西吉步科技有限公司成立于2020年4月14日,法定代表人和股东都是石士鑫一人,监事为殷秋艳,注册资本300万元。

在公众号“吉步欣美健科技”的宣传下,该品牌旗下的产品与太赫兹技术产生了联系,根据材料显示,“吉步公司生产的第三代太赫兹能量鞋,获得了中国唯一一款可以将太赫兹科技技术运用在鞋子里面的国家专利。”


那么太赫兹技术会对人体产生怎样的帮助?按照公众号“吉步欣美”的说法:“太赫兹波不但能祛除百病产生的根源,而且还能达到百疾不治自愈!”

据该公众号发布的《吉步欣美健:太赫兹波可以祛除百病的根源》显示,“太赫兹光波是癌细胞的克星,使体内变异细胞瞬间发热,达到秒杀效果,因此对皮肤病、糖尿病、风湿病、中风后遗症、肝病、肺病、肾病、肌瘤、肿瘤、癌症、艾滋病等等人类难以攻克的所有软组织病都有神奇效果。”


那么太赫兹真的有这么神奇吗?太赫兹真的可以治疗人体疾病吗?据悉,太赫兹是波动频率单位之一,通常用于表示电磁波频率,太赫兹波通常定义为波长在0.03-3mm、频率在0.1-10THz范围内的电磁波。
但时以至今,对于太赫兹技术能对人体产生哪些健康功效,中国科学院院士、激光与电子研究所所长姚建铨则曾在媒体报道中明确表示,目前在医疗领域确实应用了太赫兹技术,不过范围仅局限于乳腺癌、皮肤癌和牙科的诊断。太赫兹作为新技术,可以用于检测、雷达、通讯方面,而在生物医学方面还正处于研究阶段,太赫兹不能用于治疗任何疾病。其他方面,在提高免疫力、修复皮肤损伤方面也并未发现明显功能。还有专家表示,“所谓的能量鞋很可能是打着太赫兹旗号的*局骗**。”目前的研究尚未发现太赫兹波对人体有任何作用,归根结底,这些太赫兹波的能量很小,对人体的影响可以理解为无作用。现阶段太赫兹技术的应用场景还未明晰,国内对于太赫兹技术仅停留在高校研究阶段,尚未出现大规模产业。

对于如今网上关于太赫兹技术的疯狂炒作,果壳网在题为《太赫兹技术随着6G到来,却被不良商家拿来蹭概念?》的文章中曾明确指出:即使“太赫兹保健品”有一定积极效果,它的安全性也难以保证。目前为止,太赫兹技术在生物医学领域的应用主要在医学成像、生物组织探测与识别等方面,学界正在关注太赫兹的生物安全性,例如暴露于太赫兹中是否会引起热损伤、是否会引起自身结构变异或变性等。因此,太赫兹波对人体能够产生的具体影响还远没有定论,在产品中宣称太赫兹波具有保健功能是典型的欺骗消费者的行为。对于一些声称使用太赫兹技术的产品尤其是日用保健品,消费者们也要有一定的甄别能力,防止上当受骗,去伪存真应该是对待新兴技术的正确态度。
治病作用,虚假宣传
说完了太赫兹概念,再说回产品本身的功效,按照推广人员的说法,吉步欣美健太赫兹能量鞋对多种疾病都有调理甚至是治疗作用——“适用人群:身体亚健康、颈椎、肩周炎,腰椎间盘突出,中风后遗症,偏瘫,脑梗后遗症,腰膝酸软、腿脚不好、腿没劲、腿困、腿脚用不上力、关节炎、滑膜炎、身体水肿、穿上之后效果非常显著。脚气、脚臭、脚出汗,脚起皮,灰指甲等所有的脚病都有显著效果,穿过的都知道,谁穿谁受益,谁穿谁体会太赫兹能量鞋的神奇效果。”


公众号“吉步欣美”的说法更加夸张——吉步欣美健能量鞋的适用人群还包括“预防和改善三高、痛风、风湿性慢性疾病的人群”。

同样,官方公众号也认同这样的表达,该公众号还认为吉步欣美健按摩能量鞋的功效包括以下十二项:
(一)、促进血液循环、加速新陈代谢、快速排毒
(二)、改善神经衰弱和失眠问题
(三)、改善高血压、高血糖、高血脂、痛风等疾病
(四)、改善四肢麻木无力状态
(五)、改善脑梗、心梗等后遗症
(六)、改善手脚冰凉感,祛寒除湿
(七)、改善男性前列腺障碍等症状
(八)、缓解女性多种妇科炎症
(九)、消除疲劳,迅速恢复体力
(十)、对脚臭、脚痒、脚癣等问题有改善作用
(十一)、美容减肥,强身健体
(十二)、增强平衡力、爆发力、耐力和柔韧性

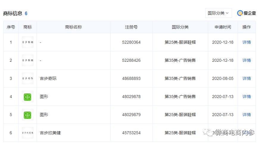
但事实上,据爱企查显示,山西吉步科技有限公司申请的一系列商标的分类都是服装鞋帽和广告销售领域的,并非医疗器械分类,可见,吉步欣美健能量鞋并非医疗器械。

而消费者如果听信了上述宣传,选择通过“穿鞋”的方式来代替药物进行治疗自身所患有的疾病,无疑将会导致十分严重的后果,耽误病情不说还可能危及生命。
对此,我国《广告法》相关条例指出,广告以虚假或者引人误解的内容欺骗、误导消费者的,构成虚假广告。对商品的性能、功能、产地、用途、质量、规格、成分、价格、生产者、有效期限、销售状况、曾获荣誉等信息,或者服务的内容、提供者、形式、质量、价格、销售状况、曾获荣誉等信息,以及与商品或者服务有关的允诺等信息与实际情况不符,对购买行为有实质性影响的就属于违规的宣传行为。《广告法》第二十八条第二款第(二)项明确规定,商品的性能、功能与实际情况不符,对购买行为有实质性影响的,可以认定为虚假广告。
此外,药品价格315网也曾在接受网友关于太赫兹能量鞋是否具有治病功效的咨询时指出:穿一双鞋就可以调理病的话基本是虚假宣传。建议消费者治病选择正规药品,买药看准“国药准字”,不要轻信广告。
关于近年来层出不穷的所谓“太赫兹能量鞋”虚假宣传事件,比如足密码,申花太赫兹鞋,还有易馨泰健康鞋,对此,微商电商内参曾在题为《“太赫兹波”利于人体健康已遭专家辟谣,易馨泰奖金制度有何特色?》的报道中有所提及,此处不多赘述。

在本篇报道中,我们了解到了吉步欣美健能量鞋的公司背景, 以及有关宣传材料所描绘的内容是否靠谱可信,在下篇报道中,我们将着重关注的是吉步欣美健的奖金制度有何特色,请继续关注微商电商内参。
文章来源:微商电商内参