羊喜欢整洁的圈舍环境,不但能让羊只少生病,也让它们生存得更舒适。所以,修建羊舍时必须要考虑到运行中是否方便圈舍的清洁。这不但让羊只更健康,同时还能让养羊人省时省力省心。今天,资深羊倌艾鸿海就和大家分享“舍饲羊自动清洁圈舍”技术,希望对您有帮助。
为保证大家能系统的掌握本技术,文章的布局采用编号的形式,从[0001]-[0018]共计18个要点。
[0001] 本技术属于家畜养殖设施技术领域,是一种具有自动清洁功能的舍饲羊自动清洁圈舍。

舍饲羊自动清洁圈舍的技术背景
[0002] 随着养羊业的蓬勃发展,也在推动羊舍建设技术的进步,曾经的草棚和简单的围栏式羊舍已经无法满足舍饲羊的养殖需求。同时,动物福利工作的推动和羊舍管理便捷的需要,传统的羊舍建设技术已不符合现实需要。
[0003] 在舍饲羊的饲养过程中,羊的起居拉撒是影响饲养效果的重要问题,现有的舍饲羊主要养殖在圈舍内,吃喝拉撒睡均在圈舍内进行,这样,圈舍的卫生清洁工作成为了日常主要工作。目前的主要方式定时清扫圈舍,这样不仅浪费人力物力,而且不能随时清扫,大大降低了舍饲羊的起居质量,影响了饲养效果。

舍饲羊自动清洁圈舍的技术内容
[0004] 本技术所要解决的技术问题是针对现有的舍饲羊需要大量人工清洁的缺陷,提供一种可以随时自动清洁圈舍,以便清洁舍饲羊的起居环境。
[0005] 为解决上述技术问题,本技术所采用的技术方案是一种舍饲羊自动清洁圈舍,包括羊圈、落粪板和化粪池,其特征在于羊圈的底板床由具有间隔距离的木板条构成,木板条的间隔距离大于羊粪的直径,且小于羊脚掌的宽度;木板条的横截面形状为:上半部分为半椭圆形,下半部分为长方形;这样可使舍饲羊的粪便自动滚落入底板床下面,而不会影响羊在圈舍内的正常活动。
[0006] 所述底板床的下方为落粪板,落粪板的整体形状为四面形漏斗状,其外侧漏斗壁为倒置的梯形直板平面且垂直向下,其内侧漏斗壁由内向外向下倾斜,起始段为弧形表面,然后为平直向外向下倾斜的倒置梯形直板平面,其左右两侧漏斗壁从两侧向下向中心倾斜,起始段为弧形表面,然后为平直向下向中心倾斜的倒置直角梯形直板平面,四侧漏斗壁构成漏斗出口,漏斗出口直接接入化粪池;这样可使滚落到底板床下面的粪便经由各漏斗壁的引导集中通过漏斗出口落入到化粪池。
[0007] 所述化粪池的起始段为落粪管道,落粪管道的上口端与漏斗出口完全连接,落粪管道的下口端设有回力盖片,由盖片盖住;所述回力盖片由回力弹簧轴和盖片构成,回力弹簧轴固定安装在化粪池内侧的侧壁顶端,盖片安装在回力弹簧轴上,回力弹簧轴上的弹力使得盖片随时封盖住落粪管道的下口;化粪池外侧的侧壁顶端设有掏粪口,掏粪口上设有盖板。这样可使粪便在落粪管道中落下时有一定的高度,落到盖片上时具有一定的冲击力,使得盖片被冲击打开,粪便进入到化粪池中,然后盖片在回力弹簧轴的作用下恢复盖住落粪管道的下口,这样化粪池中的不良气味不会逸出,大大降低圈舍的臭味。
[0008] 本技术的有益效果是可以随时将舍饲羊的粪便经由漏斗状落粪板集中落入到化粪池中,而化粪池中的不良气味又不会逸出,可以大大降低舍饲羊圈舍的臭味,达到自动清洁的目的,改善了舍饲羊的起居环境,大大减少了劳动力,提高了工作效率。
舍饲羊自动清洁圈舍的附图说明
[0009] 图1本技术的整体结构示意图。

[0010] 图2为本技术中底板床的横切面放大结构示意图。

[0011] 图3为本技术中四面形漏斗状落粪板中三面漏斗壁的结构示意图。

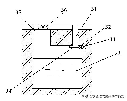
[0012] 图4为本技术中化粪池的结构示意图。

[0013] 图中:1.羊圈,2.落粪板,3.化粪池,11.底板床,12.木板条,13.木板条的间隔距离,14.木板条的横截面形状,15.半椭圆形,16.长方形,21.外侧漏斗壁,22.内侧漏斗壁,23.弧形表面,24.倒置梯形直板平面,25.左右两侧漏斗壁,26.倒置直角梯形直板平面,27.漏斗出口,31.落粪管道,32.回力盖片,33.回力弹簧轴,34.盖片,35.掏粪口,36.盖板。
舍饲羊自动清洁圈舍的具体实施方式
[0014] 下面结合实施例对本技术作进一步说明。
[0015] 如图所示,制作一种舍饲羊自动清洁圈舍,包括羊圈、落粪板和化粪池,首先将现有的羊圈1的底板床11做成由具有间隔距离的木板条12构成,将木板条的间隔距离13做成大于羊粪的直径,且小于羊脚掌的宽度的间距;木板条的横截面形状14做成为:上半部分为半椭圆形15,下半部分为长方形16;这样可使舍饲羊的粪便自动滚落入底板床11下面,而不会影响羊在圈舍内的正常活动。
[0016] 然后在底板床11的下方制作落粪板2,将落粪板2的整体形状做成为四面形漏斗状,其外侧漏斗壁21为倒置梯形直板平面且垂直向下,其内侧漏斗壁22由内向外向下倾斜,起始段为弧形表面23,然后为平直向外向下倾斜的倒置梯形直板平面24,其左右两侧漏斗壁25从两侧向下向中心倾斜,起始段为弧形表面23,然后为平直向下向中心倾斜的倒置直角梯形直板平面26,四侧漏斗壁构成漏斗出口27,漏斗出口27直接接入化粪池3;这样可使滚落到底板床11下面的粪便经由各漏斗壁的引导集中通过漏斗出口27落入到化粪池3。
[0017] 然后将化粪池3的起始段做成为落粪管道31,落粪管道31的上口端与漏斗出口27完全连接,落粪管道31的下口端设有回力盖片32,由盖片34盖住;所述回力盖片32由回力弹簧轴33和盖片34构成,回力弹簧轴33固定安装在化粪池3内侧的侧壁顶端,盖片34安装在回力弹簧轴33上,回力弹簧轴33上的弹力使得盖片34随时封盖住落粪管道31的下口;化粪池3外侧的侧壁顶端设有掏粪口35,掏粪口35上设有盖板36。这样可使粪便在落粪管道31中落下时有一定的高度,粪便落到盖片34上时具有一定的冲击力,使得盖片34被冲击打开,粪便进入到化粪池3中,然后盖片34在回力弹簧轴33的作用下恢复盖住落粪管道31的下口,这样化粪池3中的不良气味不会逸出,大大降低圈舍的臭味。
[0018] 这样可以随时将舍饲羊的粪便经由漏斗状落粪板2集中落入到化粪池3中,而化粪池3中的不良气味又不会逸出,可以大大降低舍饲羊圈舍的臭味,达到自动清洁的目的,改善舍饲羊的起居环境。

作者传播农业技术态度
作者简介:我是艾鸿海,农业经济师,农民劳模,资深羊倌,已经发明多项羊业相关专利。【声明:原创不易,如需转载请注明出处】