在研究可以折叠或弯曲显示屏类型时,苹果现在也在研究技术,以便iPhone显示屏本身可以 "治愈"不可避免的磨损。现在,一项新授予的专利提出了一种既能最大限度地减少损害,又能在损害发生时采取措施的方法。
苹果这项专利名为"具有柔性显示屏覆盖层的电子设备",建议将刚性和柔性区域混合用于显示屏,然后利用苹果所谓的"自我修复"。也许这个自我修复部分才是该专利最有趣的部分。不幸的是,虽然在专利的11000多字中有147处提到它,但关于自我修复的细节很多,而关于具体如何实现它的细节却很少。

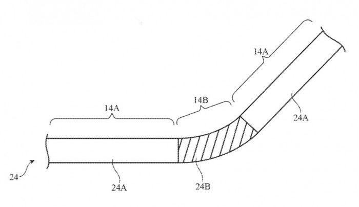
苹果在专利当中表示,一个电子设备可以有一个铰链,允许设备围绕一个弯曲轴进行弯曲,一个显示屏可以横跨弯曲轴。为了便于围绕弯曲轴弯曲而不损坏,显示屏可以包括具有柔性部分的显示屏覆盖层。苹果公司提出,虽然显示屏可以伸展到整个设备上,但它可能由三个元素组成。两个将是常规的、固定的屏幕,而第三个将是将这些连接在一起的柔性部分。

电子设备的操作过程中,电子设备的显示盖层可能被刮伤或凹陷。为了提高电子设备的美感,最好能尽量减少划痕和凹痕的存在。为了帮助减轻凹痕、划痕或显示器盖板层中的其他缺陷的数量,显示器盖板层可以包括一层自我修复材料。

苹果提出,这种柔性层本身可以"包括一层弹性体",这就是自愈元素。弹性体是可拉伸的,可以使其恢复到原来的形状,一个比喻是某些床垫中的记忆泡沫。通常情况下,这种恢复到以前形状的能力是由热触发的,例如人睡在床垫上的体温。自我修复可以在没有提示的情况下发生在自我修复材料层中,另外,自我修复可以由外部施加的热、光、电流或其他类型的外部刺激启动或加速。