众所周知,iPhone标配的数据线应该是所有配件中最容易坏的,特别是特别是Lightning接口部分的异常脆弱,由于数据线采用的环保材质,导致损耗也特别快。用户在使用没多久后就容易开裂,就像这样:

相信很多不少用户到遇到过这样的问题,轻微的影响美观,严重的数据线就直接不能用了。可能确实是太多用户反应了这一问题,苹果终于要改进标配数据线设计了。
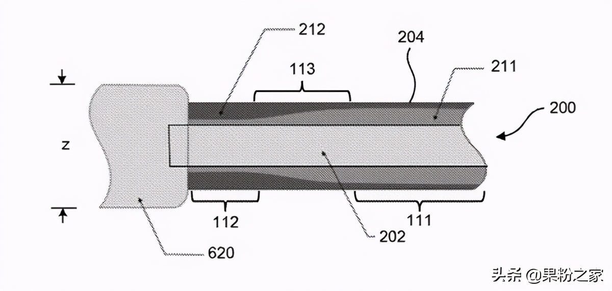
外媒appleinsider报道,为了提高数据线寿命,苹果最新公开的一项专利展现了数据线开裂问题的解决办法。
专利显示,苹果将使用强度更高的材料来覆盖数据线末端,这种材料慢慢由厚变薄,将使数据线拥有更好的更柔韧性。这种方法既能保证数据线末端的强度,还不会影响到美观。

专利还显示:“导线强度越高,弯曲半径也会增加,最小弯曲半径可能是电缆直径的 8-12 倍。”显然数据线末端使用增强材料,会使其更加不容易弯折,从而减少损坏概率,提高使用寿命。
早在iPhone 12发布之前,就有爆料称苹果将使用全新的编织线材质来取代原始数据线。

不过在iPhone 12发布后,我们看到包装盒里标配的数据线材质依旧跟之前数据线材质是一样,不知道在今年的iPhone 12s上,是否会做出改变呢?已经买了新iPhone12果粉们,如果手上的旧手机是不是想卖掉但又不知道卖多少钱呢?不用担心,您关注:果粉之家,我们将在线为您估价!
当然,除去数据线本身材质问题,数据线的寿命跟用户平常的使用习惯也是有很大关系的。比如Lightning接口部分经常长时间弯折的话,就会加剧线体开裂速度。因此,我们在日常使用数据线充电时,注意不要让接口部分长时间弯折。
此外,我们在插拔数据线的时候也要注意,不要直接拉线体,这一操作也会容易因此数据线接头胶圈这个位置就会产生鼓包,到达一定程度后就破裂了。正确的使用方法是手握住接头的位置,再插拔数据线。

注意:正确的使用方法,能使数据线寿命延长不少。