当今社会,能源和环境问题越来越突出,地球产生温室效应也越来越明显。之前常见的R22、R410A、R407C制冷剂的GWP(物质产生温室效应的指数)较高,属非环保制冷剂,对气候有一定的破坏作用。国际环保公约规定,2030年前我国必须完成非环保制冷剂的淘汰,GWP值较低的新环保冷媒R32、R290将成为行业的新宠。


I I I 连接管的拆卸 I I I
由于该类空调室内侧的连接管不可直接拆卸,如需对室内机系统进行维修时,则要破坏防拆卸螺母,具体操作步骤如下:
1)先对冷媒进行回收,这时需在上电后关闭大小阀芯.
2)在大小连接管上,找到距离防拆卸螺母15cm位置,用割刀将其割断,如图1所示。由于割刀无法360度旋转,实际操作时需用手左右晃动连接管,从而将其分离并拆卸下来。

图1
3)分离开连接管后,须立即用胶带裹住大小连接管及蒸发器接管的管口,以防止灰尘进入,如图2所示。最后对室内机、蒸发器进行拆卸、检修或对漏点补焊。为安全起见,建议将室内机运回维修部进行检修。

图2
I I I 维修后的二次安装 I I I
1)安装连接管时,需预留防拆卸螺母配件的焊接位置,并去掉不规则椭圆部分的铜管,如图3所示。

如图3
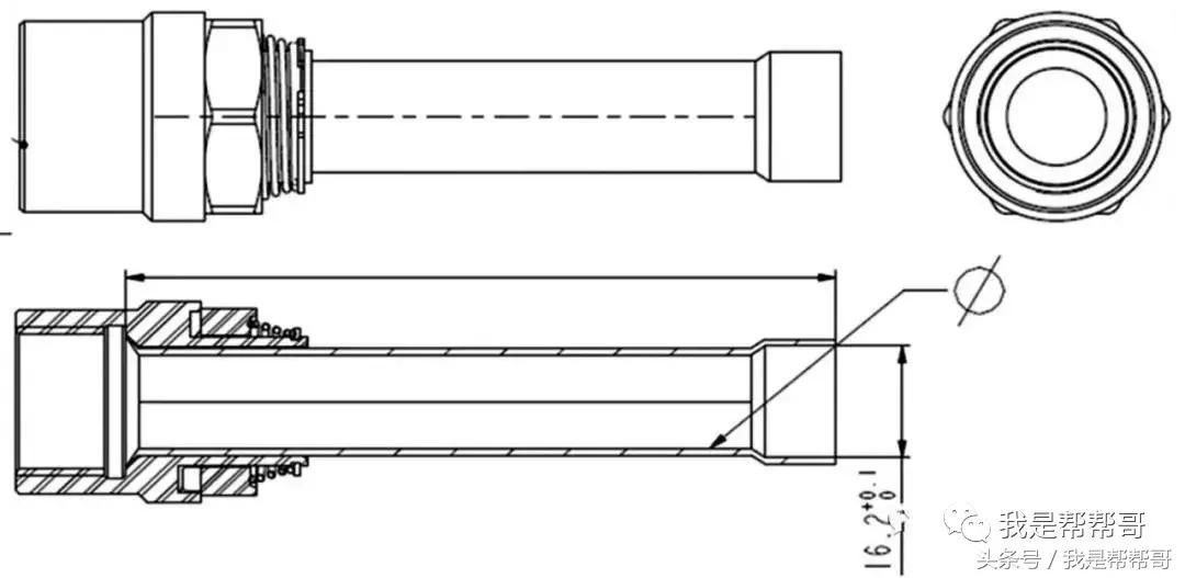
2)清理干净喇叭口处的毛刺,并在连接管上焊接好新防拆卸螺母。防拆卸螺母的尺寸如图4所示。

图4
3)割断蒸发器所带铜管的大小接头,清理干净喇叭口上毛刺,焊接新接头。
4)将连接管与室内机对接,并用扳手紧固大小连接管。
5)抽真空、保压,打开大小阀芯,紧固后盖螺母,最后装上阀门提手,如图5所示。

提示:
1、制冷剂R32具有一定的可燃性,对其管道进行焊接时,操作点2m内严禁有可燃物。
2、该类空调的室内机安装有防拆卸螺母,若需拆走室内机进行检修,则需割断连接管,同时做好防尘、防水保护措施。
3、二次安装时,为避免烧坏室内机部件,需在室内机端连接管上先焊接好防拆卸螺母,再进行对接。
4、由于采用R32的空调管道压力比采用R410A的空调略高,加长管需采用质量较好的铜管,严禁采用市场上的劣质连接管。