作者:薄荷巧克力喵喵
记得刚遇见大妈的时候,大妈的原创分类还有“经验”子类,于是没有太多时间薅羊毛抢便宜的本喵,最爱的就是默默潜水各大神的经验贴。感谢众大神的科普,我才渐渐搞清楚了洗衣机滚筒和波轮的区别,电冰箱风冷和直冷的优缺……受了大妈的教导,也想谈谈自己的使用经验,希望能为值友们提供一些参考
事先说明,本喵买家电的时候,还不认识大妈,,,这真是一个悲伤的故事
脑洞
还是在即将步入2014年的那个深冬(好遥远!没想到这个型号现在还有的卖!),硬装已基本完工,家电采购提上了日程。当时选冰箱的思路大约是:尺寸-->外观-->品牌-->容量-->冷却模式。
尺寸
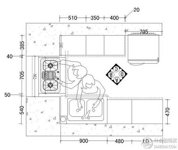
由于典型蜗居,厨房属于基本转不开身的大小,而我又有大量的厨房用品需要收纳,厨房的各个角落基本都精确到了厘米去做考量,冰箱的尺寸自然受到了很大的限制。什么两门宽门的、对开门的就别想了。朋友推荐了松下多开门的,看了尺寸也并不够,所以就只剩普通的双门的和三门的可选了。还得确保冰箱门能打开,对冰箱深度的限制可以说是最大的(后面放平面图)。
外观
。。。是的!紧随其后的是外观我的装修基本照抄宜家样板间,整体色调偏小清新,家具都是白色,所以冰箱首选白色。白色具体也要看,感觉容易渍脏的、容易变黄的也不要。如果实在挑不到,次选是不锈钢色。其他的就不考虑了。在海选期间,三星有款白色玻璃面板荷花图案的,有点美到我(是的,具体啥也没问,就是看了外观很想要),但出于对棒子货的不信任感,自我刹车了。
品牌
也想买西门子、博世,结果符合尺寸的,西门子那款门板感觉不耐脏,博冠那款容量(特别是冷冻室)又偏小,棒子货不想买,,,要不就买个海尔吧,然而只有一款不锈钢色的还比较合审美,但是人家想要白的啊。。。
容量
当年好像是三门冰箱刚兴起,卖的很火。但我发现,同样的外部尺寸,三门容量要比双门小,我老家160cm不到的老双门冰箱还有260L,但新出的170cm+的三门容量却往往只有230L。当然还是容量更大点能装一点更好,怎么也不能比老家那个小很多吧,我们这种没时间买菜的懒人,小了不够装啊:(
冷却模式
鉴于绝对懒的除霜,基本锁定风冷,当时风冷也挺普遍的了。
。。。有没有发现至此压缩机啊啥的完全没考虑,,,主要我老家的97新飞用了17年依然硬朗,我一直以为冰箱是个特别皮实的东西。
剁手
就在逛了两次电器城完全无成果的时候,忽然翻到了奈奈子的《两人一猫一世界》,,,虽然文里那个冰箱是绝对超预算也绝对超尺寸的,不过可以去看看BEKO这个牌子嘛~~ 之前只逛了五星和苏宁,BEKO只在国美有的卖。
下图是NANAKO家的BEKO大宽门。我去逛的时候这款应该没有了,但是相似款式也是美的冒泡泡,表面有点皮质一般的纹理,简直就是逼格爆表!!。。。可惜这种带纹理的面板现在似乎没的卖了,,,(确实也有点易卡渍的担忧啦)

到店一看,果然就是我(外貌*党**)的菜,,,虽然是没怎么听说的牌子。。。恰巧元旦家庭聚会,发现表哥家用的就是BEKO对开门,还顺便被种了点草,,,第二天就拖着老爸老妈再杀向五星请他们把关,然后老爸说,“满恩正的(材料厚实)”,然后就冰洗一起买了。。。
插曲
本来为了安全起见,想选另一款尺寸小一号的型号,又不甘心,还是直接下了CNE30220GW的单,在提货之前一直都在惴惴不安,怕到时候尺寸不够冷冻室门无法全开抽屉抽不出来,,,预留的尺寸基本是极限尺寸。。。就这么纠结了好几个月。。。
以下就是我那改了N遍的厨房平面图,把部分台面的空间挤给冰箱了(下图冰箱尺寸并非实物尺寸),,,请大妈的土豪勿喷俺的蜗居

最终RP未负,门能打开(,,,要求还真不高),最终的入户效果是这样的,就这两天拍的照。(话说冰箱顶上最好不要堆东西啦,,,但是一时找不到烤箱能放的位置)

亮点
外貌*党**当然要说外貌
看,虽然是白色,但是比起烤漆白,我更喜欢带珠光闪粉效果的白,雅致!这就是我的菜玻璃门板唯一的不足是不能吸冰箱贴,不过开关门会加大冰箱贴掉落的几率,留白也挺好,清爽。

蓝光养鲜技术
果蔬盒后方有蓝色的光射出,,,据称470nm波长的蓝光有助于叶绿素的吸收,使冰箱内的果蔬继续进行光合作用,保证新鲜与营养。请不要吐槽我把咸鸭蛋放进带蓝光的果蔬盒,,,为冷冻室腾空间,就这么顺手丢进去了

这蓝色光一照未来感好足,,,究竟是不是如传说中一般呢?
爱多肉爱播种的亲们可能买过植物补光灯吧,比较常见的就是那种红蓝灯,是的,此蓝即彼蓝!理论上,蓝光有利于叶绿体的发育,能提高多种植物的叶绿素a含量!



至于实践下来效果如何呢?,,,这个,,,因为我都是尽可能快速的把冰箱里的果蔬吃掉了啦!所以并没有什么惊人的发现,咳咳。以后如果得闲了,可以考虑做做实验~ 话说总觉得现在的果蔬不知道是做了品种改良呢还是喷了药了,特别不容易坏啊,,,我老爸说他小时候的西红柿摘下来隔一夜就烂了,,,但是现在的西红柿放半个月依然坚挺啊!细思极恐!,,,说到西红柿,还是等到当季的西红柿味道才好哦,反季节的好难吃!不买!
宽幅变温区
BEKO冰箱的一大卖点是-24℃~+10℃的宽幅变温,就是中间那层(两个抽屉)。虽然我这种懒人呢,不可能一天到晚变来变去,不过有个变温区真的是很实用的!到了过年过节,被爹妈塞了一大堆肉肉肉的时候,就可以扩大冷冻室了!
另外BEKO还提出了“主食存放区”的概念——宽幅变温室中配有储米盒。据说五谷的最佳储存温度是10℃,所以,在春末到秋初这段时间里,将大米等各类谷物放入冰箱变温室并设置为大米储藏是个不错的选择,可以有效避免霉变和生虫。
至于讲究生活品质的亲们,还可以发挥更多效用啦!


用料厚实
BEKO冰箱的材质,摸在手里有种厚实的感觉,施力后变形很小,就是这点赢得了出资人的认可
下图的对比物是水果5s与储米盒,厚度还可以波?不过其实用不到这个储米盒,倒谷物不太方便,我都是自己另外买的谷物收纳盒

无霜
因为有朋友买了风冷冰箱(海尔)后发现还是有霜,所以在这边也讲下,我这台使用至今是没有霜的。
要注意的是,下图箭头处施温度传感器,不要把食物紧贴着传感器放。现在回忆起来,我那朋友的冰箱塞的无比之满,可能出霜是操作不当的引起的吧。
PS:冷藏室本来有2个隔板的,但是我经常把锅直接放进去,所以抽掉了一层。

以下为错误示范:

节省空间
前文也说到了本喵厨房的规划要精确到厘米(甚至更小),所以选择这款冰箱还有一个重要因素是,散热器在背部下方,两侧几乎没什么距离要求,可以靠着橱柜摆放,据店员讲,是可以做成嵌入式的(说明书上的说法是如并排安装两台冰箱,至少间隔2cm)。出于节能考虑,后部面板需与墙壁间保持8cm以上间隙,去掉插头与电线自身所占空间,也差不多。
关门提示音
超过一分钟不关门,就会发出“嘀嘀嘀”的报警音,我自己觉得还是挺有用的,我家先生经常拿个东西思前想后很久,有了报警音会督促他迅速行动。门本身倒是挺容易关的,拍了个小视频,大约到10-15°的时候会感受到阻尼,这时稍用大力,门都是可以被牢牢关上的。
至于其他什么双循环啦、离子发生器除菌啦、多风道送风啦、快速冷冻啦……也不是什么新鲜事物了,就不细说了。。。
槽点
诡异的搁架设计
请看下图右下方小鸡鸡所在位置,,,这高达47cm的空间到底是想让我放点啥??!!上部的空间完全被浪费了啦!!浪费的都是银子啊!!!我看这款型号(以及升级版)后来这个地方都改进了,第二层贯通整层了。。。求广大值友们帮科普,是不是歪果仁常用到如此长长长的包装盒。
至于放鸡蛋的地方好像本来就是鸡蛋架,配件里有一个尺寸匹配的蛋托,,,然而蛋托只有6个位是什么鬼!谁一次只买6个蛋啊。。。

声音比想象中大
风冷果然是有风声的!!达不到噪音的程度,不过比想象中声音要大一些,不像电机的声音,应该就是风扇转动的声音,我一开始还以为是不是机器有问题,明明是更贵的冰箱,为什么并不静音,后来到其他朋友家听了一圈,发现我这台声音也不算大了啦,风冷就是这幅样子(摊手)。另外频繁使用后因为工作强度大,声音也会大一些,如果好一阵子不打开,那几乎就没什么声音,例如吃饭的时候觉得声音明显比刚回家的时候响。用APP(哇咔测噪)简单测了下,大概是39-44分贝。
细节有点那个~
冰箱使用一年半来,唯一出过一次问题,大约是使用2个月的时候,变温室的门忽然变的很紧,要用很大力才能关上,并且在关上时发出“咔”的一声!当时刚发现声音偏大,内心很不安以为买到残次品,又来了这么一遭,心情down的不行,立刻打了客服电话质问一番,售后倒是第二天就上门了(全程无费用),他看了几眼,,,然后用螺丝刀在铰链的地方锉了两下,说可以了。当时我的表情是这样的↓

,,,,,,售后的师傅说没啥问题,就是铰链有点紧,锉松一点就行,,,好像就是这个地方↓

异味过滤器应该只是个噱头吧?
说明书上说这个异味过滤器一年至少要日晒一天什么的,然而这只是一块小小的碳条吧。。。虽然说活性炭什么的温度越低吸附能力越强(到底峰值是什么也不知道),但似乎也很容易饱和,,,主要是家里冰箱里的东西流动性还不错,也不太存放异味大的东西,所以我一直很怀疑这个过滤器还蛮噱头的。

总而言之,自从挨了一锉后,相安无事的使用至今,也算是可喜可贺,希望能顺顺利利的用久一些。
最后附两个彩蛋~
冰箱贴秀秀
出去玩总想带些特产,然而家中地方有限,占地方的东西一般不敢买,而冰箱贴算是必备的到此一游纪念品吧(尽管都是made in China),要好的朋友也有此习惯,于是出行归来将冰箱贴作为伴手礼也成了固定项目。

这是跌落的断头小美人鱼

科学果蔬存储
虽然冰箱是现代家庭的必备电器,然而你真的会用冰箱么?,,,网传的科学冰箱使用法如下,,,然而我觉得部分仍需讨论,,仅供参考,,并非指导!




错误一:将所有蔬菜水果洗干净之后存放
果蔬带水会非常容易滋生细菌,尤其是一些菜叶类的绿色蔬菜,容易腐烂和变质。所以不要清洗干净再放冰箱保存,正确的做法建议大家直接分好类将水果和蔬菜整齐的放在冰箱里面保存即可。
错误二:所有水果蔬菜混放在一起保存
不同的水果和蔬菜对于冷藏保存的环境是有要求的,最好要保持一定的距离才能让水果和蔬菜有充分的存放空间和安全的环境。如果将具有催熟效果的水果和蔬菜放在一起那么就会加快腐败,所以最好将所有的水果蔬菜分类包装好,进行分开区域保存。
错误三:让蔬菜水果的保存环境完全真空密封
将果蔬完全的密封保存不仅没有让果蔬有好的存放环境,反而让果蔬失去了呼吸的空间,造成果蔬的加速腐败,所以建议大家保存之前一定要将保鲜膜扎几个透气孔,保证存放空间的通风性。
啊~忽然又想到一点!
这款冰箱标明的是2级能耗(当年1级的还比较少,现在应该已经普遍了)。不过声明的能耗值是在拆卸了冷冻室搁架或抽屉,并在放入最大数量的事物后确定的,也就是说一般使用能耗较标示更低。说到能耗,在写这篇原创的时候忽而发现13年时BEKO冰箱也闹过电量和能耗指数不合格的风波,然而很快又出了检测合格的新闻,这其中的是是非非作为局外人只能是雾里看花,不过可见BEKO的危机公关倒是还算有所作为就是了。
应小编要求,,,加上链接
本帖这款主流电商暂时没售了,放个最新的三门款285L(非活动价比较扯。。。)
BEKO/倍科 CNE34230GW 三门电冰箱
顺便放个近期的活动款
BEKO冰箱GNE163121
恩!今天的分享就到这里啦~欢迎一起讨论!如想喷,,,请温柔些