结合国外知名媒体appleinsider分享的信息我们可以知道的是,全球知名的科技大厂苹果公司,现阶段不仅在紧锣密鼓的研发iPhone手机与全新的AR眼镜产品,而且还在旗下可穿戴智能设备Apple Watch方面着手构思着新的设计,据悉,苹果公司现阶段公布了一项旗下的最新专利,且显示该公司正在尝试如何将Apple Watch内部的电池加入移动功能,以实现让手表为我们带来震动反馈的效果。这项专利设计构思的全名叫做带有移动电池原件的触觉设备的便携式电子设备。

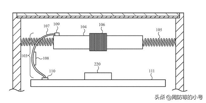
在专利中苹果公司表明,电子设备包含着一个或者是多个用于提供输入的按钮或者是机电开关。其中有一部分设备有着用来接受输入的触摸传感器或者是触摸显示面板。但是触摸传感器往往会缺少机械反馈来同时用户,比如告诉我们输入的信息已经被响应。所以针对这一问题,苹果公司便申请了这项专利。保证移动其他电池原件,来实现设备产生脉冲或震动的反馈信息。结合专利设计图我们便不难看出,这项设计是依靠于电池在弹簧之间的震动,来产生触感反馈的效果。不过我们现阶段还尚不得而知这项专利的触感反馈级别。

就现阶段来说,Apple Watch系列智能手表产品采用的都是触觉引擎来实现的触感反馈体验。虽然可以用,但是这种设计将会占用Apple Watch手表内部的非常大一部分的空间。但是如果将触觉引擎换做是这种专利中的设计构思,以电池移动来产生触感反馈效果,那么今后全新的Apple Watch系列手表很有可能将会加入更多的实用功能,或者大幅度提升其续航能力。那么对于这件事,大家又是怎么看的呢?至此,我们明天见。
