
天涯社区是中国最大的综合性社区之一,拥有数千万的用户和海量的信息,曾经是网民们进行交流和分享的热门平台,诞生了许多在今天看来也足以称得上经典的帖子。
然而,在最近几天,网友们纷纷发现无法访问天涯社区,引发了一阵怀念的热潮。

天涯社区官网无法打开
4月25日,有网友发现天涯社区官网已无法打开,相关页面显示 “无法访问此网站” 。截至目前,该网站仍然无法打开。

此前,天涯社区官方微博在4月1日发布公告称,近期将进行技术升级和数据重构,在此期间平台将无法访问,“请大家耐心等待”。

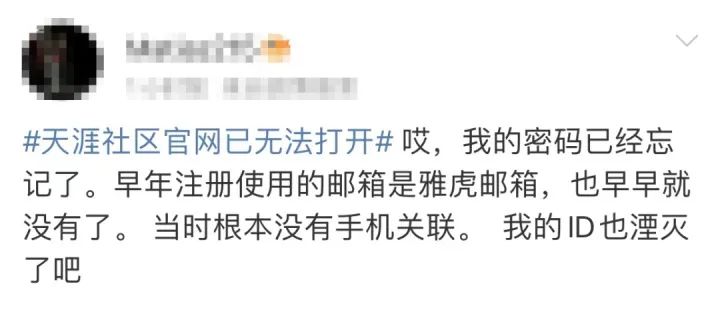
虽然官网不能打开,但天涯社区官方微博仍在积极“营业”。网友在其发布的数条消息下留言询问:“天涯社区打不开了,怎么回事?”“真服了,一个月了快,也没有句痛快话。”“都不解释一下?”
截至发稿,天涯社区官方微博尚未就此事发布任何声明。
在发现天涯社区无法正常打开后,网友在社交平台上掀起“悼念潮”:天涯关了,咫尺天涯,永不再见。


公开资料显示,天涯社区创立于1999年,隶属天涯社区网络科技股份有限公司,是一个全球华人网络社区平台, 不仅是《鬼吹灯》《明朝那些事》等知名小说的诞生地,还曾捧红不少网络红人 。
天涯社区在成立以来,一直都扮演着非常重要的角色。它是一个非常开放的社区,让网友可以畅所欲言,分享自己的观点和经历。在这里,人们可以谈论各种话题,包括社会、文化、娱乐、情感等等。许多网友在天涯上结识了好友、分享了快乐和悲伤,甚至还有人在这里找到了自己的伴侣。因此,天涯社区对于很多人来说,已经不仅仅是一个网站,更是一段珍贵的回忆。

曾是最大中文互联网社区
据重庆晨报报道,上世纪90年代是中国互联网BBS论坛的年代,水木清华、猫扑、天涯、搜狐论坛、新浪论坛相继面世。天涯社区网络科技股份有限公司1999年刚成立时,注册资本就为9300万元。彼时,阿里刚刚创建,而腾讯也不过成立一年。
根据天涯披露数据,2003年,天涯已有300万注册用户,日访问量在2000万左右。当时,中文互联网网民只有7950万人。
2005年7月,IDG资本、清科创投、大唐发控对天涯进行了A轮融资,融资规模数百万美元。不久,清科创投、联想控股、Google、君联资本又发起了数千万美元的B轮融资,其中谷歌出资100万美元认购天涯控股6.67%的股份。
但在融资之后,天涯的上市之路却没那么容易。经历了回购谷歌持股,创业板上市门槛提高,直到2015年天涯才终于挂牌新三板。
在移动互联网兴起之前,作为最大中文互联网社区的天涯,注册用户超过1.3亿,月覆盖用户超过2.5亿。
但2010年以后,微博、微信等新社交平台的兴起,对天涯社区打击很大。精英大V和草根用户均转移到新的平台,天涯再也不是话题制造中心。
天涯并非没有尝试过移动互联网化。在挂牌新三板时公布的“公开转让说明书”中透露,公司将“推出天涯社区移动网页版,天涯社区(微论)客户端、天涯日报客户端、天涯客旅游客户端4款产品,并通过站内推广、站外推广、用户自推广三种方式不断增加移动端产品装机量和独立到访用户数量”。
但很明显,天涯的移动端转型并不成功,和其一起的一批老牌社交论坛也逐渐走向没落。如今,提起天涯社区,相当一部分年轻网民甚至不知道是什么。
2019年4月,停牌两年之久的天涯在新三板正式被摘牌,后平台因违规收集用户个人信息被工信部下架。
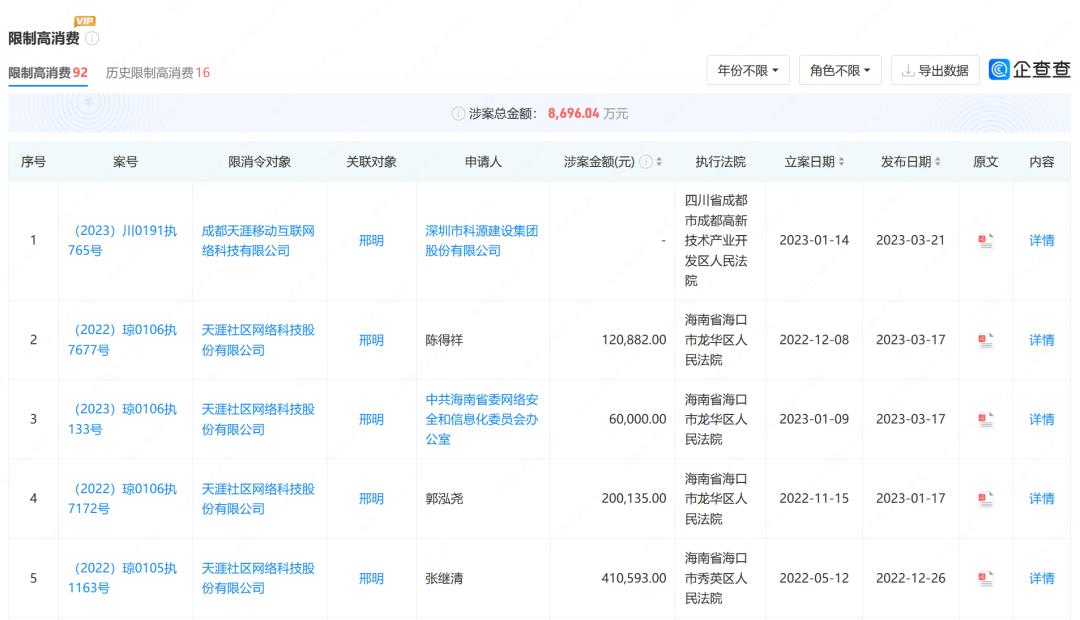
据企查查风险信息显示, 目前天涯社区网络科技股份有限公司存在6条被执行人信息,累计执行标的超1.46亿元 。

同时,天涯社区创始人邢明还存在数十条限制消费令。此外,该公司还涉及数百个案件,案由包括名誉权纠纷、侵害作品信息网络传播权纠纷等。

本文素材来源:每日经济新闻综合天涯社区官网、企查查、重庆晨报、公开资料