如何转型新零售?
举步维艰的中小连锁药店
医改政策的频频变化
医保处方药4+7带量采购的推广,部分顾客回流到医院买药。
药店分级逐步推行,对药店的软硬件要求不断提升。
市场、人才面临大连锁的激烈争夺
有利润的品种越来越少了,人工费、租金又不断攀升。突如其来的新冠肺炎疫情,对中小连锁药店来说,2020年真的举步维艰。
按传统方式经营,无非就是"选地段开店""搞花样促销""精细化管理库存""优化人员绩效"等,这些已经无法成为在2020年的生存的基础。
伴随着互联网及电商的快速发展,购药习惯已经逐步迁移到线上、O2O等渠道。
疫情发生后,国家鼓励互联网医疗的发展,并且将逐步放开线上医保支付通道,也将推动"线上问诊、线上开方、线上购药",加速购药行为的在线化。
"互联网+"疫情下的突围战役
传统零售药店生存举步维艰,若想*局破**,借力互联网必不可少。尤其是肺炎疫情下的"无接触式"销售服务,更加刺激了新零售医药的大发展。
东莞市仁正医药有限公司(以下简称"东莞仁正医药")作为一家大型零售医药连锁企业,便早已瞄准了互联网下的新零售市场。借助线上平台引流,带量采购,再推广到医保药店,医院0加成,将倒逼处方外流,进而打通互联网医院的处方共享平台,这对医保药店来说无疑是一个红利。突围战役一炮打响。
新零售模式的创新框架

如何构建新零售?
(1)、需要关注图上方的"变量",围绕这些变量进行布局,重构业务模式和服务。
(2)、需要引入图下方的"多维度",构建新的维度来应对市场竞争。
(3)、需要关注图右方的"新数字化基础设施",以效率来赢得竞争。
佳易科技为新零售开出的信息化"处方"

针对第三方平台的新零售:布局天猫、京东、拼多多等第三方B2C平台。
针对第三方o2o的新零售:布局阿里健康、美团、饿了么等第三方o2o平台。
针对处方外流的新零售:构建自建B2C去对接互联网医院、线上医保支付。
针对线下药店与线下门诊的互相引流:构建自建的移动医疗和B2C,实现相互往线上引流。
针对无人购药机的布局:构建物联网平台,布局无人购药机。
针对第三方平台的引流:构建自建新零售中台,承接第三方平台的会员的"复购"并引流。
针对线下会员的引流:构建自建B2C,并构建完善的慢病服务、店员分销模式等。
针对线下店员资源的利用效率:构建自建o2o平台,既可以弥补骑手资源的不足,也可预防骑手费用飙升时对毛利的损耗。并可以"任务调度"来实现对店员的工作效率的提升和绩效考核维度的丰富。
东莞仁正连锁的新零售信息系统
核心系统:时空ERP+千手接口平台
1、千手接口平台带来的价值
互联网上的各种B端、C端的电商平台种类繁多,加上自建的B2B、B2C商城系统,企业要维护的商品资料、库存数据、采购商名录,以及货物配送的物流信息,工作量成倍增长。
所以,为解决效率的问题,企业往往会借助数据接口,来打通供应链系统与各电商平台的数据对接。也就是说,供应链系统是企业的核心所在。
但是,随着企业入驻的电商平台越来越多,不同平台与ERP系统之间的接口程序、接口协议都不相同,也直接导致信息部人员的维护工作量也就越来越重。

千手接口平台,交付了阿里接口、天猫接口、拼多多接口、京东接口、药房网接口、快递接口。以云上平台化接口管理界面,一统所有类型数据接口,有效为信息管理员减负。
千手接口平台让多个平台共用一个ERP接口,将各种B端、C端等三方平台的所有接口都"融合"到一起,减少数据同步的重复传输,从根本上解决了各种接口并存的矛盾。
2、时空ERP带来的价值:构建高效的一体化流程
(1)一键同步商品库存与套餐组合
时空ERP的商品库存将通过一套SKU码实现对应关系,在平台接口、线上商城带出ERP商品库存。

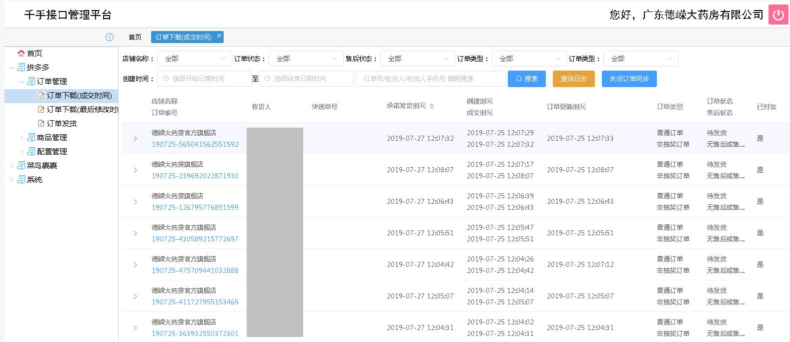
(2)电商订单自动*载下**
接口平台每1分钟自动*载下**电商平台上订单,并同步获取订单明细数据,支持过滤条件检索订单。

(3)ERP按波次取号
时空ERP按趟提取电商订单后,自动生成波次号,记录每一趟电商订单拣货的波次。

(按波次拣货)

(电商波次号查询)
(4)电商订单批量记账
ERP提取电商订单后,可批量全选完成记账。单据来源、单据明细清晰可查。

(5)电商订单缺货品种查询
电商订单缺货的品种、缺货数量、需补足库存数量、关联的电商平台,可快速查询。


关于东莞仁正医药
东莞市仁正医药有限公司立于2009年,注册资金1000万元,是一家经国家《药品经营质量管理规范》(GSP)认证合格的民营药品零售连锁企业,在东莞地区拥有300多家门店,主要业务遍布万江、莞城、寮步等32个镇(街道);连锁总部仓储面积达5000平米,经营品种包括中药材、中成药、中药饮片、处方药、非处方药、保健食品等一系列产品。
公司拥有一支具备医药学专业背景的高素质营销推广团队,专业致力于医药产品的营销与推广,并不断引进国内外优秀的医药品种,结成战略性合作伙伴。

