
券业行家,事实说话。
欢迎留言,如果认同,请传播正能量。
在 “活下去”的寒流中,地处关外的东北证券,今日的涨停显得格外醒目。而这家刚刚发布中报的券商,不止一起的“无证经营”事件,让行家颇有些在意。
无证开业
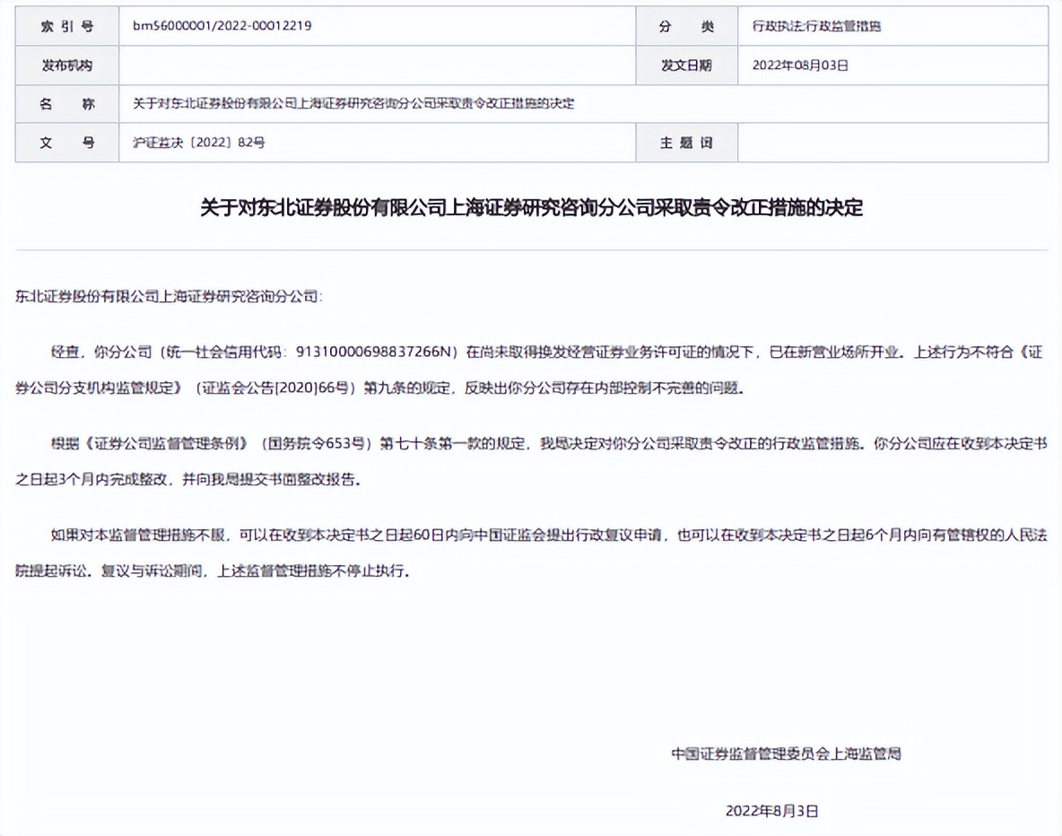
本月月初,上海证监局曾公开点名东北证券股份有限公司上海证券研究咨询分公司(简称:东北证券研究咨询分公司)。原因是其在尚未取得换发经营证券业务许可证的情况下,已在新营业场所开业。

工商变更记录显示,2021年6月,东北证券研究咨询分公司的经营场所由位于浦东新区的“杨高南路729号1号楼第16、17层”,变更为“杨高南路799号第10层”。

从地图上看,两地实际上位于同一街区,步行仅有300米。

如果监管处罚针对的是这次近距离的“搬家”。是否有这样的可能,东北证券在百忙之中,忘记换证呢?
奈何,监管方面并不这么认为。
上海证监局指出,东北证券研究咨询分公司上述行为不符合《证券公司分支机构监管规定》(证监会公告[2020]66号)第九条的规定,反映出分公司存在内部控制不完善的问题。
为此,上海证监局对东北证券研究咨询分公司采取责令改正的行政监管措施。限期三个月完成整改,并提交书面整改报告。
东北证券表示,收到上述监管函件后,公司已启动整改和问责工作,将严格按照监管要求完成整改。
并非个例
话说,东北证券旗下分支机构因“换证”出现问题,其实并非个例。
2022年3月,天津证监局下发的津证监措施[2022]10号“罚单”指出,东北证券公司天津分公司存在三项违规行为:
一是新营业场所开业前,未按规定申请换发《经营证券期货业务许可证》;
二是不具备基金从业资格人员违规参与基金销售活动;
三是参与基金销售的人员承担与基金销售活动有利益冲突的岗位职责。
为此,天津证监局对东北证券天津分公司予以监管警示。
东北证券同样表示,已及时启动整改和问责工作,将通过加强对营业网点监督检查及培训等措施,提升工作人员合规意识,有效落实法律法规相关要求。
两份罚单相继而来,东北证券旗下的分公司和营业部,是否普遍存在这样的情况呢?
研究实力
行家查询发现,东北证券研究咨询分公司的前身是成立于2001年的“金融与产业研究所”。自2009年正式成立以来,这家分公司的参保人员稳步上升,目前已有154名人员。
中证协信息显示,东北证券现有53名分析师,人员配置方面颇为充裕,研究实力不容小觑。
2022年上半年,东北证券研究咨询业务着力提高公募分仓佣金收入市占率和大型机构覆盖率,加强对国内核心资产的定价能力。对外服务方面,及时研判宏观环境和疫情影响,提升线上服务能力,增加客户数量,改善客户结构,提升非公募佣金收入;对内协作方面,通过举办会议和交流论坛等方式积极创建业务部门与机构客户间的交流机会,为公司财富管理转型提供智力与平台支持。报告期内,研究咨询分公司完成各类研究报告1,412篇,发布深度研究报告149篇;开展分析师、专家线上路演服务3,423次,通过线上直播和线下交流会的形式举办各类会议314场,客户数量同比增长38.97%。
值得一提的是,行家关注的《券商实习免费“套娃”》事件中,东北证券曾向当事人发过offer,但在获悉其存在不端行为后,主动解除了就业协议。
与多位研究人员点赞学历造假的“世界小姐”相比,东北证券在大是大非面前,称得上“耿直”。
中报业绩
刚刚出炉的中报显示,东北证券今年上半年营业收入24.03亿元,同比减少17.90%;归属于上市公司股东的净利润2.07亿元,同比减少70.61%。期末总资产为820.56亿元,较2021年末增加2.40%;归属于上市公司股东的所有者权益为180.18亿元,较2021年末减少0.15%。

据合并利润表,东北证券代理买卖证券业务收入5.61亿元,同比略降1.93%;受托客户资产管理业务净收入1.96亿元,同比增幅为100.37%;利息净收入为1.53亿元,同比飙涨173.17%;自营业务揽收1.08亿元,同比下降87.44%;投行业务揽收0.53亿元,同比下降63.09%。
分部数据显示,信用交易业务营业利润为3.88亿元,同比减少17.45%。证券经纪业务创利3.57亿元,同比减少0.16%。资产管理业务创利1.75亿元,同比激增123.10%。而投资银行业务和证券投资业务,营业利润分别下降84.63%和96.11%。

股价涨停
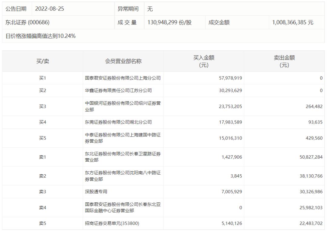
或许因为靴子落地,今日(2022年8月25日),东北证券强势涨停。

据深交所披露,东北证券因“涨幅偏离值达10.24%”而登上龙虎榜。其中,国泰君安深圳分公司和华鑫证券江苏分公司的单边买入金额分别高达5,798万元和3,029万元;而国泰君安长春东北亚国际金融中心营业部单边卖出金额为2,598万元。

今年以来的行情显示,东北证券的股价尚未回到年初水平。

免责声明:本文仅供信息分享,不构成对任何人的任何投资建议。投资者据此操作,风险自担。