阅读文章前辛苦您点下“关注”,方便讨论和分享,为了回馈您的支持,我将每日更新优质内容。

前言
废气涡轮增压器充分利用船舶辅机排烟热能,产生较高压力的增压空气,供给船舶辅机使用,以便起到减轻热负荷和提高承载负荷的目的。

而当废气涡轮增压器增压压力不足时,船舶辅机排烟温度将异常变高,热负荷超标,无法正常运行。增压压力不足的原因分为内部原因和外部原因,内部原因是增压器自身出现问题,外部原因是船舶辅机燃烧不好导致的问题。

涡轮增压器的设备基本信息辅机。厂家设备型号为6EY18;额定功率为550KW;额定转速为720RPM。废气涡轮增压器。厂家设备型号为MET18SRC。
增压压力不足的内部原因
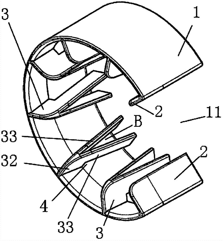
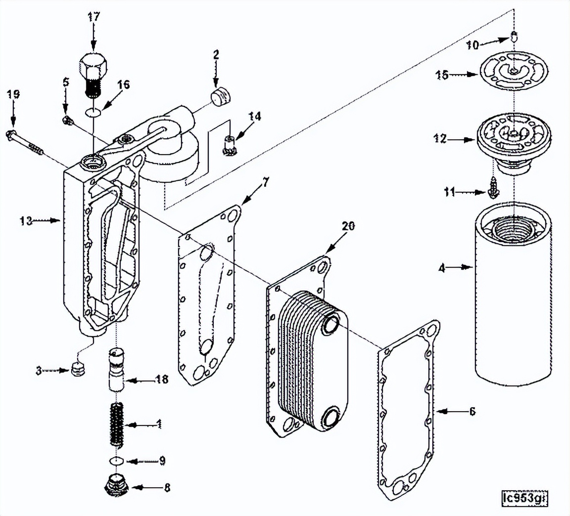
MET18SRC废气涡轮增压器由废气涡轮和压气机两部分组成,废气涡轮包括轴承基座、废气蜗壳、半开式喷嘴环、径流式废气叶轮等等;压气机包括进气滤器、消音器、离心式压气叶轮、扩压器、排气蜗壳等等。

与其他增压器相比,MET18SRC废气涡轮增压器采用半开式喷嘴环,而其他增压器采用整体式喷嘴环,由于结构形式不相同,增压压力不足的故障原因和对策也不一样。

当进气滤网严重污脏,进气节流,导致增压空气的流量和压力不足,采取对策是定期拆洗滤网;当压气机叶轮严重污脏,进气在高速转动叶轮的离心力作用下,其流动阻力和角度出现变化, 影响增压压力,另外,叶轮污脏后,重量增加,导致增压器转速降低,增压压力不足。

由于MET18SRC废气涡轮增压器没有配备压气端水洗装置,采取对策是解体废气涡轮增压器,对叶轮及其它污脏部件进行彻底清洁。

而当MET18SRC废气涡轮增压器的转子不灵活,转子的转速将下降,导致了增压压力不足,不能满足船舶辅机完全燃烧的要求,主要故障原因和对策如下。

首先我们知道MET18SRC废气涡轮增压器的转子轴为细长状,容易出现弯曲变形,导致转子轴转动不灵活。当拆装增压端叶轮的锁紧螺母时,禁止使用榔头敲击,避免由于过大冲击力导致轴扰度超标。

接着用测量轴扰度的方法将百分表安装在机体上,调零后逆时针旋转叶轮,观察表针读数变化。记录好数据。以便装复时使用。这个数据就是转子轴的轴挠度。
如果轴扰度超标,需要更换新转子轴。另外,转子轴转动卡滞的主要原因还可能是轴承安装不到位或者间隙过小、气封油封安装不到位或者间隙过小等等。

随后就是对压气叶轮和废气叶轮转动卡滞的处理方法。压气叶轮和废气叶轮转动卡滞的主要原因有相关间隙过小、安装不到位等等,需要重新测量间隙和重新安装。
当MET18SRC废气涡轮增压器的喷嘴环流道呈收缩状时,废气进入喷嘴环流道,部分热能和压力能转换为动能,如果喷嘴环和废气叶轮的流道出现严重结碳、腐蚀或变形,废气的流动阻力。

此时角度和通流面积均发生变化,转子驱动力矩将变小,导致了增压器转速降低,增压压力不足,另外,如果废气叶轮严重结碳,将增加其重量,导致增压器转速降低,增压压力不足。
为了改善这一状况,决定给MET18SRC废气涡轮增压器配置涡轮端水洗装置,采取的对策是每两天一次进行涡轮端水洗操作,在水蒸气作用下,喷嘴环和废气叶轮的大部分结碳将出现松脱,自动剥落。

当喷嘴环结碳严重,涡轮端水洗作用不明显时,需要解体废气涡轮增压器,彻底清洁喷嘴环和废气叶轮的结碳,如有腐蚀和变形严重的部件,需要换新处理。
如果MET18SRC废气涡轮增压器采用半开式喷嘴环,底端则安装在轴承基座的台阶上,通过上紧轴承基座的外圈螺丝,上端压装到废气蜗壳内侧。

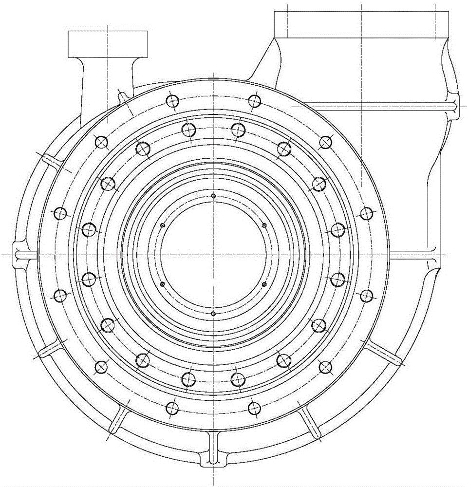
轴承基座与废气蜗壳有两组接触面,第一组接触面是由轴承基座端面台阶、软铁垫片和废气蜗壳外法兰端面组成的接触面,这组接触面要确保密封,防止废气漏出;第二组接触面是由轴承基座内侧、喷嘴环和废气蜗壳内侧组成的接触面。

安装时要确保第一组接触面有效接触和密封基础上,再确保第二组接触面有效接触, 如果喷嘴环表面和废气蜗壳内侧出现严重锈蚀或者变形,压紧后受限于第一组接触面限制。
第一组接触面处理完后,第二组接触面可能会留有缝隙(见图1),废气将从缝隙跑掉,废气漏气严重时,增压器转子的驱动力矩变小,导致转子转速降低,增压压力不足。采取对策如下。

在拆卸轴承基座和废气蜗壳之前,做好相对位置的马克标志,安装时按照马克标志定位和上紧螺丝,避免喷嘴环与废气蜗壳接触面不在原来位置,出现漏气严重的情况。
半开式喷嘴环长期在高温废气作用下容易变形,建议检修时不要把喷嘴环从轴承基座上拆除,以避免变形。

如果喷嘴环已经拆出并变形,可以通过在喷嘴环和废气蜗壳接触面上进行压铅丝检测,测量压紧铅丝厚度,如果每根铅丝的厚度几乎相同,说明变形的喷嘴环可继续使用,如果厚度差距很大,则需要换新喷嘴环。
清洁废气蜗壳时,注意不要破坏喷嘴环原来的接触面,避免安装后废气漏气严重的情况出现。

如果出现喷嘴环和废气蜗壳接触面压不紧,存有缝隙时,可以通过调整废气蜗壳和轴承基座之间的密封垫片厚度,使得喷嘴环压进去一些,确保可靠压紧,比如标准垫片的厚度为1mm,可以使用0.8mm、0.6mm、0.4mm厚度的垫片替代;并在进行间隙弥补。
增压压力不足的外部原因
内部原因讲完后,就再来讲一下外部原因,当船舶辅机燃烧不良时,将加速废气涡轮增压器喷嘴环和废气叶轮的结碳速率,导致转子的转速下降,增压压力不足。主要故障原因和对策如下。

船舶辅机长期低负荷运行时,气缸爆压较低,燃烧不够完全,废气涡轮增压器的喷嘴环和废气叶轮容易结碳,导致转子转速下降,增压压力不足。
采取对策是做好船舶辅机维修保养,保持其性能处于良好状态,改善低负荷燃烧质量,减缓排烟对喷嘴环和废气叶轮的污染速率,延长保养周期。

另外,摒弃负荷越低设备越安全的落后管理理念,尽可能避免船舶辅机长时间低负荷运行,除了船舶进出港、复杂航区和大风浪等需要开两台辅机以提供充足电力之外,其他时候,如果开一台船舶辅机满足用电需求,就不要开两台船舶辅机,避免辅机长时间低负荷运转。

此时船舶辅机燃料可使用轻油或者重油,为了节省成本,使用重油居多, 如果进机重油粘度过高,燃油雾化不好,将出现燃烧不完全和后燃现象,废气涡轮增压器的喷嘴环和废气叶片等部件将严重结碳, 转子的转速下降,使得增压压力不足。日常管理要点如下。

首先根据说明书要求,船舶辅机的进机燃油粘度为11-14mm2/s,由于进机管路没有安装粘度计,需要从粘温图查阅获得11-14mm2/s粘度对应的燃油温度,比如,180mm2/s重油,进机温度要求在120-130°C;380mm2/s重油,进机温度要求在135-145°C。见图2燃油粘温图。

一般情况下,燃油加热器通常安装在燃油供油单元,距离船舶辅机比较远。影响散热损失有三个方面,一是燃油管路的蒸汽伴热管;二是燃油管路的绝热包扎材料;三是燃油管路的燃油流量。

如果发现管路的散热损失较大,在确定蒸汽伴热管和绝热包扎情况都正常后,需要检查燃油流量,我们知道液体管路的散热损失与其流量成反比,流量越大,散热损失越小,可以通过调节三通阀、安全阀、背压阀等等阀门开度,达到增大燃油流量,减少燃油管路的散热损失的目的。

而加热器燃油温度就是进机燃油温度和管路损失温度之和,比如,船舶辅机说明书要求进机燃油粘度为11-14mm2/s,查阅粘温图得出380mm2/s重油对应的加热温度为135-145°C,如果管路散热损失了10°C,则重油加热器的加热油温为145-155℃。
接着船舶辅机空冷器芯子需要定期拆出清洗,清洗气面和水面,确保冷却后的空气温度在说明书要求范围内,防止气面污脏,导致空气流量不足,造成燃烧不良,加速废气涡轮增压器的污染速度。

不仅如此,船舶上的高压油泵也是不容忽视的一点,高压油泵的出油阀偶件上有密封锥面和减压环带,密封锥面作用是在停供油时,将高压油管与柱塞上端空腔隔绝,防止高压油管内的油倒流入喷油泵内。
减压环带作用是在出油阀下落时,减压环落座,管内增容减压,使喷油泵停油干脆,防止二次喷射和滴漏现象。

当高压油泵出油阀偶件长期使用后,因出油阀弹簧的作用力和油管中燃油的残余压力以及机械杂质的作用,出现出油阀偶件密封锥面、减压环带密封不良,从而造成降压作用减小。
如果高压油管内的燃油发生了往回漏油的情况,则会造成船舶辅机燃烧不良,废气涡轮增压器的喷嘴环和涡轮叶片等部件将严重结碳,转子的转速下降,使得增压压力降低。

采取对策一是定期检测出油阀偶件的密封性,常用的检测方法有直接观察法、密封性能试验法、就机检查等几种。二是失效的高压油泵出油阀及时换新。三是定期检查调整燃油喷油定时。
最后按照说明书上的保养周期进行保养,尽可能不要超期,如发现部件有问题时,宜尽早保养,确保船舶辅机燃烧完全。
结论
废气涡轮增压器充分利用船舶辅机排烟热能,产生较高压力的增压空气,供给船舶辅机使用,起到减轻热负荷和提高承载负荷的目的,通过本文介绍,掌握MET18SRC废气涡轮增压器增压压力的故障原因和对策,提高船舶辅机的安全性、经济性、可靠性。