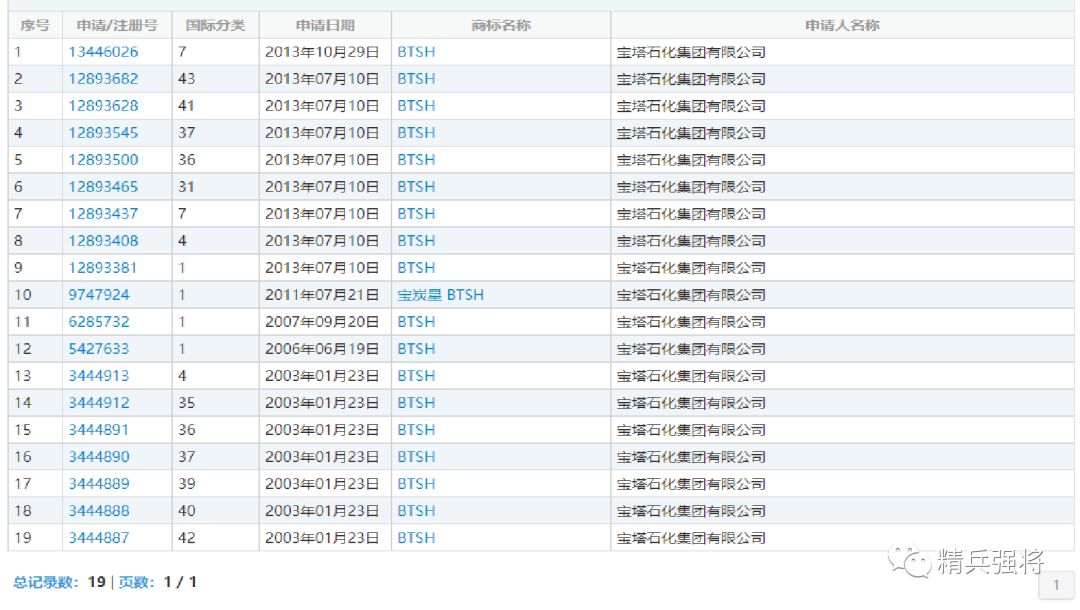
宝塔石化集团有限公司注册商标是“宝塔石化”吗?


NO,是“BTSH”!
“BTSH”不一定是“宝塔石化”四个汉字的首字母,只要以BTSH四个汉字首字母组合在一起的名字都可以表示为BTSH。
同时以BTSH缩写的任何英文名字都可以表示为“BTSH”。
当各种塑料制品、石油制品、油罐车上标上“BTSH”,别人不能知道他是宝塔石化集团有限公司的商标。若宝塔石化集团有限公司在产品上打上“宝塔石化”四个字就会引起商标侵权。
“宝塔石化”四个字能注册成商标吗?
我国商标法第八条规定:任何能够将自然人、法人或者其他组织的商品与他人的商品区别开的标志,包括文字、图形、字母、数字、三维标志、颜色组合、声音和气味等,以及上述要素的组合,均可以作为商标申请注册。
“能够将你的商品和别人的商品区分开的标志都可以叫做商标。”商标与品牌质量安全风险管理研究院刘治兵
宝塔石化集团有限公司
最早申请商标是2003年01月23日







有实力的企业都找“中国商标专利事务所有限公司”注册商标看来
“宝塔石化”四个字能注册成商标吗?




2019年10月29日15:30分*载下**

2019年11月28日19:28分截图

2019年12月6日12:57分截图

2019年12月7日8:00分截图
“宝塔石化”能申请商标注册为何宝塔石化集团有限公司当时没有申请注册?
一、宝塔石化集团有限公司方面
1、“BTSH”能够体现宝塔石化四个字吗?
2、宝塔石化集团有限公司当时担心“宝塔石化”不能够注册通过?
3、宝塔石化集团有限公司喜欢图作为商标?(这个商标整体就是一个图)
4、宝塔石化集团有限公司不太懂商标、不太懂得品牌。
二、中国商标专利事务所有限公司方面
1、商标代理公司有没有为宝塔石化集团提供建议
2、商标代理公司为何不建议将“BSTH”字母改成
“宝塔石化”汉字?
3、无论宝塔石化集团将“BTSH”改为汉字“宝塔石化”
还是不用图直接用汉字“宝塔石化”更直接体现宝塔石化名字。
一、宝塔石化集团有限公司方面
2019年10月29日21:35商标与品牌质量安全风险管理研究院院长刘治兵在组织11月份即将开始的《商标注册与品牌管理保护》课件时,正在准备商标和商标名称素材讲解内容时候在原来对宝塔石化案例的基础上深入研究时,突然发现了汉字“宝塔石化”第四类商标36024674号商标正在初步公告,离正式注册公告还有38天时间。
于是2019年10月30日上午商标与品牌质量安全风险管理研究院院长刘治兵通过网络、通过114、通过银川大学等等各种渠道、各种电话都无法联系到宝塔石化集团人员,于是17:00达到了宝塔石化总部找到了相关负责人王二小(化名)、曾国藩(化名)讲述了整个事情和处理方法,也留下了初审公告文件。经过几次沟通领导的回答是让等等,最后一次紧急事件沟通是12月5日回答的结果是让等,公司对商标事情缺乏重视度和正确的理解。


为正义出征,为合法经营者保护商标与品牌“涉水爬山”见证
2019年10月30日17:45分宁安大街金凤区下雨,没有电梯卡徒步到9楼。

2019年12月7日宝塔石化第4类商标正式注册公告,意味着宁夏宝塔石化集团再继续使用“宝塔石化”该商标已经涉嫌侵权。很是遗憾,本来完全可以帮助宝塔石化拿到这个商标,由于公司领导不够重视。至于将来侵权案件和法律官司该如何进行、还是高价赎回还是其他方法处理以后继续分享,先暂时就留在外面飘着。
这里视频

********************************************
商标注册与品牌咨询诊断首届宁夏学习研讨会
“商标注册与品牌咨询诊断首届宁夏学习研讨会”将于2019年12月13日(周五)13:30在银川市金香玉大酒店四楼会议室召开,欢迎各商家、企业参加。

商标是企业第一战略,也是企业第一产品,更是企业、产品立足于市场、区别于其他商品的重要标志。
没有商标企业产品与品牌无法得到有效的法律保护,商标侵权关系到企业多年的营销宣传推广、电视广告、报纸广告、网络广告、建立起来的人际口碑和品牌投入全部打了水漂;关系到企业更换产品包装、更改产品名称、更改店铺门头、被侵权起诉赔偿等;关系到企业有可能一日回到创业前,背负巨额负债,甚至影响家庭。
本次会议全面帮助商家、企业解决有关商标与品牌的如下问题:
- 如何给自己的商标起一个好名字
- 商标起名命名同产品、服务、项目之间的关系
- 个体工商户要不要注册商标
- 刚成立公司就注册商标还是等公司大了再注册商标
- 营业执照能不能当商标使用
- 营业执照与商标之间的法律关系
- 商标与个人、企业之间成功与失败的关系
- 商标日常使用与安全监管维护
- 随意叫的名字受不受法律保护及其侵权罚款
- 商标与品牌之间的关系
- 商标与LOGO之间的关系
- 店铺门头随意使用有没有罚款风险
- 已注册的商标有商标证书就一定安全吗?
- 有商标证书的商标就一定能够使用吗?
- 为何你申请商标容易被驳回
- 哪家便宜就在哪家注册商标真的对吗?
- 商标申请是结合产品进行全面规划、分析、审查、判断还是多提交几个随意提交几个那个注册下来就用哪个?
- 如何预防商标服务欺骗与欺诈事件发生
- 教你如何选择优质负责任的商标服务机构
- 经典案例解析(海生炒面、中阿兰牛肉面、大阅城、宝塔石化、宁夏钢铁集团、人民的名义、天子峪、单身狗粮等。)

---会议日程安排如下---
2019年12月13日 (周五)
13:00-13:45 签到入场
13:45-14:00 主持人介绍
14:00-14:30 商标起名及其注册申请注意事项
14:30-15:00 个体工商户、公司及其商标与LOGO
15:00-15:30 如何选择优质商标服务机构及其要素
15:30-16:00 商标疑难处理及其风险管理
16:00-16:10 中场休息
16:10-17:20 现场咨询诊断
17:20-17:40 典型疑难案件处理分享(海生炒面、中阿兰、宝塔石化、宁夏钢铁集团、人民的名义、天子峪、单身狗粮等)
刘治兵老师服务的企业:

好啊




中国炒面领导品牌——海生炒面品牌创始人宋明星董事长


中国牛肉面领导品牌——中阿兰品牌创始人包继军董事长

宁夏“豆腐大王”——兴豆缘品牌张桂红董事长

中国暖气驰名品牌——艾尼暖气

商标与品牌质量安全风险管理研究院院长刘治兵陪同银川公安局知识产权侵权犯罪支队走访宁夏厚生记食品企业

商标与品牌质量安全风险管理研究院院长刘治兵陪同银川公安局知识产权侵权犯罪支队走访宁夏如意时尚纺织企业

2019年12月13日13:30“商标与品牌咨询诊断首届宁夏学习研讨会”将在银川金香玉大酒店四楼会议室召开,欢迎各商家、企业前参加。
抽奖活动:
1. 现场所有人员均可参加抽取价值1980元/件的高级商标分析审查注册服务机会。
2. 所有参会人员提供名片签到参与抽奖。
0元注册商标:
1. 每位参会人员邀请5位老板参加现场学习,均可免费获得一件价值1980元的高级商标分析审查注册服务名额。
2. 每邀请5人参会可获得0元注册商标1件,邀请10人可0元注册2件商标以此类推。
参会对象:法人、董事长、总经理、个体工商户老板、企业商标与品牌负责人需加盖公章的岗位职责说明。
参会时间:2019年12月13日(周五)13:30——17:30
携带证件:营业执照副本复印件、身份证、名片;
学习投资
原价1980元/位,优惠如下:
1. 前100位仅需298元/位+现场抽奖(无商标注册赠送服务)
2. 前100位仅需680元/位+现场抽奖+赠送价值1980元高级商标分析审查注册1个。
3. 第101位后980元/位+现场抽奖+赠送价值1980元高级商标分析审查注册1个。
说明:抽奖获得高级商标审查注册不含商标起名;赠送商标注册不含商标起名;1件商标含10个商品选项。
参会签到
1. 持营业执照副本复印件签到验证身份
2. 非参会对象人员680元/位,无附加服务。
3. 需带名片参加抽奖
主办:商标与品牌质量安全风险管理研究院
承办:强兵勇将(宁夏)企业管理咨询有限公司
协办单位:宁夏韦勤管理咨询有限公司
宁夏明德匠心企业管理咨询有限公
手 机:18795196330 18809606120
声明:部分图片、视频来源于网络,版权归原作者所有,本文观点只作为学习、交流、分享专用,不作为商业用途。如有不适,欢迎批评指正。