防传卫士发布: “我们这个课程呢,是增强生命能量,解除负向情感能量,不只是针对眼睛,也就是说当你的生命能量强了,负向能量解除了,不仅仅是视力,五脏六腑各方面,它都自动和谐了,自我恢复了。”
近日,一个叫做乾坤E道的不易反弹视力疗愈技术出现在各大社交平台,其宣传的技术内容更是神乎其神,只要每天佩戴耳机,认真学好对应的课程,就能实现自我疗愈。那么,这个所谓的疗愈技术的原理是什么?戴上耳机学习就能轻松治疗视力和其他各种疾病是真是假?饱受大众争议的奖励制度又该怎样解读?

公司资质,创始人背景
据了解,乾坤E道的公司叫做中康明视科技发展有限公司,公司成立于2019年12月4日,法定代表人孙凤明,注册资本5000万元,目前乾坤E道推广的耳机就是由该公司在负责生产,公司现如今由北京艺海观涛科技有限公司百分百持股,同时据2020年度报告显示,中康明视科技发展有限公司股东的实缴出资额为0元,参保员工为0人。

(图片来源:企查查)
据悉,乾坤E道的创始人为孙凤明,1959年出生在河北沧州,之前担任了12年的小学校长,曾被授予河北省骨干校长、沧州市标兵校长、沧州市科研型校长等诸多称号。
孙凤明退休以后,针对人类光明事业开始了创业,成立了中康明视科技发展有限公司并担任公司董事长,随后又成立北京中康明视国际医学研究院有限公司,担任院长一职,在这个过程中,孙凤明研发了叫做视力疗愈能量导引耳机以及视力疗愈不易反弹的整套方法技术,乾坤E道由此产生。
眼下,在有关孙凤明的相关宣传资料上,还记载了孙凤明在业余担任泊头市关工委家庭智慧教育讲师团团长,被授予河北省优秀五老志愿者,同时她还有着全脑潜能开发高级导师、马来西亚认证心灵沟通疗愈师、脑力开发导师等诸多头衔。

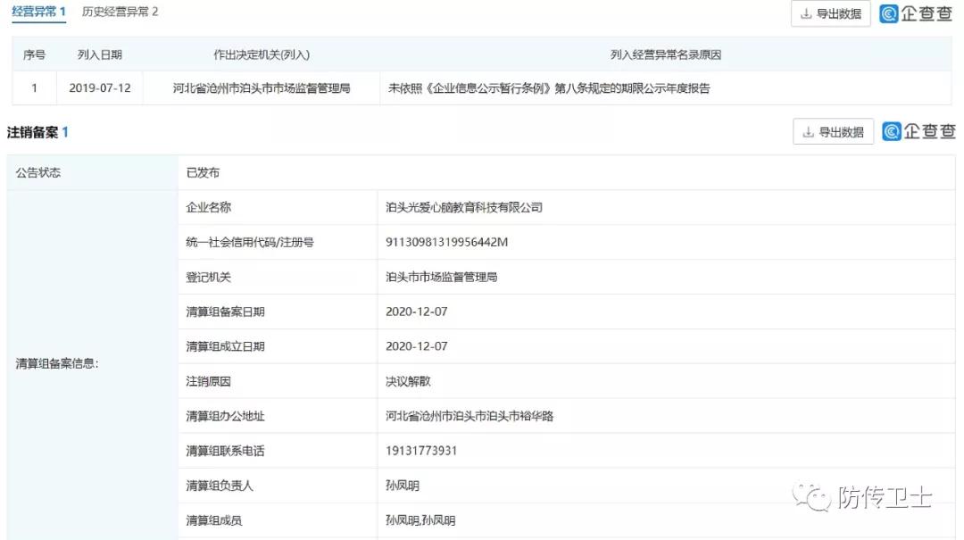
然而,经过调查我们发现,由孙凤明担任法人的泊头光爱心脑教育科技有限公司,曾在2017年和2018年先后因未按照《企业信息公示暂行条例》规定的期限公示年度报告,被列入经营异常名单,虽然随后又被申请移出,但在2019年,公司又因为同样的问题被列入经营异常,且至今仍未被移出。另外据企查查显示,该公司还出现了一则注销备案,孙凤明作为清算组负责人决议将公司解散。

(图片来源:企查查)
神奇耳机,不药而愈?
据了解,乾坤E道的产品主要就是一副叫做视力疗愈能量导引的耳机,以及对应的6800元课程,消费者需要完成课程作业并参加考试,从而静心、消除负面情绪,疾病也随之变少,以此达到自我修复的目的。
经销商小张向我们解释到,乾坤E道的视力疗愈不反弹技术属于生命意识科学范畴,这种方法融合了最新芯片技术,通过特定语言链接,进入人体潜意识,化解潜意识的负面能量,改变潜意识对视界的认知,再结合能量导引的流程训练,让眼睛看清,在这个看清的过程中,眼睛的各类问题都会得到很好的处理,只专注于看清,不关心眼睛的具体病名。
听起来是不是很玄幻?更让人惊讶的是,乾坤E道宣扬的疗愈技术重点并不在于这款所谓的能量导引耳机,而在于其中的学习课程:耳机通过固定可重复的音频内容和耳机特有的能量芯片,完成疗愈流程的便捷化,并从技术上确保效果,同时通过孙校长的声音,链接特定频率的潜意识状态,进入一个由冰到水的过程……
这里的孙校长也就是前文我们谈到的创始人孙凤明,在这款能量导引耳机的说明书上我们可以看到,该耳机宣扬适用于近视、弱视、散光、老花等,通过耳机释放的物理声波能量帮助恢复原有视力的水平和状态,属于外用保健用品。

同时经销商表示,耳机是免费送的,6800元不是耳机的费用,我们卖的是技术,以及后面产生的价值,如果说只通过耳机就能把视力修复好,那就是骗人的,必须认真把课程好好学习,通过耳机技术的正确使用,才能达到预期的结果,这才是乾坤E道的技术核心。
据悉,加入乾坤E道需要先扫对应二维码,实名认证,了解公益课程并观看大量的真实案例,认同理念,通过网络培训技术的形式,交6800元送能量导引耳机,且一旦交钱,不支持退款。加入后会参加公司组织的13天系统的网上培训,必须按要求完成作业,每天30分钟,在参加学习的过程中,只有完成作业及考卷,免费送的耳机才会邮寄,然后才能开始所谓的自我修复。
同时,在公司的宣传资料上,还表明了整个视力疗愈过程中的三大原理,更是扬言人体60%-70%的疾病都是可以自愈的。

除此之外,在乾坤E道各大经销商的朋友圈,还分享了许多通过这种技术实现“自愈”的例子:来自黑龙江的邢女士,左眼近视375度,右眼近视425度,修复前站在视力表前3米处只能看见第2行,通过持续参加乾坤E道视力自我修复的培训和训练,现在已经能看清第10行。

还有来自甘肃兰州的林女士,戴了40年眼镜的她,视力修复之前左眼高度近视,视力表最大的字母都看不清,右眼近视1200度,修复以后双眼都可以在视力表上看清第十行。

像这样的例子还有很多,无一不是在证明这种技术存在的神奇功效,那么这种不药而愈的说法真的靠谱吗?在下篇文章中,防传卫士将继续深究乾坤E道宣传的产品及治疗功效,并对备受大众争议的奖励制度进行解读,请继续关注本网。
文章来源:防传卫士,特此鸣谢!
编辑转载:反传销彭柱团队