
2020年9月,南昌市府办公厅批复了关于红谷滩区九龙湖片区的一块国有土地的使用权公开出让方案,其中约定了一条,拟建一座不低于375米的超高层,被各方解读为中国平安定制地块,拟建平安国际金融中心。
如果在10月份左右拍下地,需在五年内建成竣工,这将是南昌第一高楼,更是江西第一高楼。作为陪衬,搭售四块住宅用地。
五年之后的事情,我们都无法预料,但是从现在的信息来看,这个肯定是目前江西省内规划的最高大楼了。但如果说到已经建成的,那第一高楼肯定暂时还轮不到平安国际金融中心。
南昌现在第一高楼的称号,非绿地双子塔莫属。
绿地双子塔的建成,可并不一帆风顺。细细想起来,它的历史,可以追溯到2002年,与2020年之间,相隔了18年。十八年,又是一条好汉。
2002年,为发展“一江两岸”、建设红谷滩,在南昌市招商局的邀请下,浙江省组建了一个庞大的投资团队,来到英雄城南昌,寻找合作机会。
正是这一次的大规模招商,浙江的很多商人,来到南昌,开始助推南昌地产的发展。
很多浙商在投资推介之后,并没有选择红谷滩,而是选择了青山湖东岸,浙江中烟在这里圈了地,最后做了香溢花城;浙江中大集团同样在青山湖这边,做了中大青山湖。
而没有跟其他队友抱团的浙江方大集团,选择了红谷滩。在新的市府旁边,他们要做世界贸易中心,做中部地区最大的酒店、写字楼和贸易中心。
作为浙江世贸集团的董事长,刘兴海在签约时特别激动、兴奋,他声称要投资20亿,将南昌打造成世界贸易之都。到2002年12月的开工典礼上,很多重要领导参加了这次奠基仪式,还说这将是南昌的“一号工程”。
可能我们已经忘记了,美国的世贸大厦,在上一年被本拉登撞毁了。如果南昌的这个能建成,又何止在中部地区崛起,甚至可能扬名海外。
那时候,南昌世贸大厦的规划高度,只有157米。现在看来确实不高,但那时已经是稳坐南昌第一高楼的头把交椅了。
奠基之后,大楼的施工,也是由浙江而来的施工方进行承建,它就是杭州建工集团。
毫不避讳的说,刘兴海高估了当时的红谷滩,虽然它的前景可能真的很好,但是如果没有在对的时间做对的事,那就是一种错误。他的失误,就是在不对的时间,做了对的事情。
因为没有住宅加以回血,单纯的靠这种写字楼来销售回款,是一种遥遥无期的等待。2003年,红谷滩的住宅房价在1500-2000每平左右。住宅的销售并不好,更不要说这种写字楼了,而且是停留在图纸上的写字楼。
南昌的有钱人,不会傻到,过江去城郊买图纸上的写字楼和商铺。
整个项目的建设进度,比较缓慢,最受伤的,是杭州建工集团。不管是平整土地,挖土方,还是做地下室,都是杭州建工集团在垫资。哪怕,杭州建工集团是杭州的地方型国企,它也不会这样无限度去垫资。
垫到8000万之后,杭州建工集团找浙江方大集团的刘兴海,要求支付进度款。号称投资20亿的刘兴海,却拿不出这8000万,并且整个公司,都出现了财务困难。
浙江方大集团在支付了土地款之后,其实账上已经没有多少现金流可言,因此,他只能去抵押,去*款贷**,以换取流动资金,保证正常的运转。
纯商业性质的抵押,在银行那里并不吃香,而且这还是一家外地的公司。资本从来都是锦上添花,没有雪中送炭,多的是落井下石,釜底抽薪。想想2017年,万什么达的王首富就是因为银行抽贷,不得不挥泪甩卖资产,从此一蹶不振,告别首富三年,至今没有恢复元气。
连工程款都没有,如何去给*款贷**?极大可能会造成不良资产。银行热情洋溢的接待了刘老板,但又十分无情的拒绝了他。
在这样的情况下,杭州建工集团延缓了工程进度,但是在各方的斡旋和压力之下,杭州建工集团还是在继续垫资,推进大楼的建设。因为此时,杭州建工集团和浙江方大集团,是绑在一根绳上的蚂蚱,一荣俱荣,一损俱损。
刘老板说,至少建到地上两层,这样他才好对外销售商铺和写字楼。因为各种原因,南昌世贸中心的建设手续并不齐全,取得销售手续更是艰难。
无奈之下,刘老板采用“内部认购”的形式,对商铺和写字楼进行销售,虽有认筹,但并不理想。而且收到的款项,相对于庞大的工程建设费来说,简直杯水车薪。
在这样的情况之下,杭州建工集团痛定思痛,于2004年初决定停工。
此时,恰逢国家土地出让新规出台,改变了原来的土地出让方式。按照新规,市府方面要收回土地,考虑到南昌“一号工程”项目的特殊性,以及已经购买的业主权益,双方协商了新的土地出让方案。这个方案,为后来的混乱,埋下了伏笔。
关于方案的细节,我也不是特别清楚,只是知道土地被南昌市府收回,然后又以58万每亩的价格,再次转让给南昌世贸有限公司。而这个公司,正是浙江方大集团注册成立的一家公司。
为了凑齐这些款项,同时也为了筹集建设资金,刘老板北上首都,通过关系找到了首钢旗下的龙赢公司,给南昌世贸注资“输血”。
但是像南昌世界贸易中心这样的项目,投资大,回款慢,推到市场上基本是无人问津的状态,很难得到资本的青睐。也没有哪个公司,能一直给它“输血”。
各方协调之下,为了避免不“烂尾”,银行决定*款贷**,但是世贸中心只有两块土地有拿到土地使用证,还有三块地是没有的,这就决定了它的*款贷**额度很有限。
没有资金,项目逐渐又处于停摆之中,南昌第一高楼,在众人的心中,慢慢变成了南昌“第一烂尾楼”。在它的东侧,是新的市府,在它的西侧,是南昌国土资源局。
每天上下班,无数的领导从这栋楼旁边经过。
围绕这个问题,当地相关部门,浙江方大集团,首都龙赢集团,杭州建工集团,各方都在奔走,不断转辗于北京、杭州和南昌之间,纠缠博弈,但都没任何实质性进展。
据说一直在找钱的刘老板,把一块地转让给了联发集团,也就是现在的红谷滩联发广场。但是整个项目的巨大资金缺口,把刘老板的公司逼到了绝境。
面对如此的境况,刘老板和国土那边,最后签订了协议,同意以1.8亿的价格,把整个南昌世贸中心地块,卖回国土部门。这次的“回购”,刘老板觉得心有不甘,毕竟项目价值至少在6亿以上。
形势比人强,无力继续开发的刘老板,除了黯然神伤,似乎也没有更好的办法了。2006年快年底的时候,南昌国土那边在报纸上刊文,注销“南昌世贸中心”以及对应的建设公司。
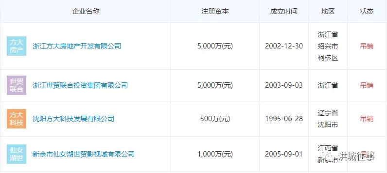
如今我们再去查找这些公司,发现都已经被吊销了,但没有注销。


不到一年半的时间,原“南昌世贸中心”地块,再次上线,挂牌出让。有了前车之鉴,国土那边这次谨慎了很多,在出让上做了很多限制,包括开工、竣工时间。
来自上海的绿地集团,以底价拿下了这块地。根据协议,绿地需在6个月之内开工,如果延期9个月未开工,土地将被无偿收回。如果4年内未整体竣工,未完成的地块将被无偿收回。
绿地南昌事业部经理孙志文在签约后,表示在一个月内重新规划,拟建两座高160米的双子塔。后来规划稿几经修改,最后定格在303米,为的是刚好超过武汉中心300米的高度,成为中部地区第一高楼。
几番曲折,“南昌世贸中心”变成了“绿地中央广场”。
名称更迭,背后的人物和公司,也是命运迥异。绿地从此深耕南昌、广耕江西,发展如日中天;而浙江方大集团,深陷破产边缘,刘老板更是身陷囹圄。
绿地中央广场开建没多久,杭州建工集团就向杭州中院申请,查封了洪土国用(登红2005)第813号、第814号土地使用权及地块的建筑物,并冻结上海绿地集团购买上述地块及地上建筑工程的全部受偿款9000万元(含执行费)。
此举在杭州和南昌激起了千层浪花,诉讼的规格逐渐由杭州中院上升至浙江高院,之前由南昌中院协调也变成了江西高院来协调。
这场横跨两地的纠葛,南昌中院、江西高院、杭州中院、浙江高院以及杭州建工、浙江方大、上海绿地等多方,经过长达一年的沟通,依然没有一个清晰的界定。
在2009年6月,绿地邀请了炙手可热的苏大老板,参加开工仪式。大红大紫的背后,是被查封的“南昌世贸中心”。
一年后,南昌中院以违法抽资、合同欺诈等罪名,逮捕了刘老板。两年后(2012年),南昌中院做出判决,刘老板身犯数罪,数罪并罚,判处无期徒刑,并处罚金5000万。
这次审判,终结了没完没了的纠缠,刘老板名下的所有公司,均被吊销。蛰伏在青山湖畔的浙江中烟和浙江中大等集团,再也没出过青山湖,做完项目后,离开了江西。杭州建工,再也未在南昌投标一个项目。
继续建设双子塔的绿地,开始在南昌纵横捭阖。两栋高楼,拔地而起,像极了倒立的牛仔裤。

全文完,感谢您的阅读。