此文绝不是标题*党**,不管是准备装修房子的业主,还是刚刚入行的设计师,只要耐心看完,一定会有收获。
装修一套房子,不是难事,只要有充足的时间,谁都可以把自己的房子装修完。装好一套房子,却不是一件简单的事,就算是装修公司,也不见得能把一套房子装好。

废话不多说,直接开聊。
装修依次有四大工种:水电、瓦工、木工、涂料工。我见过很多新手设计师在画完水电和瓦工图纸后,在木工的施工图纸阶段却无从下手了,也有些自装的业主,在瓦工结束后,木工阶段就开始犯愁了。
在木工阶段,抛开吊顶外,最大的单项工种要数衣柜的制作。在目前的装修市场中,衣柜的制作无非就两种方式:整体定制和现场制作。虽然现场衣柜的制作有被板式定制逐渐取代的趋势。但仍有那么一部分人或因为价格,或因为偏爱而选择现场制作衣柜。
这一部分人,有一些还是设计师,甚至还非常讨厌板式定制家具。并不是因为定制家具抢了设计师的生意,或定制家具不好。一名有能力的设计师都有一股傲气,每一套装修设计的完成,好比一道游戏关卡的通关,当你正利用精湛的技能来通关时,结果旁边跑出个小伙伴抢走你的手机,帮你通关了,结果评分还不高。而定制衣柜就是旁边跑来的小伙伴。
拉回话题,我们今天要聊的不是定制衣柜,而是现场如何制作滑门衣柜。
为什么不讨论平开门呢?虽然在衣柜门的领域,也有个争论的矛盾:到底是推拉门(滑门)好,还是平开门好?如果让设计师来选,多半会选择平开门,而让业主来选,却又大部分会选择滑门。各有各的说法和理由,我们先暂且不表,但这本质上是对装修认知的差异所造成。
在目前的装修市场环境下,房子的装修很大程度上都是业主说了算,所以大部分业主家里都会选择滑门衣柜。因此我们的室内动不动就被以下衣柜形象所填充:

大部分家庭的衣柜样式
这样的衣柜可以用吗?当然可以用,但仅仅是可用而已,至于美观与精致,没有半毛钱关系。
也许有人认为我用低质量的照片刻意来*化丑**上述衣柜。那我找来一张通过改变传统做法的衣柜来对比一下(同样一张低质量的照片)。

改善做法的滑门衣柜
正所谓外行看热闹,内行看门道。上图中两级衣柜的做法到底有哪些不同呢?
一,上下柜门的分开安装
在以前,衣柜滑门材料都是由PVC板制作,因强度原因,其高度只能只做2.2米左右,所以大部分衣柜把上半部分衣柜采用平开门的形式,下半部分采用滑门形式,这样使用起来没有问题,但因为平开门不管是从样式、材料、还是颜色都不能保持统一性,因此很难保证外观的效果。
但现在衣柜滑门的材料有了很大的改进,最高可以做到2.6米都没问题,那就完全没有必要做成两截门的形式了。
二,柜体边框裸露
除了“两截门”的差别,图中两种柜体设计的最大差别在于柜体边的隐藏(见下图对比),左边的衣柜把滑门关上后几乎看不到柜体的任何部位,而右边的衣柜把门关上后可以看到柜体的全部边框。这也是为什么很多定制衣柜厂强调它们的衣柜可以把柜体与门板做到同色,并且还作为卖点来宣传。其实换一种思路,既然柜体与柜门做不到同色同材,何不干脆把柜体全部隐藏呢?但是定制柜厂做不到这一点,因为这些边角的收口必须工人现场施工。
隐藏柜体边框的设计可以让柜门的选择“肆无忌惮”,只要你喜欢,可以选择任意颜色的柜门,而不用担心与柜体颜色不搭配。同样柜体的板材颜色也可以任意选择,在芯材相同的情况下,可以尽量选择便宜颜色纹理的板材(板材的颜色和纹理不同,价格不同)。衣柜完成后,效果是否出色,完全只依靠柜门的颜色和材质,与柜体无关。隐藏柜边的另一个好处是可以隐藏柜边角处粗糙的施工(边角处因为施工难度的问题,工人往往会在这些地方施工毛糙)。小贴士:柜门可以尽量选择平板单色的材质,造型与颜色越多,不仅更难搭配,也更难得驾驭。

完全隐藏和裸露的差别
滑门轨道裸露
现在衣柜滑门普遍采用吊轨设计,除了柜体边框裸露造形颜色和不协调,还有轨道的裸露也非常有碍观瞻。特别是那些低端的滑门,所用的轨道都是一些明晃晃的不锈钢饰面。就算一些高端品牌定制的衣柜有时候也无法避免,当然设计师也意识到这个问题,在后来的轨道外观上采用了覆膜饰面。但怎么换色,还是改变不了裸露的局面。

亮闪闪的不锈钢轨道

有些品牌定制衣柜也不能避免

有些定制的衣柜把轨道覆了层与柜体同色的膜
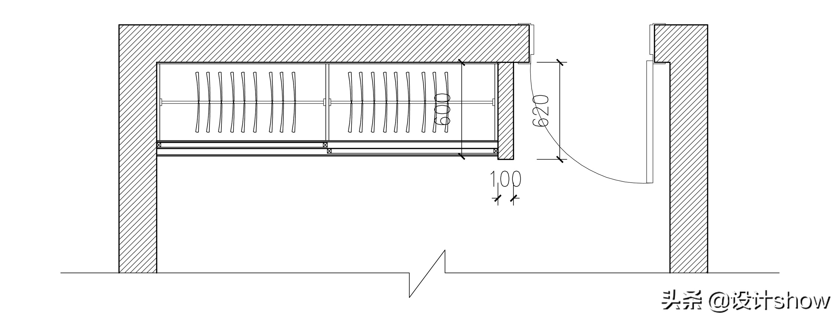
而这个问题可以在现场制作衣柜时完美解决——设计隐藏式轨道。这也是很多家装设计师习惯现场制作衣柜的原因。

轨道被完美隐藏
具体做法是在衣柜顶部的石膏封板内,设计一道隐藏的凹槽,凹槽的深度在6公分左右,宽度不小于8公分,制作前最好了解一下轨道尺寸,防止凹槽过小,轨道装不进去。

隐藏式轨道节点图
柜体侧面裸露
这里柜体的侧面指的是临近房门一边的衣柜侧立板,柜体的侧面制作,在没有设计师的参与下,木工一般是采用双层板作为柜体的侧立板(也有用单层板的)。这样的制作本身没有太大的问题,或者说业主看不出有什么问题,因为大部分人家里是这么做的,而且木工也习惯于这种做法,他们几十年的工作经验让他们对此种做法更加快捷熟练。
但有时候经验并不都是对的,这种做法的缺点主要有两点:一是和上文中所说的一样,裸露的侧面与柜门不能形成颜色与材质的统一(也有故意做两种不同颜色的拼色设计,那是一种颜色搭配手法,这里暂且不讨论)。二是柜体与墙面的交接处一般使用玻璃胶填缝,木板与墙体材质的不一样,导致膨胀系数不一样,时间一长肯定会形成裂缝(快则一两个月,慢则一两年)。
为了解决这两个问题,室内设计师通常做法是对柜体的侧边用石膏板封一道边,更准确说是一道墙,让衣柜形成嵌入式的感觉。这样既解决了接缝的问题,又可以隐藏衣柜的侧面,让柜门可以更加灵活在的选择。

在衣柜侧面封上石膏板
柜顶封板材质不一样
在做衣柜时我们都会给工人交待:我家的衣柜要做到顶。但实际情况却是不管定制衣柜,还是现场制作衣柜都不可能把衣柜做到绝对到顶,有三个原因:
- 一个是屋顶不平,而工人做的家具都是标准的横平竖直,要是把衣柜做到顶后,虽然可以增加柜内一点空间,这样不但衣柜丑陋,而且房间屋顶的阴角因为不直而显得粗糙(在房子的装修中,室内的阴阳角垂直度和水平的修饰是非常重要的一环,通常情况下房间屋顶的阴角都会用石膏线或石膏板来修饰,就是为了调整阴角的水平视觉效果)。
- 第二个原因也是最主要的,一般衣柜都是在房间地面拼装好后再竖立起来,如果把衣柜的侧面看成一个矩形,矩形的对角线要比边长要长。在立起来的过程中,是以衣柜的侧面矩形的一个角为圆心,对角线为半径,作圆周运动。如果衣柜高度为2.8米(房间高度),那么对角线则要大于2.8米,那么衣柜根本就没办法立起来。
- 第三个原因就是衣柜太高利用意义不大,而且还浪费板材。目前市面上装饰材料都是根据长期的使用习惯,以及最高利用率的规则来设计的尺寸,比如板材的标准尺寸2.44*122米,也就是这个规格的尺寸在不拼接的情况下,最高可以做到2.44米高的柜子,同时这个高度的柜子也是在符合人体工程学情况下利用率最高的空间。

高度2.8米的柜子立不起来
正因为衣柜不能完全做到平顶,所以衣柜与顶部的空间就需要封闭起来。(也有些定制衣柜干脆把衣柜做矮点,把空间留大一点不封闭),这种情况最常用的方式是使用石膏板封闭,而定制衣柜因为在厂里制作,而现场的木工也没有衣柜的尺寸,也不想操这个心。所以定制衣柜很多情况下都是厂家直接在上面封一块木板了事。
封上木板后,后面的问题就来了,为了修饰房间顶面的阴角线而安装的石膏线却不能与木板粘接。只有在石膏线上打钉强行安装。这样造成的后果就是石膏线容易脱落、裂缝。

顶部强行安装的石膏线
对于上述种种问题,本人在实际的工作中经常与工人沟通,不断调整衣柜尺寸,最后调整出一套滑门衣柜制作的合适模板,这套模板既考虑到衣柜的外观效果,同时也能最大限度节省材料。
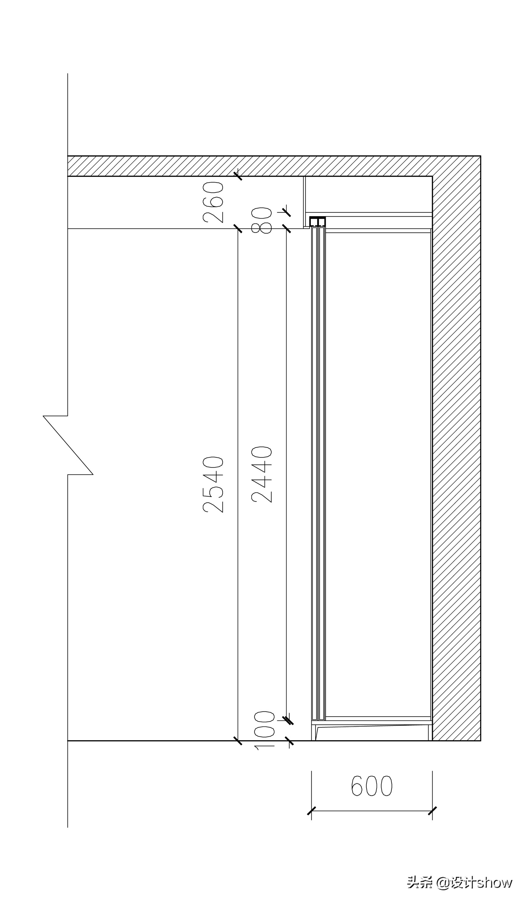
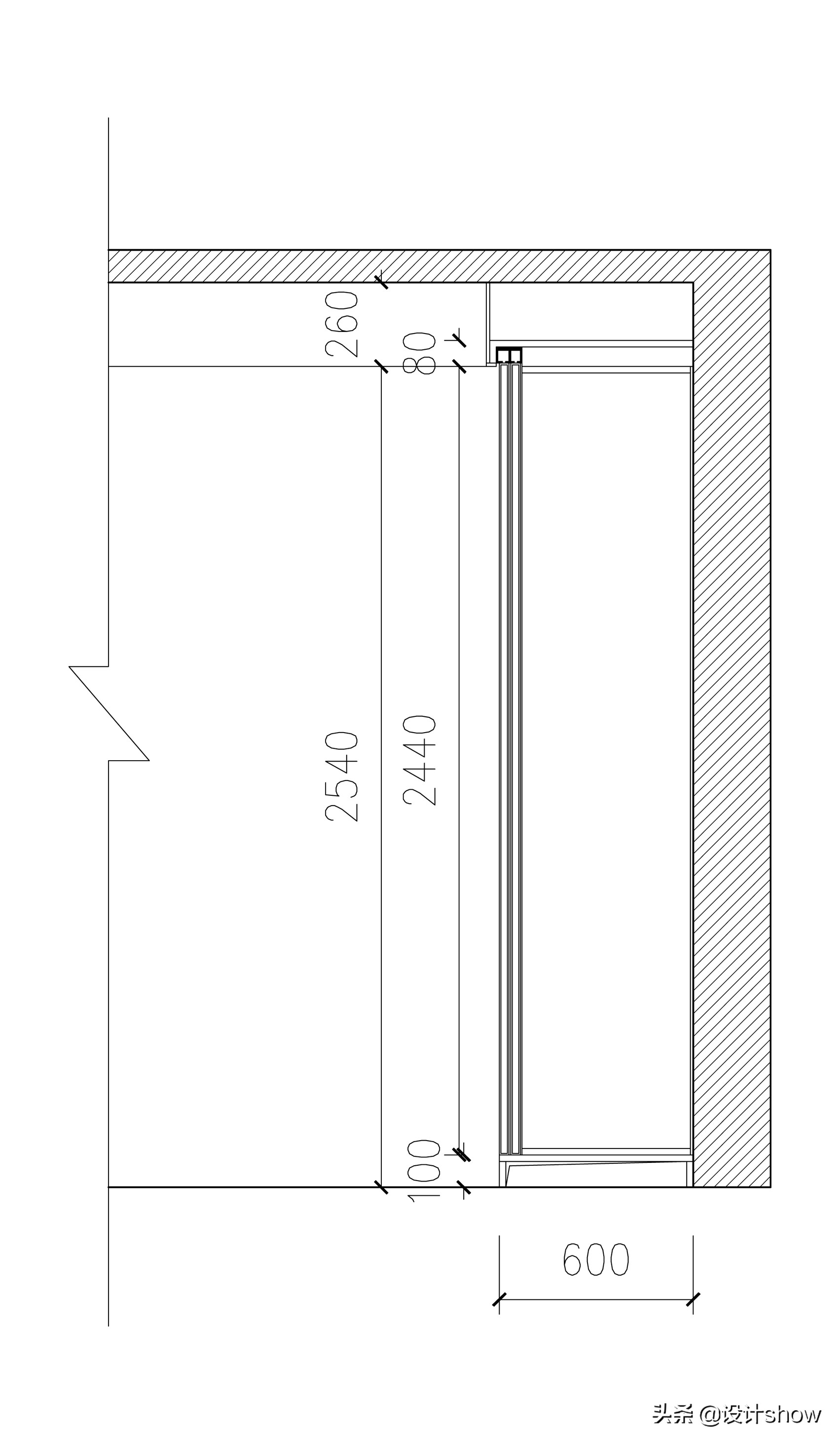
这套模板有几个重点数据:
- 衣柜的高度设计为2.54米
这个数据是怎么来的?首先衣柜要制作一个地台板,这个地台高度为10公分,可以利用板材的边角料制作,然后用一整张生态板(其它板材也行)制作柜体,生态板的长度2.44米加上地台的高度,刚也就是2.54米,柜体不需要拼接,从而节省材料,同时提高施工效率。

滑门衣柜正立面
- 衣柜顶部的封板为26公分
这个尺寸是直接用房间的高度2.8米减去2.54米的柜体高度所得。然后在屋顶阴角的修饰上可以顺着这块石膏板在房顶周围叠一层石膏板,起到修饰阴角的作用,同时对墙面与顶的不同的颜色或材料起到一个分界的作用。注:封板尺寸和柜体高度可以根据房间内空高度适当调整,房间高超过2.8米则加大封板尺寸,房间高度小于2.8米则降低衣柜高度。

柜门完全掩盖柜体
- 柜体所有立板为50公分
在木工传统制作衣柜时,柜体内部立板下料尺寸为50公分,而两边的立板下料尺寸却是60公分。而这套设计模板中柜体的所有立板下料尺寸都是50公分,这样后期的滑门安装后就可以把柜体完全掩盖,柜门的两侧直接与墙体接触,柜门与墙体直接接触有两个好处,一是可以掩盖边角上施工的毛糙,另外如果柜体与墙面产生无关紧要的裂隙时也会被柜门挡住。这样同样可以节省材料和提高施工效果。

滑门衣柜侧立面
- 侧面封装8-10公分的石膏板
这个问题已经在上文中讲过其作用,但没有说明具体尺寸,具体做法是在衣柜做好后,在柜体侧面布上轻钢龙骨(可以用木条代替),再封上石膏板就可以了,其厚度刚好是10公分。这里需要解释的是,有业主可能认为封装上10公分的侧边后,那衣柜不是要做窄10公分了,其实不是的,如果不封这道石膏板墙,房间的进门处同样要预留出十几公分的墙面位置来安装开关,而封上石膏板墙后,可以不需要预留开关的位置,开关可以直接装到这道石膏板的侧面。

开关的安装位置
最后找来一些按照这种方式制作的滑门衣柜的实景图来欣赏一下。



同样是滑门衣柜,仅仅是改变一些施工细节,最后呈现出来的效果完全不一样。你如果还在为木工制作的柜子丑陋而苦恼,我在这里简单绘制这种做法的几个不同面的图纸。如果你自己看不懂,*载下**下来打印给工人看,会让工人对你刮目相看。

衣柜顶部剖面


衣柜正立面
这个图纸省略了一些细节,是以最简单直观的形式表现出来的。可以从侧面图中看出,衣柜的地台板是60公分宽,实际上关于衣柜的地台板还有种做法,可以把地台板也做到50公分,让衣柜门直接落到房间的地板板上,这样就彻底把柜体完全掩盖了,这种方法对地板的工艺也更高,一般不建议这么操作,除非你能相信工人的手艺和质量。

衣柜门直接落到地板上

侧面看衣柜落在地板上
本文由设计show原创,首发于*今条头日**。未经许可禁止转载,部分图片来自于网络。