11月18日,山东省乐陵市人民法院,发布一份公告,法院裁定,宣告山东金斯坦轮胎有限公司破产。

7月26日,法院受理金斯坦轮胎破产清算一案。经核查,该公司有146位债权人。其无意义债权金额,约为7674.51万元。金斯坦轮胎所有构筑物、机械设备等,评估价值合计4816.2万元。
法院认为,这家公司不能清偿到期债务,且资产不足以清偿全部债务,符合批产条件,同时,债务人、债权人,均未提出重整的申请,因此法院做出上述裁定。
资料显示,金斯坦轮胎成立于2017年,法定代表人为陈江义。
这家公司旗下,拥有金斯坦、费尔斯通和阿斯隆等品牌。

陈江义所有公司以及担任高管情况


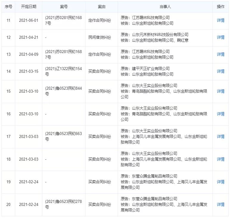
近年来,金斯坦轮胎深陷买卖合同纠纷、民间借贷纠纷等


列入失信被执行人情况

动产抵押情况
