
2018不知不觉到了尾声
寒假马上就要到来
又将迎来一波"学车热"

寒假学车不如暑假
虽不用迎热浪 不用四五点起床
但 面对的是寒风刺骨
离开被窝“出差”到训练场
除去春节 寒假练车时间短之又短
为了能顺利通过考试
每天都要加班加点练习

作为过来人 深知你的辛苦
学车需要扎实掌握技能 只能靠自己
蜀黍想说的是:
辛辛苦苦学车
可千万不要在预约上拦住你的驾考路
有不少朋友在公众号留言
表示预约很困难

蜀黍先表明一下态度
预约不上很正常
你刚考完科目二才几天
预约的上才有鬼

先看一组数据
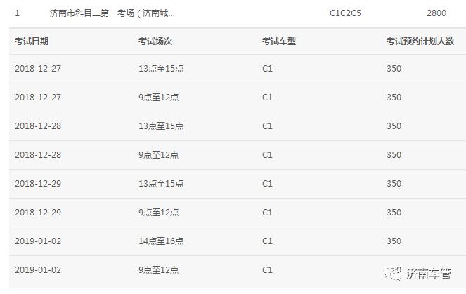
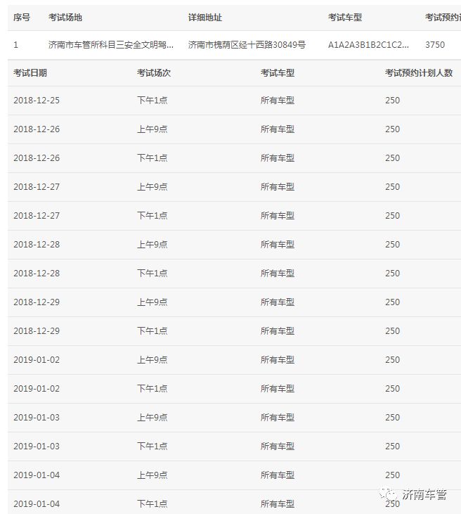
1
科目二、科目三每天的计划考试人数基本都是700人。

2
根据济南市车管所的数据,科目二和科目三的合格率基本差不多。

3
科目一和科目四的每天计划人数是500人,基本约不满。
所以,根据以上数据,考试计划数完全可以满足需求,每天报名的人数和明天拿证的人数基本相当,济南市驾考人数相当平稳,不存在积压。
有人说,为什么刚开始排名很靠前,后来就排到了几百上千了呢?
其实,预约考试名额并不是先申请先得,是按照总排序号来决定是否预约成功。预约排名的规则也十分简单:
1、首次预约科目一考试的,以受理用户初次申领机动车驾驶证等业务的时间为排序时间;
2、非首次预约科目一考试的,以上次考试时间为排序时间;
3、考试预约成功的用户因自身原因取消预约的,以取消预约时间为排序时间;
4、同时符合第二项、第三项情形的,以最近时间为排序时间。
排名在前面的优先安排考试。系统安排完毕后,将在互联网反馈公示预约结果。

根据以上规则,简单点说,就是预约上的所有人一起排序,初次考试的学员排位从科目一考试及格那天开始算起,补考的则从上次考试不及格那天开始排队,所以补考的学员会等更久。现在一般每天一个考场考300多人,学员预约时,不管是在计划考试人数内还是计划人数外,总之,轮到你就能预约成功,没轮到的只能继续不停预约。此外,人工不能干预系统。
为什么预约不上,其实很简单,还没排到你,耐心等待吧。

最后,蜀黍奉送一些技巧。
预约的时候不要着急,在不要急于预约,一定要有的放矢。在http://sd.122.gov.cn/上有计划公布

根据考试计划,预约最近的计划,比如今天是12月19日,25号前的计划都已经截止。这时候,就去预约12月25号,或者26号的,不要去预约1月4日的。预约26日的如果预约排名在计划数之内,预约成功的可能性较大,如果预约排名较靠后,就说明还没轮到你。就不要着急了,好好练车吧。
预约考试其实就是在排队而已,不要干着急,排到了自然就约上了。亲们,你们觉得呢。

长按关注