原创 白羽 米内网
精彩内容
近期,江苏正大清江制药捷报频传,国家药监局官网显示,江苏正大清江制药的头孢克肟片以补充申请获批过评,成为该产品第4家过评企业,随后公司的艾拉莫德片以仿制4类报产获CDE受理。米内网数据显示,2021年中国三大终端6大市场头孢克肟片销售额超过6亿元,艾拉莫德片仅有1家企业获批,江苏正大清江制药有望拿下国产第2家。截至目前,江苏正大清江制药有6个产品过评,4个产品以新分类报产,获批后视同过评。

来源:米内网新版数据库 头孢克肟片适用于对头孢克肟敏感的链球菌属(肠球菌除外),肺炎球菌、淋球菌、卡他布兰汉球菌、大肠埃希菌等引起的急性支气管炎、肺炎、慢性呼吸系统感染疾病的继发感染、膀胱炎、肾盂肾炎、淋球菌性尿道炎等细菌感染性疾病。
米内网数据显示,2021年中国三大终端6大市场(统计范围详见本文末)头孢克肟片销售额超过6亿元。其中,网上药店增速超过150%。
头孢克肟片有19家企业拥有生产批文,仅有江苏正大清江制药、湖南方盛制药、浙江巨泰药业等4家过评。山东鲁抗医药、深圳立健药业的一致性评价补充申请在审,温岭市创新生物医药|万邦德制药以仿制3类报产在审,获批后视同过评。
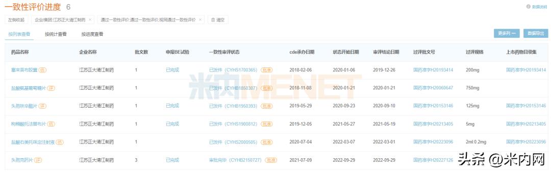
江苏正大清江制药过评产品情况

来源:米内网新版数据库
截至目前,江苏正大清江制药有6个产品过评,涵盖抗炎药和抗风湿药、全身用抗细菌药、精神安定药等多个治疗亚类。此外,阿普米司特片、盐酸溴己新注射液、磷酸奥司他韦干混悬剂、艾拉莫德片均以新分类报产,获批后视同过评。
资料来源:国家药监局官网、米内网数据库注:米内网《中国三大终端6大市场竞争格局》,统计范围是:城市公立医院和县级公立医院、城市社区中心和乡镇卫生院、城市实体药店和网上药店,不含民营医院、私人诊所、村卫生室,不含县乡村药店;上述销售额以产品在终端的平均零售价计算。