丨 点击右上方『关注』,
带你了解贵阳楼市的那些事儿!
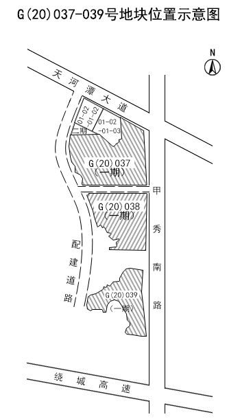
7月7日,据贵阳市公共资源交易中心公示,花溪区溪北街道办事处境内3宗商业、住宅用地挂牌,出让面积共计约28.71万平米;据悉,上述土地竞得人需在地块旁建设15班中学、30班小学,起始楼面地价均为3450元/平米。

G(20)037总用地面积约19.93万平米,其中:实际出让面积11.34万平米,各类市政保护用地面积5.7万平米,市政道路用地面积2.9万平米。
G(20)038总用地面积约14.51万平米,其中:实际出让面积11.73万平米,各类市政保护用地面积1.09万平米,市政道路用地面积1.69万平米。
G(20)039总用地面积约9.81万平米,其中:实际出让面积5.64万平米,市政道路用地面积2.96万平米,各类市政保护用地面积1.21万平米。

上述地块规划用途均为:居住(90%)、商业(10%),规划指标均为:1≤容积率≤2.3、建筑密度≤22%、绿地率≥35%。将按净地方式挂牌出让,采取填单报价方式对起始楼面地价进行增价竞价;起始楼面地价均为人民币3450元/平米。
据了解,为保证地块规划的完整性及建设的规模性,上述三宗地需统一规划。并且,一期地块竞得人需积极参与二期土地的竞买。

竞得人在土地交付后一年内必须动工,自动工之日起三年内竣工;开发压力较小。
地图显示,上述地块位于甲秀南路西侧、天河潭大道南侧,周边有龙湖·景粼天著、亨特翰林溪苑等项目,花溪民族小学、贵阳民族中学、贵州省将军山医院等配套,距离花溪十里河滩国家城市湿地公园直线距离1公里左右。

竞得人需配建两条规划市政道路:观湖路(城市主干道)长约1400米、宽约20-40米,城市次干道路长约410米、宽约20-30米。值得一提的是,上述地块必须在道路及相关设施按最终审批的路网及道路宽度等要求建设完毕后,才能进行商品房预售。
此外,上述地块竞得人需要在花溪01-02-01-02地块建设15班中学,用地面积24.75亩;需要在花溪01-02-01-03地块建设30班小学,用地面积36.45亩。两宗地将以行政划拨方式划拨给花溪区教育局,由花溪区教育局将土地交付给竞得人进行建设。


今年6月,花溪组团凤鸣地块控规调整原则通过。公示显示,该次控规调整涉及01-02-01、01-02-14两个地块,总用地面积共计35.08公顷;本次挂牌土地即控规调整土地中的部分地块,根据公示,剩余控规调整土地或为二期用地。
头条搜索已经成为“什么都可以搜”的综合平台,点击下方搜索卡片,了解更多花溪的消息!
往期精彩内容
观山湖区疾病预防控制中心规划!用地9061平米,车位56个
贵阳21宗地集中挂牌!最低起始价18万元,面积约13万平米
成交价13亿元!观山湖旁13万方地成交,建10万方购物中心