中枢性尿崩症的患者因长期多尿,肾髓质因尿素洗脱引起渗透降低,影响肾脏对内源性抗利尿激素的反应性,发生继发性肾性尿崩症。
病例介绍
患者年龄:6个月
患者性别:女
简要病史:因脑胶质瘤手术后多尿及水钠代谢紊乱于术后27天请肾内科会诊。患者术后的水钠相关的检查结果(尿量、血钠、血渗透压、尿钠、尿渗透压、液体平衡)、尿素氮以及用药情况如下。

为了方便手机用户看清这幅图,我进行图片旋转。

若你是会诊医生,如何解释手术后第27天尿量骤增的情况?
术后不久,患儿出现中枢性尿崩症合并脑耗盐综合征。给予加压素、补钠以及氟氢可的松。多尿症状得到控制。但是,从术后18天开始,尿量逐渐增加,第20天尤为突出,而且对加压素的反应变差。患者肌酐正常,其他离子正常,排除急性或先天性肾性尿崩症的可能。值得注意的是,患者的尿素氮几乎测不出,白蛋白低,考虑是中枢性尿崩症的患者因长期多尿,肾髓质因尿素洗脱引起渗透降低,影响肾脏对内源性抗利尿激素的反应性,发生继发性肾性尿崩症。治疗上建议补充白蛋白,注意观察尿素氮的情况。接受建议后,患儿多尿情况缓解,加压素治疗反应恢复。
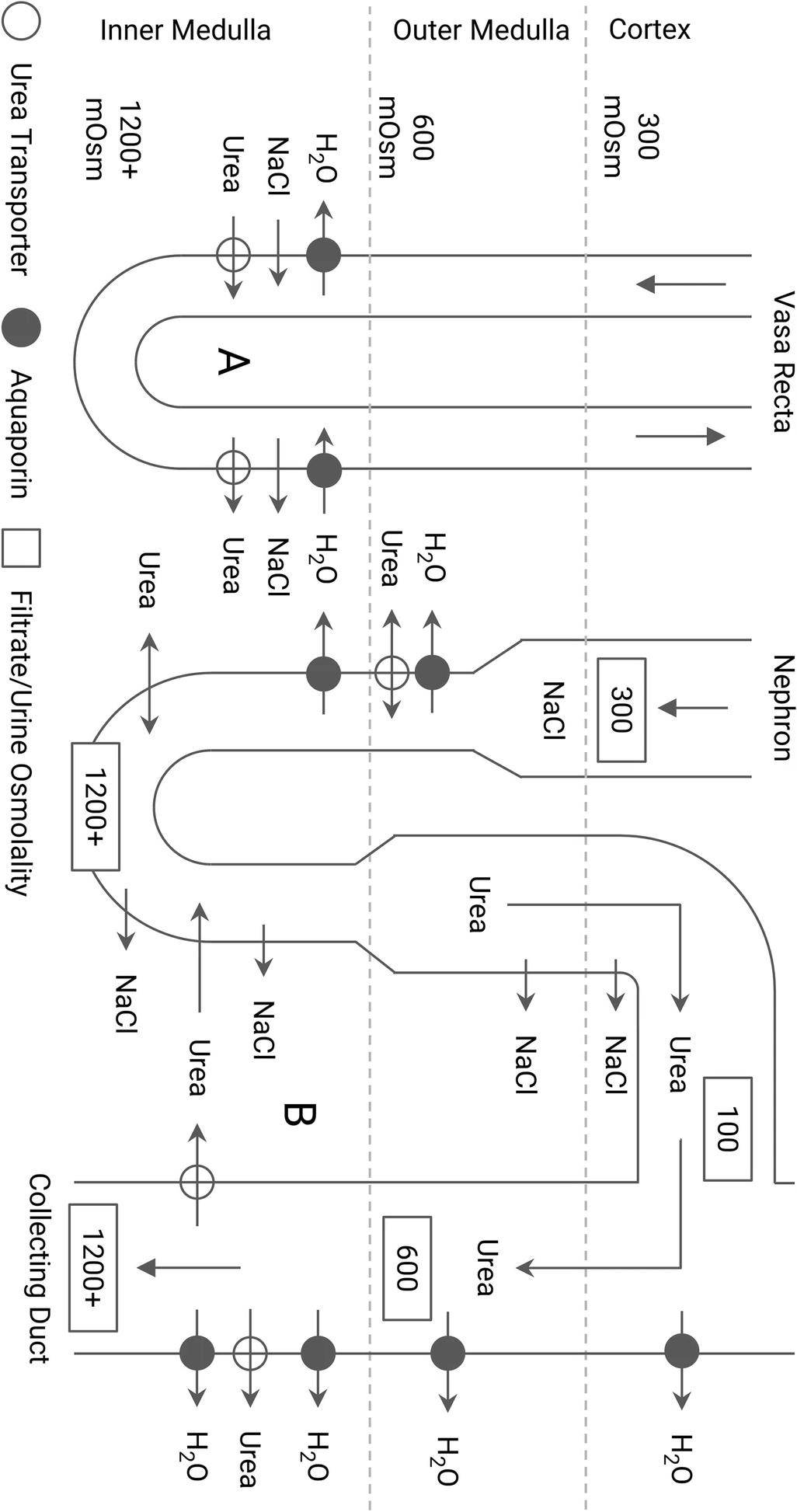
作为知识点回顾,复习肾脏尿液浓缩、尿素循环。

为了方便手机用户看清这幅图,我进行图片旋转。

最后这次笔记用实用内科学第15版下册第18篇内分泌系统疾病第10节尿崩症2198页右半栏第2段第8行的论述做结:引起髓质渗透梯度丧失的因素,如低蛋白饮食引起髓质尿素浓度降低。
33036650