
#文章仅代表作者观点,不代表IPRdaily立场,未经作者许可,禁止转载#
来源:IPRdaily中文网(iprdaily.cn)
作者:王雪莎 超凡知识产权服务股份有限公司
原标题:洗手液瓶的按压出液原理你知道吗?
本文主要介绍了几种关于洗手液按压泵头的专利,其主要是利用负压将洗手液从瓶体中吸出,泡沫型的洗手液还进一步的利用安装于按压泵头内的发泡网使洗手液在被吸出的过程中形成丰富的泡沫,但无论具体使用什么样的结构实现洗手液的按压出液,都需要用正确的洗手方式才可实现杀菌的效果,最后再次提醒大家,洗手要用流动的水、肥皂或消毒洗手液洗手,时间不少于20秒。
引言
自新冠肺炎疫情爆发以来,我们常能听到“勤洗手、勤通风,洗手要用流动的水、肥皂或消毒洗手液洗手,时间不少于20秒”这样的宣传语。虽说肥皂可以起到杀菌和去污的作用,但随着人们生活水平的提高,在实际生活中人们已经用洗手液取代肥皂。洗手液是一种以清洁手部为主的护肤清洁液,其中一些特定的成分可以起到消毒和杀菌的作用。为了方便存放和使用,通常洗手液瓶或洗手液盒的盒盖上都安装有按压泵头,通过按压泵头可以将洗手液从瓶体中压出。
日常生活中,我们只知道通过按压泵头能够将洗手液按压出来,却未必知道其原理,基于这种情况,笔者检索了一些相关的专利并进行分析,希望通过对按压泵头相关的技术的分析,帮助各位专利代理师更好的理解此领域技术。
四种类型的洗手液泵头
1、一种上出液的洗手液存放装置
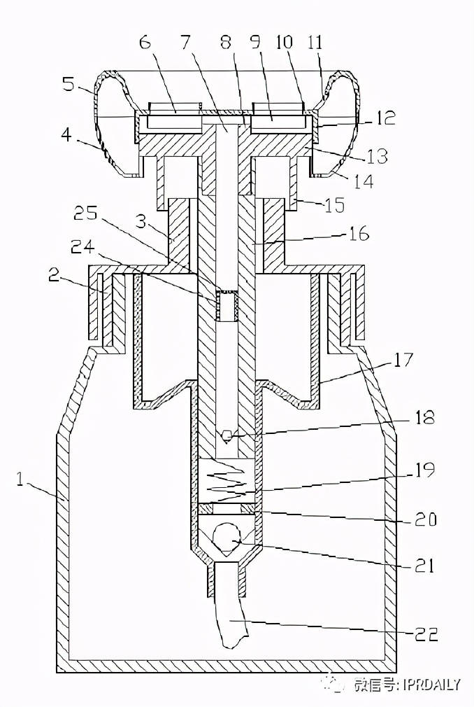
目前的洗手液出口均设置在按压头的侧方,使用时需要一手按压,另外一手去接洗手液,如果仅用一只手既按压又去接洗手液,洗手液瓶不稳定,而且对于儿童来说,由于手掌较小,必须使用双手才能完成洗手液的按压出液。因此现有技术中的洗手液盒或洗手液瓶在使用的方便性上还存在不足。针对该问题,东营市浩瀚生活科技有限公司2019年申请了一种上出洗手液存放装置(公告号:CN110179379A),该专利能够实现单手按压出液。
该专利产品在使用时,将洗手液盛放于盒体1内,需要洗手液时,单手手掌对按压环5进行按压,出液管16带动单向阀I18向下移动,弹簧19被压缩,两单向阀之间的空间变小,压力增大,使单向阀I18被打开,允许洗手液通过,洗手液经过发泡网25后形成泡沫状,泡沫向上移动并经分液孔6喷至手掌上,手掌离开按压环5时,在弹簧19的作用下,出液管16上移,两单向阀之间的空间变大,单向阀II21被打开,盒体1内的洗手液被吸入至两单向阀之间,完成洗手液吸入。在第一次使用时,可先进行多次按压,使洗手液和泡沫充满于出液管16内。该洗手液存放装置打破了传统的洗手液从侧方喷出的结构形式,使洗手液从上方喷出至手掌,单手即可稳定完成洗手液的按压出,操作更加方便。

2、一种捏压式玫瑰泡沫容器
现有的按压后顶部出液的包装容器,按压后内部溶液呈花瓣状从顶部出液,样式新颖,但其结构非常复杂,成本高昂,并且按压力度不容易控制,容易大量压出内溶液造成浪费。针对该问题唐隽涛于2017年申请了一种捏压式玫瑰泡沫容器(公告号:206704854U)。
通过在瓶子、软管和罐子等配置有泵或阀门的包装容器本体上安装本按压出液装置,按压盖子1两侧的第一按钮4和第二按钮5到底,第一按钮4和第二按钮5端部斜面作用于活塞斜面,迫使活塞2下移,此时活塞2的顶面201与盖子1中间呈现有储液腔,活塞2下端部连接有泵芯,通过泵芯吸入内溶液从容器本体进入到出液通道204,再到储液腔,此时松开手,在弹簧6恢复力的作用下第一按钮4和第二按钮5恢复原位,泵芯内弹簧6复位推动活塞2上移恢复原位,随着活塞2上移,将内溶液顶出出液腔,从出液孔105出液。出液口105的形状是花瓣形、一字型、米字型、各种字母或数字形状,不同形状的出液口105具有不同的出液量,不仅外形美观,而且可以满足不同使用者的爱好以及需求。

3、一种清洁用泡沫气液混合发生器
市面传统清洁用泡沫气液混合发生器多采用单网发泡或双网发泡,其中单网发泡效果不佳;双网发泡制造工艺复杂且不易控制,制造不良率高,成本大。针对该问题中山微特美电子科技有限公司2019年申请了一种清洁用泡沫气液混合发生器。
该发生器通过将一号混合室12截面设置为T形,且直径较小的一端与洗手液进口13相连通,在与洗手液罐相连的泵的作用下,能够使洗手液拥有大的喷射力度,洗手液大量扩散在一号混合室12内,从而与经横向通道8送入的空气发生冲击,形成较大的泡沫,在较大的洗手液泡沫经漏斗状的入口7进入二号混合室23时,受到入口7的挤压,再经二号混合室23释放,从而能够形成较为细腻的泡沫,整体发泡效果好,泡沫制造简单,容易控制。

4、脚踩式自动洗手液喷洒装置
以上洗手液的泵头都是通过手掌将洗手液从瓶体中按压出,当人们使用洗手液时手部往往并不干净,若直接以手按压洗手液瓶的按压头时,必然会让手上的污渍污染到按压头上而造成污染,当另外一个人使用时,就会造成交叉污染,这种使用状态显然不符合卫生标准,尤其是在医院或餐厅等公共场所。针对该问题山东消博士消毒科技股份有限公司2015年申请了脚踩式自动洗手液喷洒装置。
该装置包括洗手液瓶1,洗手液瓶1顶部设置按压头9,还包括固定架2,液压气泵3和脚踏式开关4,液压气泵3固定在固定架2顶部,洗手液瓶1卡接于固定架2中,液压气泵3的活塞头6顶在洗手液瓶1的按压头9上,液压气泵3通过气管5与脚踏式开关4连接,固定架2上设置若干固定孔8,通过固定孔8可将固定架2固定在墙面上。
该专利的原理是:使用时,使用者通过踩踏脚踏式开关4从而启动液压气泵3,液压气泵3的活塞头6向下顶洗手液瓶1的按压,从而将瓶体中的洗手液由按压头9的出口处按压出。

总结
以上就是几种关于洗手液按压泵头的专利,其主要是利用负压将洗手液从瓶体中吸出,泡沫型的洗手液还进一步的利用安装于按压泵头内的发泡网使洗手液在被吸出的过程中形成丰富的泡沫,但无论具体使用什么样的结构实现洗手液的按压出液,都需要用正确的洗手方式才可实现杀菌的效果,最后再次提醒大家,洗手要用流动的水、肥皂或消毒洗手液洗手,时间不少于20秒。
参考文献:
1.万象云数据库
来源:IPRdaily中文网(iprdaily.cn)
作者:王雪莎 超凡知识产权服务股份有限公司
编辑:IPRdaily王颖 校对:IPRdaily纵横君