近日,被凯越归来的消息刷屏,上汽通用官微以“车坛长青十三载 归来依旧是少年”推文,一时间不少媒体争相转载,似乎都在热烈欢迎凯越归来。

犹记得,2016年8月8日,上汽通用汽车金桥生产基地迎来最后一台别克凯越的下线,至此,这款于2003年4月19日登陆中国、历经13年市场洗礼、累计销量达到268万台的传奇车型正式宣告停产,不少消费者为之惋惜,而近期宣布回归的凯越确实勾起了不少消费者的回忆,也引发了一场“歌颂情怀”的热潮。

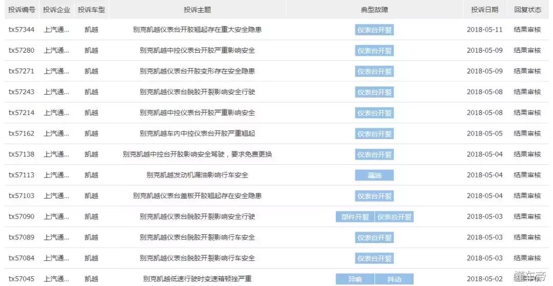
提到凯越,还有一个不得不说的问题,那便是仪表台开裂。即便凯越已经停产一年多,但车主对其质量投诉却从未停止,使得凯越经常登上汽车投诉排行榜。

别克凯越仪表台脱胶,多表现为仪表台上方面板起固定作用的胶水失效,导致其与相邻面板之间脱离开缝,此时并不易察觉。但往往经过不断的日晒和颠簸后,面板边角处会出现严重变形并向上弯曲,将内部结构暴露在外。

别克凯越仪表板脱胶翘起,不仅仅严重影响了车辆内饰的美观性,更成为了日常使用当中的潜在危险。一方面,仪表台面板翘起的尖锐棱角可能在与人体发生擦碰时会造成危害,还可能对驾驶员视线造成一定影响;另一方面,副驾前方开胶的面板下覆盖着安全气囊,如若发生碰撞气囊弹出,巨大的冲击力可能将仪表板一并弹起,对车内乘员造成二次伤害。而关于这项缺陷的投诉最早可以追溯到2013年,涉及到2008款以后的所有凯越车型。
别克凯越车型出现仪表台面板脱胶、开裂问题时往往车辆已经出保,而车主联系4S店想要进行处理时,大部分的处理方法也仅仅是使用胶水进行重新固定,甚至还有不少车主在重新粘贴后再次开胶。

而近日汽车门网回访投诉车主时获悉,上汽通用针对仪表台开裂问题已经给出了处理方案,不过是在暗中进行,而且上汽通用向4S店提供了免费维修名单,名单中只针对08款部分车型,不在名单范围内的车辆需要自费维修,维修费用在600-1200之间,具体费用视开胶程度而定。
事实上从常理来讲,车辆出现保质期以外的质量问题,生产企业无需担责。但问题是,仪表面板开裂现象一不发生于易损部、二非人为损坏、三则其他品牌鲜有发生,把售后责任全部推给车主有欠公允。消费者投诉这么久,就给出这样的方案,实在是让消费者感到失望。
编辑点评:正值凯越回归的时刻,上汽通用发出此方案,是真心想为消费者解决问题还是想暂时堵住悠悠众口我们不得而知,但我们知道的是凯越回归后如果还想继续之前的传奇,或许并没有那么简单。