汽车行业遭遇寒冬,车企的日子也不会好过,尤其是在行情好时业绩不突出,等到行业形势急转直下,这类车企就会爆出各种问题。华晨汽车债务暴雷就是最典型的案例。
据媒体报道,华晨汽车已欠千亿巨债,而在平时,大家只是觉得华晨汽车推出的新车少了,汽车销量急剧萎缩,却根本不知其欠下如此之多的债务,让市场一片哗然。
汽车民生网最近梳理车企半年报时发现,江淮汽车也存在资金压力的隐忧。

江淮汽车发布的2020年上半年业绩报告显示,上半年江淮汽车实现营收249.41亿元,同比下降7.63%;归属于上市公司股东的净利润由盈转亏,亏损约1.47亿元,去年同期净利润约1.25亿元,同比下降217.84%。

此外,江淮汽车控股的安凯客车也出现资金紧张。其在今年8月20日发布的中期报告显示,上半年,公司净亏损达1.12亿元。为缓解资金紧张,安凯客车还在加紧通过卖地、卖股权等方式,加大资产变现力度。
我们知道,早在前几年,江淮汽车就与蔚来汽车合作,代工生产蔚来汽车,还与大众深度合作,代工多用途车辆销往海外。即使有这样的“外力”相助,仍然没有给江淮汽车带来实质上的业绩转变。因此,业内人士认为,江淮汽车业绩不佳,问题还是出在自身。
查询江淮汽车的产品,包括即将上市的嘉悦X8在内,江淮汽车目前在售的汽车多达27款,产品覆盖乘用车、SUV、MPV、皮卡、纯电动车等,如此多的车型,加上丰富的产品阵容,江淮汽车却没能从它们身上赚到钱,反而亏损1.47亿,实在是说不过去。

再来看看江淮汽车上半年的销量情况。
据了解,2020年上半年,江淮汽车销售各类汽车20.94万辆,同比下降10.97%。其中轻型货车(含中型货车)10.82万辆,与去年同期基本持平,重型货车销售2.71万辆,同比上升24.20%,MPV销售1.55万辆,同比下降24.91%,SUV销售3.05万辆,同比下降37.22%,纯电动乘用车销售1.71万辆,同比下降56.22%。2020年上半年,公司实现出口1.51万辆,同比下降39.61%。
在乘用车领域,江淮汽车上半年整体销量是下降的,虽然有疫情因素的影响,但销量下滑远超行业平均水平,确实值得反思。
江淮汽车的产品质量问题也一直是媒体关注的重点。早在2013年,央视315晚会就报道了江淮同悦汽车生锈的质量问题。


据了解,当时,一些刚买了一两年的江淮同悦轿车车主发现,车身上莫名其妙地出现了很多鼓包(像牛皮癣一样,那边冒一点、那边冒一点)。起初以为是漆面问题(4S店在车主没了解真相之前,也大多推说是漆面问题,但鼓包产生的实际原因是由于生锈造成的),直到有些车辆出现了“锈穿”现象之后,车主们才发现真相——车身漆面之所以出现鼓包,是由于钢板生锈造成的。由于钢板是从内向外锈蚀,等到车主发现时,往往钢板锈蚀已经很严重了。车主们查找资料发现车辆生锈1%的话,它整体的安全性能会下降5%到10%,因此对汽车安全产生了担忧。
江淮同悦事件发生后,江淮汽车积极采取相应措施,将已经销售给客户的江淮同悦轿车进行了召回处理。但是,江淮汽车留给人们的质量差的印象,一时难以抹去。
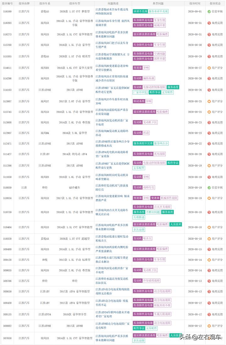
在汽车消费投诉处理服务平台的车质网上,汽车民生网发现,仍有不少江淮车主在该平台上发布了大量的汽车质量投诉问题,比如,有车主投诉江淮2017款iEV6E车型电驱动控制器故障,江淮厂家无法提供相应配件;2018款江淮瑞风R3转向机、发动机异响,希望厂家能够及时解决,等等。

此外,江淮汽车生产的车型多以低端为主,而且同质化现象严重,这对销量都会构成一定影响。
另外,很多国内车企的资金状况,靠政府补贴也会让帐面好看。就拿新能源汽车补贴来说,它不是说你现在卖了车就可以马上拿到补贴,有时得等一两年才能一次性收到补贴款,因此,靠政府补贴往往会给企业业绩带来不确定性,因为补贴政策总是在动态调整的过程中。
早前江淮就拿过新能源汽车补贴款,也许在下半年一旦拿到了补贴款,就会对业绩形成实质上的利好。但是,一个企业总是靠补贴过日子,往往存在很大的风险,一旦补贴“断奶”,车企又会瘦成“皮包骨”,实在难言健康。
江淮汽车面临的处境,值得高层重视并及时采取措施,只有遏制业绩下滑,才能保存有生的力量,在行情转好时又可大显身手。