中国高校数量众多,本专科院校将近3000所,其中最强悍的当然是985院校,在国内的高校数量仅有39所,这些院校已经成为了家长和学子理想中的名牌大学,也是用人单位招聘的理想生源,事实上中国共有116所211院校,211院校中包含了39所985院校,其余的77所纯211院校也是很多学子心目中的理想院校!

今天小编跟大家聊聊同样位于首都北京,一所被称为末流985院校的中央民族大学和另外一所被称为顶级211院校的北京科技大学,这两个院校你会怎么选!
两校地理位置
中央民族大学和北京科技大学均位于中国首都——北京,北京是世界著名的历史文化名城,也是国际化大都市,著名的一线城市,北京历史文化悠久,高校数量众多,也是很多著名企业的总部所在地,每年都是考生与家长关注的热门城市,因此,北京高校因为优越的地理位置,相对来讲分数线均高于其他省市高校!

两校优势学科
中央民族大学是世界一流大学建设高校(A类),也是著名的985工程建设高校!
中央民族大学双一流学科:民族学(1个)

在第四轮学科评估中,中央民族大学共有19个学科上榜,其中最好的学科是民族学,被评为A+,社会学和中国语言文学等两个学科被评为B+,具体可见下图!

北京科技大学是211工程建设高校,世界一流学科建设高校!
北京科技大学双一流学科: 科学技术史、材料科学与工程、冶金工程、矿业工程等4个
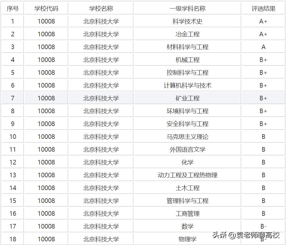
在第四轮学科评估中,北京科技大学有25个学科上榜,其中最好的学科是科学技术史、冶金工程等,被评为A+,材料科学与工程被评为A,其他的机械、计算机等工科类专业被评为B+,学科实力非常不错,具体可见下图!


从优势学科对比来看,中央民族大学除了民族学为强势学科之外,其余优势学科数量均少于北京科技大学,学科实力也偏弱一些!
两校历史起源与规模
中央民族大学的前身是1941年9月中国*产党共**在延安创办的民族学院。1951年6月,中央民族学院在北京正式成立,*兰夫乌**任首任院长。1993年11月,更名为中央民族大学。

中央民族大学开设67个本科专业;有5个博士后科研流动站,6个一级学科博士学位授权点、27个一级学科硕士学位授权点,19个专业硕士学位授权点。
1952年,由北洋大学(现天津大学)、清华大学、唐山铁道学院、山西大学、北京工业学院、西北工学院等高校的部分系科组建为北京钢铁工业学院;1960年,更名为北京钢铁学院;1988年,更名为北京科技大学。

北京科技大学设有14个二级学院、55个本科专业;拥有17个博士后科研流动站、20个一级学科博士学位授权点、30个一级学科硕士学位授权点、82个二级学科博士学位授权点、140个二级学科硕士学位授权点、15个硕士专业学位授权点。
中央民族大学除了本科专业数量多于北京科技大学之外,其硕士点、博士点数量均少于北京科技大学。
两校综合排名对比
以2022年软科高校排名来看,北京科技大学位居北京市高校排名第9位,全国第36位,中央民族大学位居北京是高校第27位,民族类高校第一位,全国第101位。北京科技大学明显排名领先于北京科技大学!

两校录取分数线对比
以北京市2022年高考录取为例,中央民族大学在北京市综合本科批普通类录取最低分为616分,北京科技大学在北京市综合本科批普通类录取最低分为619分,两校录取分数线大致相当,北京科技大学略高几分!


总结
中央民族大学是民族类高校,也属于照顾性985高校,除了民族学专业之外,其余专业相对来讲偏弱一些,当对于很多考生来讲,追逐985的名头,未来对于考研、考公考编等途径来说,具有一定的优势,这一点是985高校很大的优势所在!

北京科技大学这些年发展非常不错,虽然不是985高校,但排名在211高校前列,其有钢铁学院的基础,因此其冶金、机械、计算机等工科类专业非常不错,由位于北京这样的一线城市,对于考生的吸引力很强,录取分数超过了很多省外的985高校!

考生可以根据自己的专业喜好进行院校选择,祝愿所有考生都能进入自己满意的高校,学习自己喜欢的专业!