近日,据业内媒体报道,上海芯联芯智能科技有限公司(以下简称“芯联芯”)内部又发生重大变故,其CFO(首席财务官)Sean Chen因为发现公司业务部门合同疑似不合规,从去年11月份至今共通过五六封邮件就此事发表意见,而被公司实控人石克强单方面解除了劳动合同。目前Sean Chen已经在上海浦东新区对芯联芯提起了劳动仲裁。
除此之外,芯联芯还有多位项目经理离职,SoC核心技术负责人之一近期离职,IP研发负责人也以提供咨询服务的方式变相离职。似乎芯联芯内部员工都不看好芯联芯的发展前景,也可能是担心芯联芯疑似违规的操作会祸及自身,提前与之撇清关系。
芯联芯是如何获得政府补贴的?
芯联芯最近刚入选“第五批国家级专精特新‘小巨人’企业”,其官网称“代表着国家和上海市相关部门对芯联芯在我国半导体芯片领域发展的重要认可”。

但是却有媒体爆料,为了获得政府补贴,芯联芯疑似有违规操作的嫌疑。
首先,根据《2023上海市各区县专精特新补贴汇总》中的说明,上海的每一个区都有不同的补贴规定。其中芯联芯所在的浦东区对年度首次认定、新引进的“国家级专精特新‘小巨人’企业”补贴上限是100万元。100万元的数额并不大,应该不会令芯联芯的员工们感觉到危险。关键是“小巨人”的头衔是一块敲门砖,有助于获得其它的政策优惠。
再比如,根据2023年的“上海市企业技术中心”认定补贴的相关规定,芯联芯可能有资格再获得500万元的补贴。根据上海市《2023 年中小企业发展专项资金指南》,芯联芯还可能再获得100万元以上的补贴和一定额度的*抵押无**信用*款贷**。除此之外,芯联芯在其它城市、其它区域建立的子公司,也能获得包括补贴在内的各种优待。
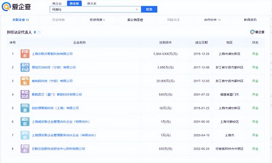
全国范围内成立多家子公司
通过查询得知,芯联芯在2021年已经在厦门市集美区成立了一家全资子公司,2023年6月又在厦门市的湖里区成立了一家经营范围相近的全资子公司。

今年成立的那家公司暂时没有年度报告,不知道具体的员工数量。2021年成立的那家公司缴纳社保的人数则是0人。如果查询到的数据是正确的,也就是说这家公司虽然已经成立了两年多,但一直没有员工。即使办公地点有人在办公,他们也不是这家公司的员工。宁波的那家子公司也是相同的情况,缴纳社保的人数是0。
最近成立的子公司极有可能也是相同的情况,办公地点都是写字楼里的房间,企业年报上的员工数量为0。不过也不排除查询到的数据有误,或者工作人员是由母公司派遣的可能性。但芯联芯目前查到的参保人数仅仅47人,如果每家子公司都需要一些行政和市场人员,那么不知道芯联芯的47人中有几个人在研发芯片?
在同一个市的两个区分别成立两家疑似0员工的子公司,笔者觉得不是很能理解,但可能与每个区都有单独的补贴政策有关。
厦门市对企业研发的补贴要比上海大方得多,除了与上海类似的“小巨人”补贴之外,按照《2023年厦门企业研发费用补助》的说明,如果企业与高校、科研院所等共建联合实验室,最高可以补助1000万元。为了鼓励企业加大研发投入,对于企业年度自主研发费用高于200万元的最高补助500万元。对“揭榜挂帅”项目给予支持最高可达1000万元。对创新联合体申报科技项目给予最高2000万元资金支持。除此之外,还有其它的林林总总的细碎补助和奖励,加起来数目可观。
如果只有这几家公司,想获得几千万元的补贴其实很困难,因为竞争者的数量也很庞大。但只要公司的数量足够多,分布的城市足够广,那么获得补贴的机率就会大增。比如芯联芯的法人何薇玲同时也是另外一些公司的法人,何况他们是一个团队,并不只有何薇玲一个人。

上表中的8家公司,除了第1家和第8家之外,查到另外6家公司缴纳社保的人数加起来也只有1个。假如数据无误,那这6家公司究竟是如何运作?有一天,答案终会揭晓….