受疫情的影响,很多用户都想把考试搬到线上进行,首要的工作便是选择一款好用的 在线考试系统 ,大部分用户在进行第一步工作时就犯了难,要知道现在的在线答题系统功能各异,有的滥竽充数功能简单,有的货真价实专注于线上答题考试全功能,而大家往往都是初次接触在线答题系统,对系统所拥有的功能没有基础的了解, 不知道如何判断一款在线考试系统是否好用?

一般来说,一个优质好用的在线答题系统必须具备完善的功能和超强的系统稳定性。
1、从题型上来说:支持各类题型,满足所有考试需求。除了支持基础题型外,还可自定义题型,比如阅读理解题、论述、组合题都可以,基本满足考试的需要。
2、从题目设置上来说:需要支持一键导入试题,多种试卷类型,方便快捷。支持可视化批量新增试题,支持word、Excel、TXT导题模板一键导入试题;导入试题时,系统会自动检测相似题目和试题格式,并给出相应的提示,避免试题的重复录入。

3、从组卷方式上看:需要具备多种试卷类型,以便满足不同的组卷需求。
如何判断一款在线答题系统是否好用? 在线答题系统需要拥有灵活的组卷策略,不拘泥与一种组卷形式。其中,固定试卷是指由出卷人手动选择试题,考试时所有考生的题目都是相同的,适合正式的考试。随机试卷是指在试题库内,抽取指定数量的试题,然后系统进行随机的抽题组卷。
4、从考试功能设置上来说,模拟真实的考试情境。在试卷模式上颇为创新,不只有整卷模式,还有“逐题模式”,即页面中每次只显示一道题,比较干净整洁。在防作弊设置中,除了限制切屏次数、禁止考生复制、粘贴、剪切以外,还有更多智能防作弊功能,有效保障每场考试的公平公正!

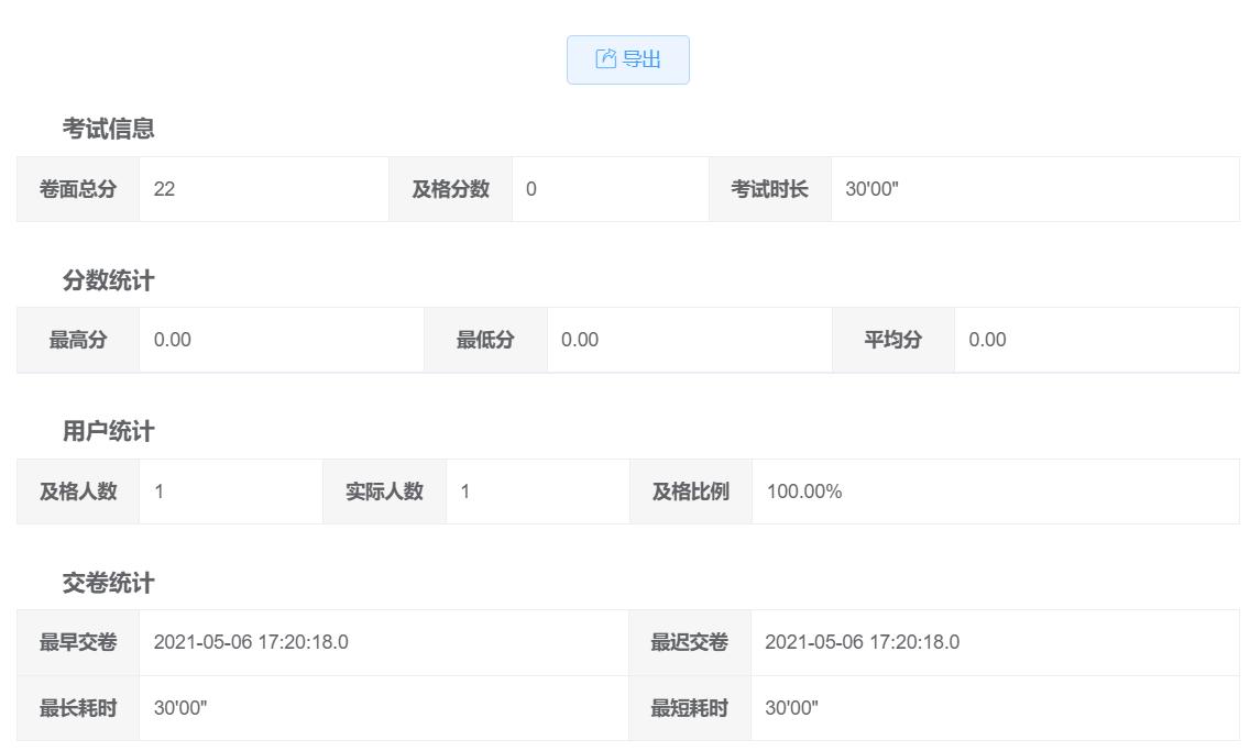
5.、从数据统计分析方面来看,自动生成精准的数据报表,大大提高了工作的效率。可选择系统自动评卷、人工评卷或者邀请他人评卷。报表中心从成绩、考生、答题这三个方面进行了数据的统计和分析。其中,考生成绩报表把考试的参考情况、得分率,及格率,平均分,最高和最低分等信息汇总;以及参加这场考试的所有考生的分数、考试用时、正确率、得分率、排名情况详细的展示出来。

如何判断一款在线答题系统是否好用?
如果一款 在线答题系统 满足小编上述所描述的几点功能,则一般都可以灵活的组织在线答题考试。如轻速云在线答题系统,可以满足所有的线上答题考试的需求,并且操作简单易上手;考试性能更是安全可靠,支持万人超高并发,并有多个十万人同时在线考试经典案例。如果您有组织线上考试答题的需求,不妨点击轻速云考试平台免费注册账号使用吧!