本文首发于公众号:“工具严选工作室”
如果说高速钢麻花钻的发展历程算得上一部全球工业发展史缩影的话,那么电锤钻头就可以算得上一部近代建筑工程的光辉历程.
自1914泛音FEIN公司开发了第一把气动锤开始,到1932年博世公司开发的第一个电锤SDS系统,到后期1975年博世与喜利得联合开发的SDS-Plus系统. 电锤钻头就一直是建筑工程,家装里最重要的耗材之一,
FEIN 泛音发明的第一把气动锤

说到电锤钻头,我们首先要搞清楚什么叫电锤?
电锤是在电钻的基础上,增加一个由电动机带动有曲轴连杆的活塞,在一个汽缸内往复压缩空气,使汽缸内空气压力呈周期性变化,变化的空气压力带动汽缸中的击锤往复打击钻头的顶部,相当于用锤子敲不断敲击旋转的钻头.
由于电锤钻头在转动的同时还产生了沿着电钻杆的方向的快速往复运动(频繁冲击),所以它可以在脆性大的水泥混凝土及石材等材料上快速高效率打孔,不需要手使多大的力气,但它不能在金属,木材,塑料等材料上开孔。

缺点是震动大,对周边构筑物有一定程度的破坏作用。对于混凝土结构内的钢筋,普通钻头无法顺利通过,震动也会带来大量的粉尘,震动的同时也带来了大量的噪音,不带好足够的防护用具有害健康.
什么是电锤钻头?
我们大约可以从如下几个方面对锤钻头进行解析;
PART 1 , 钻柄
SDS-Plus -俩坑俩槽圆柄
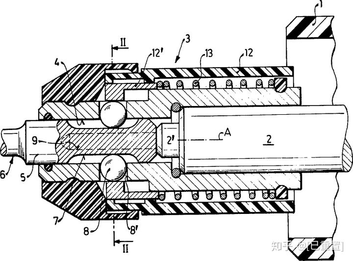
与电锤适配的耗材就是我们要讲到的电锤钻头. 提到电锤钻头就不能不讲到博世BOSCH在1975年开发的SDS系统,原来的SDS钻头长什么样子已无从得知,现在所熟知的SDS-Plus系统是由博世BOSCH跟喜利得Hilti公司一起开发的.
名称来自德国“ S tecken – D rehen – S ichern”(插入–扭曲–安全)。英文一般译为 “ Spannen durch System”(快换夹紧系统)。SDS-Plus (通常也被称为 SDS+ ). 即我们国内所熟悉的俩坑俩槽圆柄,

SDS Plus的优点是可以把钻头简单的推入到弹簧式钻夹头中而无需拧紧。钻头不会牢固的固定在夹头中,而是可以像活塞一样来回滑动。(原理如上图)
由于圆形刀柄的俩个坑的设计,会使钻头卡在夹头内,在旋转过程中不会打滑或者飞出。俩个槽可以加快钻头的高速锤击,提高锤击效率. 这使得使用SDS柄钻头进行锤钻的工作效率比其他类型的柄高得多。为此制成的整套柄和夹头系统特别适用于锤钻钻头在石头和混凝土中进行锤钻开孔。
SDS快速释放系统是当今锤钻头的标准连接方式。它保证了来自电钻本身的最佳功率传输,同时提供快速、简单和安全的夹紧钻头的方式。

SDS-MAX -五坑圆柄
然而SDS-Plus 也有局限性,SDS-Plus 柄部直径为10mm, 在钻中等以及较小的孔时,完全没有问题,但遇到大孔深孔的时候,就会扭矩不够,导致钻头在工作的时候卡住,柄部的断裂.
于是在SDS-Plus的基础上,BOSCH公司再次开发了三槽俩坑的SDS-MAX. SDS Max柄上有五个凹槽: 三个是开放式槽型的,两个是封闭式的(防止钻头飞出卡盘)。即我们俗称的三槽俩坑圆柄,也叫五坑圆柄. 柄部直径达到了18mm. 与SDS-plus相比,SDS Max 柄的设计更适用于重型的工作场景,因此,SDS Max 柄拥有比SDS-Plus更强的扭矩,适合更大直径的锤钻头的大孔和深孔作业.
很多人曾认为,SDS Max系统是被设计用来取代老的SDS系统。事实是该系统的主要改进之处在于允许活塞有更大的行程,因此当活塞撞击钻头时,撞击更有力,钻头切削更有效。尽管是SDS系统上进行了升级,然而SDS-Plus系统并不会因此淘汰,SDS-MAX 18mm的柄径,在加工小规格钻头的时候,成本会居高不下,不能说是SDS-Plus替代,更应该说是在这个基础上进行补充。
在国外,关于电锤与钻头的使用有着较为严格的区别,如下图,不同的电锤重量,不同的钻头规格,均有着适合自己的柄型与电动工具.

从市场上看,SDS-plus是最常见的,通常适配的钻头直径4mm至30mm(5/32英寸至1-1 / 4英寸)的锤钻头。总长度最短约为110mm,最长的一般不会超过1500mm。
SDS-MAX 一般用于较大规格的开孔与电镐上,适配的锤钻头尺寸一般在1 / 2英寸(13mm)到1- 3 /4 英寸(44mm)。总长度为一般为12到21英寸(300到530mm)。

SDS-Plus 与 SDS-Max均是博世公司的注册商标与专利,虽然系统的专利保护期已经过了,但是商标仍属于博世公司,如果想要在钻上打上SDS-Plus与SDS-Max的标记,仍需要获得博世公司的授权,而且博世公司授权同我们后面要讲到的PGM认证一样非常严格,且仅仅授权通过博世测试的规格,没有通过测试的是不能打SDS-Plus与SDS-Max标志的,所以国内有厂家说获得了这俩个授权,有可能只是某几个规格而已哦.
BOSCH 授权 SDS-MAX 使用声明

在SDS的基础上,人们又相继开了比如Hiliti的TE-S ,长六角型等. 但都不是主流
长六角柄钻头

四坑方柄
在我国,可能接近90%甚至更多的地方,使用的都是四坑方柄电锤钻,四坑方柄的原理与SDS-Plus一样,结构是方型的,没有槽,是真正的四坑.在常规使用中,四坑方柄与SDS-Plus四坑圆柄并无太大的区别.
关于国内为什么大规模使用方柄,而没有使用SDS-Plus圆柄的原因,很多的信息已经不可考了,国内一众的厂家很多也完全不知道为什么,只知道市场有这个,别人需要这个,我就做这个,综合了诸多行业老师傅的信息来源,我比较确信的原因如下;
由于博世专利问题,最新使用的四坑方柄的是日本的Makita Hitachi等日本知名电动工具,方柄结构最早进入中国市场进行推广就是当年的日本这俩个品牌,随着国内工业水平的逐步提高,我们对日本电动工具进行了仿造,并迅速的推向市场,由于方柄与圆柄在常规的使用场景上并无太大的区别,而我们民间一旦习惯了某种产品的使用习惯,除非有颠覆性的功能性改动,否则很难推动新的产品格式,且改新换代会造成大规模的库存,没人愿意把库存留在自己家里,厂家也往往都是根据需求来造工具,所以我们自然而然的沿袭了方柄的这一传统,
然而事实上,方柄也没有人宣称有所谓的专利问题,为什么日本或者欧美都不再使用方柄,即使是博世,作为中国市场高档电动工具市场最大份额占有者,为什么一直迟迟没有推出方柄的电锤与钻头,任由中国厂家自己的品牌在迅速的国内发展,最终失去了中国电锤市场的主动权,在内销市场上,中国国产品牌的电锤与钻头占有率达到了80%以上.
我认为这个时候博世是在坚持精工制造,精工品质的理念.
为什么这么说?
在装配上,圆柄的俩坑俩槽设计比方柄的纯四坑设计有着与夹头本身更好的契合度.
在精度上,你会发现除了中国市场的方柄锤钻头外,几乎所有的钻头用的都是圆柄,圆柄有着天然的更高的同心度,跳动等.
话说博世要坚持到现在还是不推出方柄的话,还真值得我们一个敬礼.可惜,最终博世还是抵挡不住中国市场的巨大诱惑,在早俩年还是推出了方柄电锤钻机,但最终还是无力回天,想再去挽回这个市场,在众多的既有国产品牌里去抢饭碗终究难于登天.
值得一提的是国内的方柄锤钻机大都采用了比较重型的机器,在圆柄轻锤领域博世一直占领着市场主导地位.

PART 2 钻杆
常规型
钻杆通常采用碳素钢,或者合金钢40Cr,42CrMo等, 市面上的锤钻头,大都采用了麻花钻形式的螺旋形,最初设计的槽型,仅仅是用于简易的排屑.
后来人们发现,不同的槽型,不仅能增加排屑,而且能延长钻头的寿命,比如某些双槽钻头,在槽内加了一条切屑刃,在排屑的同时,还能对碎屑进行第二次切屑,保护钻体,增加效率,减少钻头的发热,延长寿命等.

无螺纹-吸尘型
在欧美等发达国家,使用锤钻属于高粉尘作业环境,算高危行业,钻削效率并不是唯一的目的,对既有位置的精准开孔以及作业人员呼吸的保护才是至关重要的,于是就有了无尘作业的需求,在这种需求下无尘钻诞生了.
无尘钻,通体无螺旋,在钻头头部开孔,灰尘全部通过吸尘器从中间的孔吸走了,不过作业要带吸尘器,管子等,在并不是很注重个人防护安全的中国,工人闭着眼睛憋会气几分钟的的事,这种无尘钻在中国短期几乎是不大会有市场的.

PART 3 刀片
头部刀片一般采用YG6或者YG8或者更高牌号的硬质合金通过铜焊镶嵌在本体上,众多的厂家也已经把焊接技术也已经从原来的手工焊接,已经实现了自动焊.
部分厂家甚至从断料开始,冷镦柄部的一次性成型,自动铣槽,自动焊接,基本都实现了全自动化.博世公司7系的钻头甚至采用刀片与钻杆的上下摩擦焊接. 再度把钻头的寿命与效率提高到了一个新的台阶.
视频加载中...
常规需求的电锤钻头刀片,一般的硬质合金工厂都能满足,比如浙江方大就有自己硬质合金工厂,高端的钻头片还是依靠进口,进口目前最好的是卢森堡系的Ceratizit品牌的合金为最佳
普通常见的钻头刀片均以单刃的形式出现,为了满足效率与准确的问题,越来越多的厂商,品牌商开发了多刃尖的钻头,比如“十字刃”人字刃“”“多刃尖”等

PART-4 锤钻头的延伸
冲击钻头
冲击钻与电锤钻一样都带有冲击功能,不同的是冲击钻是利用内轴上的齿轮相互跳动来实现冲击效果,冲击力远远不及电锤。它不适合钻钢筋混凝土,一般只用于家装,装修等工作场景. 与冲击钻适配的耗材为冲击钻头,
通常也可以叫,水泥钻头,石工钻头,建工钻头等. 冲击钻头除了柄部与电锤钻头不一样,其他基本一致.
一般的家装场景都是在非承重的砖墙,水泥,轻质混凝土等结构,太大的冲击力度会导致预打的孔变得太大无法与膨胀螺丝做最好的契合,甚至可能会对砖墙结构的周边造成一些破坏,专业的家装开孔一般都会采用冲击钻.
这样的前提条件往往会对切屑性能与效率要求不会太高,所以市面上的冲击钻头,几乎全部采用了一字刀头,由于钻机的设计结构为齿轮滑动冲击,力度不需要太大,冲击钻的夹头采用了与常规电钻一样的三角爪钻夹头,钻头柄部也一般采用圆柄或者三角柄以及一些适配于冲击起子的快换六角柄等. 螺旋排屑槽也大都为普通螺旋槽.
但是国内的家装工程一般都是快装为主的,工人师傅基本采用的是锤钻,锤钻能对这些砖墙结构实现迅速开孔,或者拿普通枪钻手动硬顶也能实现开孔,并且还不需要购置另外一把钻头,所以冲击钻在我们这里并不是非常普及.


多功能钻头
多功能钻头跟冲击钻头唯一的区别就是,多功能钻有对头部的刀片进行第二次磨刃处理,切屑时候是非常锋利的,能对一些硬的材料实现迅速的开孔.
而冲击钻头与电锤钻头的刀片都是不磨刃的,无论是冲击还是锤击除了旋转运动 还多了一个高强度的轴向运动,如果进行磨刃,特别是锤钻头,碰到较硬的石子或者钢筋分分秒秒就会把刀片崩掉.
刀片在热处理后洛氏硬度一般可达HRA90以上,磨过刃后不加冲击的情况下能轻松应对各种工作场景,比如薄铁板,瓷砖,玻璃,一般的砖墙结构等.

瓷砖/玻璃钻头
瓷砖钻头一般也采用与锤钻头/冲击钻头一样的硬质合金,一般的玻璃与瓷砖的材料都不会太厚,仅仅用头部的合金部分即可进行排屑,所以一般这种钻头都是直杆焊接上刀片即可.
值得注意的是,一般的地砖或者全抛釉瓷砖硬度一般达到了莫氏5-8级,采用硬质合金的瓷砖钻头硬打,即使在加水冷却的情况下也会把钻头烧坏或者磨坏的,对这种材料开孔一般需要硬度更高的莫氏10级的金刚石开孔器.
所以一般有厂家说他的瓷砖钻能打地砖或者全抛釉砖,这是不符合物理常识的.

开墙钻
开墙钻一般采用与电锤钻一样的柄型,头部则采用开孔器形式的钻头,在开孔器上铜焊上硬质合金,通常用于家装的空调孔,排气孔等预装孔的开孔.
这种开孔器只能用于一般的家装场景,而在建筑工程钢筋混凝土上用的开孔器一般则为钎焊或者烧结的金刚石的薄壁工程钻,我们国内称为水钻头.

电锤凿子
应该这么说,锤子的应用更早于锤钻,现代的电镐凿子与锤钻隶属同宗同源,现代电锤凿子广泛应用于管道铺设、机械安装、给排水设施建设、室内装修、港口设施建设和其他建设工程施工,在大型或者重型的破碎工程项目,人们一般还使用气动镐凿,适用的配件我们一般叫镐钎或凿子、镐铲等,能对混凝土、砖石结构、沥青路面进行破碎、凿平、挖掘、开槽、切削等作业.
电锤凿子几乎与电锤钻头同步的柄型,类似的设备,现在很多的电动工具机型都同时配备了能单独锤与锤钻的多功能,所以凿子的柄型也通常是SDS-Plus, SDS-Max, 四坑方柄,长六角柄等常规柄型. 为了适应更加大型的作业要求,凿子的柄型还增加了更大柄径更加重型的PH65A, 喜利得的TE-S型.

凿子的结构非常简单,能满足破碎的功能即使,比较常见的都是尖凿,扁凿,U型凿等,然而比较尴尬的是,即使简单如此的凿子,迄今为止我们还没有哪家供应商能够给BOSCH,Hilti等品牌商OEM,博世BOSCH的凿子至今仍然是意大利工厂生产,哪怕是在中国市场的博世,喜利得凿子也全部都是国外进口的.
比如下图BOSCH与HILTI的自磨型凿子,中国几乎还没有哪家工具厂能锻造出来,我们的精锻水平离国外还有一段很长的距离.


国内甚至都很少有单独的凿子工厂,市面现有的凿子工厂全部要么是锤钻厂某个车间附带在做的,要么是小型作坊工厂给大工厂贴牌生产的,显而易见,没人愿意花精力放在这种不产生太大利润的产品上面.
迄今为止,国内唯一还算拿得出手的凿子厂,当属宁波神龙工具厂,有缘在工厂跟工厂老板有过几次沟通,工厂老板也坦诚,”数十年的锤钻,镐凿经验,本可以有更多的机会,去做利润更好的锤钻或者别的产品,却几十年如一日坚守了凿子这个又重,货值又不高的产品.只为了做出中国人自己的高档凿子” . 这种回答让作为老板同时也作为厂里的工程师的工匠精神众目昭彰,
然而也不是没有回报,他的工厂已获得在德国地位仅次于BOSCH品牌外另一个专业锤镐品牌商的信赖,据说双方已经开始有了合作. 此情可赞,未来可期.

锤钻头的殿堂
这座殿堂叫做PGM,即德文的PrufgemeinschaftMauerbohrer e. V.
锤钻欧洲认证委员会

开孔的目的大部分用于对物件的锚固,而锚固件的强度和可靠性在很大程度上取决于钻孔的几何形状。现代锚杆只有在精确的钻孔中才能发挥最优异的性能。因此,欧洲锚固技术评估/批准协会(ETAs)对所用钻头有严格的要求。

钻头上的(PGM)的检验标志是锤钻头符合PGM生产标准的证明。该标志仅在以下条件下授予制造商:
必须拥有先进的生产工艺,采用严格的质量保证体系,每年由独立机构对生产的钻头进行一次批次检验,检验的要求包括钻头的所有机加工工序,热处理要求,以确保能达到先进的社会和环境标准. PGM制定了严格的准则,钻头制造商必须遵守才能获得认证印章,每一个认证后的制造商都有自己的一个单独编号,比如博世的PGM编号为42.
该检验要求是由国家批准的机构与全球领先钻头厂商和锚杆制造商联合制定的。
PGM®指导委员会还会在全球范围内的各个市场做一些基本调查,以确保所有标记PGM的钻头都能适用于锚固。新开发的钻头只有经过比较试验证明其适用性后才能得到检验标志。当用户购买带有PGM®标记的砌体钻头时,基本上可以确定这支钻头的质量。PGM认为,没有检验标志的钻头,都不应用于锚固,以防止人员或物品的损坏。
事实上中国符合PGM的厂家还不少,以下大陆地区供应商均获得了PGM证书.
浙江的德汇工具有限公司,
浙江方大工具有限公司,
宁波麦克潘特工具制造有限公司(现改名神钻),
镇江哈图工具有限公司,
在这些能登堂入室的厂家背后,当然是有欧美顶级品牌作为推手的,比如德汇(德威)的背后是BOSCH, 方大的背后是美国IRWIN,宁波麦克潘特的背后是Hilti喜利得/BOSCH,浙江哈图的背后是德国Heller.这些工厂都是这些品牌的OEM厂商.
严格的品控与生产流程,必定会有相对高额的成本,所以基本上PGM认证下出来的钻头通常会是普通钻头价格的一倍以上. 然而在中国内销市场,我们绝大部分工程队与工人师傅们只认效率与钻头的寿命的性价比,至于是否开孔精准,与锚栓是否完美配合等根本不会作为其考量.
而在高端市场的比如高铁,桥梁,机场等工程,因为国产没得选,进口品牌成了唯一的选择.
事实上PGM认证下出来的钻头在开孔数量与寿命上与普通的钻头根本不会有太大的差距,在中国这个追求极致性价比的市场下,PGM认证的钻头暂时是没有大众市场的,所以PGM认证的钻头在中国市场屈指可数,仅仅有如“BOSCH, Hilti, KEMPSTON”等品牌,加起来可能1%都不到.

中国的锤钻头发展史
世界锤钻头基地在中国,中国的锤钻头在芙蓉,
这句话绝非浪得虚名,虽然锤钻头在中国已呈遍地开花之势,比如在江苏丹阳,浙江宁波,湖南邵东,江西等地都有一些规模及以上的锤钻头工厂,但是绝大部分的锤钻头工厂大部分集中在浙江乐清的芙蓉,清江俩镇上,特别是芙蓉镇,遍地都是钻头厂,小小的镇上钻头厂达数百家以上,据说在芙蓉镇已几乎买不到工业用地了.
世有非常之人,然后有非常之事.
关于芙蓉钻头的起源,源于乐清一位蔡贞德的工程师,蔡贞德16岁就赴上海一家工具厂做学徒。由于天资聪明,工作勤奋,又加上机械制造理工科知识基础较好,他很快掌握了这门技术,并成为工具行业的专家,曾先后担任哈尔滨、成都量具刃具的工程师,也是新中国量具工业的局域奠基人。
退休后回到故乡,凭借一己之力,帮助家乡把濒临倒闭的农机厂改建成乐青市工具厂,又经他牵线搭桥,乐青市工具厂与成都市工具研究所组成联营厂,相继开发了电锤钻头系列和其他各种钻头。从此,芙蓉镇合金钻头生产从无到有,规模从小到大,最终形成全国最大的钻头生产基地,发展了日后再工具界闻名的钻头产业,芙蓉镇被誉为“中国钻头之乡”,蔡贞德也被当地誉为“钻头之父”,当地政府还专门为他树立了功德碑。

一个人催生一个产业,一种产品带动一条产业链。这就是芙蓉钻头五金业的前世今生。1997年之后,部分企业开始由钻头向硬质合金领域和整个电动工具耗材涉足. 以钻头为主,电动工具、木工铣刀、硬质合金等为辅的电动工具耗材之路基本在芙蓉形成,时至今日,本镇上涌现了方大工具,德威工具,永盛工具等大规模的锤钻工厂,在内销市场上,绝大部分的电动工具耗材都来自芙蓉工厂,做耗材生意的很多也是芙蓉人.
内销的锤钻也都基本来自芙蓉,知名的比如”方大王”就来自于芙蓉的“浙江方大工具有限公司”,另外一个“立昌”品牌,杭州立昌有限公司虽然在杭州,但也是芙蓉镇搬过去的,所以也应算芙蓉品牌,另外的东成,大艺等电动工具品牌的锤钻,则几乎来自于杭州立昌的OEM.
一支迷茫的电锤钻头
中国是锤钻大国,但并不是锤钻强国.
说到电锤钻头与整个建筑工程工具,我心中的大师级的品牌绝对不是博世BOSCH,也不是泛音FEIN,而是喜利得Hilti . 在欧洲中部,有一个国土面积只有160平方公里的小国,列支敦士登. 相比之下,浙江省的面积有10.55万平方公里,杭州市的面积有1.6万平方公里,就这么一个弹丸小国,却有一家全球顶尖的制造公司,Hilti喜利得!

在电动工具领域,全球知名度高的当然还有博世,牧田,DeWalt,这些品牌,但在喜利得面前,它们能炫耀的,只有销售额,说起喜利得的产品,第一印象就是贵!除了贵,还是贵!它有个外号---锤皇. 单从电锤上说喜利得的电锤是绝对顶级的存在,出色的设计,舒服的减震,强大的耐用性,不客气说,只要你按时保养,它能工作到你下岗,
其实不光电动工具方面,凡是喜利得涉及到的建筑领域,几乎全部是全球顶尖,像机械锚栓,化学锚栓(植筋胶),防震防火系统,切割、锯切,测量仪器,各种耗材,全球重要的建筑工程比如,高铁,桥梁,地铁,机场,电站,等所用到的锚栓,防火系统大都来自喜利得.
与前面一篇文章提到的麻花钻不同的是,麻花钻至少还有比如上工,哈量等工厂在做各种设计,研发,而纵观整个锤钻头行业,除了模仿就是就是在OEM,几乎没有自己独立研发的产品,有研发也是停留如何在生产效率工艺上,大家的心思似乎还停留在怎么占领更多的民用低端市场上,还无心做出更好 属于我们自己的东西.
当然这并不是厂家的原因,大环境如此,但是如果我们仅仅停留在这个阶段的话,三十年河东,三十年河西,世界潮流,浩浩荡荡,家国兴替,此起彼伏,中国的人口老年化时代即将到来,而拥有一亿人口的越南,13亿人口的印度却正当壮年.
这个世界是圆的,某种意义上,这个世界其实是平的,30年40年前能跑多快,能跑多远,并不代表接下来10年的速度,如今的越南,印度制造业都在加速,虽然目前体量还不是很大,但是如果跑在他们前面的国家突然觉得跑得差不多了,不怎么跑了,他们就会一个接一个的赶上来.
我们还有另外一个榜样叫日本,日本不仅跑赢了中低端制造业,占领了高端精密制造业的阵地,在积累了巨大社会财务的同时,而且几乎一年一个的诺贝尔奖持续的在提升着日本的科研力量.

这世界看似纷繁复杂,但对于Hilti来说却很简单,他的成功告诉我们,永远要抓住事物的本质,你在做什么?你能做什么?先做正确的事,再老老实实把事情做到最好,我们的产业就能实现健康长久,基业长青.
END