幸福狐狸连载四:揭秘幸福狐狸的“朋友圈”富迪健康科技多次被罚

知名微商企业广东幸福狐狸贸易有限公司(以下简称“幸福狐狸”)被清扬君曝光后,有网友告诉清扬君,幸福狐狸劣迹斑斑,就连它的合作方也是问题多多。

俗话说得好,物以类聚人以群分。一个企业好不好,本质上与合作伙伴关系不大,但是也有很多不良企业为了共同的利益走到一起,忽悠消费者和行业从业人员。

幸福狐狸连载四:揭秘幸福狐狸的“朋友圈”富迪健康科技多次被罚

企查查数据显示:幸福狐狸,曾用名广东幸福狐狸内衣设计有限公司和广州东幸福狐狸内衣设计有限公司,成立于2015年4月20日,注册资本5000万元,实缴0元。法定代表人、大股东韩雪持股98%,王帅持股2%。除了幸福狐狸,韩雪60%控股的幸福世纪集团股份有限公司9%控股广东幸福狐狸农产品有限公司、99%控股广州果工厂农业产品有限公司、99%控股广州大地幸福科技有限公司、99%控股广州幸福世纪科技有限公司、60%控股道明珠宝(广州)有限公司。

幸福狐狸连载四:揭秘幸福狐狸的“朋友圈”富迪健康科技多次被罚

幸福狐狸官网宣传资料显示:幸福狐狸心怀大爱,致力于打造大健康市场新生态,将健康的生活理念传至千万个家庭。幸福狐狸在深入研究大健康领域的同时,与行业领先企业富迪健康科技、东莞思朗食品等,达成了战略合作关系,强强联合,光环叠加,在食品、 药品、内衣、护肤品、化妆品、私护等健康领域进行了深入的研究,生产出了令无数家庭受益的高科技健康产品,将健康大爱更好地传递下去。

幸福狐狸高喊大健康和科技的口号,清扬君本文不评论,但幸福狐狸大肆宣传的“与行业领先企业富迪健康科技、东莞思朗食品等,达成了战略合作关系”,就有误导消费者和微商从业人员的嫌疑。

富迪健康科技官网显示:富迪健康科技有限公司是美国富佑集团FOR YOU GROUP L.L.C于1994年在上海设立的一家集科研、开发、生产、销售、服务于一体的现代化大型直销企业,旗下主打品牌包括“阳光靓彩”、“卡蕾伊”、“艾克罗司”、“健克雅”、“艾秘莉亚”和“4U植爱”等系列,产品领域涉及个人卫生及生活清洁用品、健康器材及健康用品、化妆品及个人护理品等系列。

富迪健康科技有限公司堪称是中国直销行业的“老字号”,1995年4月,获上海市工商行政管理局第一批批准,成为上海市8家直销公司之一;1996年1月,获国家工商行政管理总局第一批批准,成为全国41家直销公司之一;1998年10月,获国务院三部委联合审批,成为全国仅有的十家“店铺经营并雇佣推销人员”的外资转型企业之一;2006年10月,获中华人民共和国商务部第一批颁发的“直销经营许可证”。

十多年来,富迪健康科技有限公司始终坚持诚信投资、守法经营,积极履行社会责任,得到了中国政府的充分肯定和社会各界的广泛认可。2008年底,陈怀德先生出任美国富佑集团董事局主席,并于2009年初迅速启动了对中国市场的新一轮的拓展计划。在他的强力助推下,短短一年多的时间,富迪已在全国各地建立了20多家省级分公司,市场业务遍及全国。

看起来富迪健康科技不仅实力雄厚、发展迅猛,而且很有社会责任感,但实际情况如何呢?

幸福狐狸连载四:揭秘幸福狐狸的“朋友圈”富迪健康科技多次被罚

幸福狐狸连载四:揭秘幸福狐狸的“朋友圈”富迪健康科技多次被罚

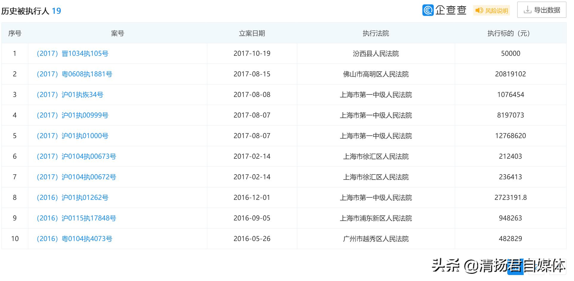
企查查数据显示,富迪健康科技被强制执行19次,这些强制执行的标的加起来超过了8306.28万元。此外,富迪健康科技还被上海市第一中级人民法院、汾西县人民法院、汾西县人民法院5次列入“失信被执行人”,是标准的老赖。

幸福狐狸连载四:揭秘幸福狐狸的“朋友圈”富迪健康科技多次被罚

2018年3月8日,《沪监管浦处字〔2018〕第152018010197号》决定文书显示:富迪健康科技因发布违法广告,被上海市浦东新区市场监督管理局责令立即停止发布相关的违法广告,在相应范围内消除影响,通报批评,并处罚款合计45.5万元。

富迪健康科技违法事实:当事人成立于1994年5月4日,2008年10月取得了商务部颁发的直销经营许可证,依法取得了直销经营资格,从事直销经营活动。2010年5月起,当事人在官方网站上发布商品名为“益齿健负离子矿物盐牙膏”的广告,广告内宣传该产品“采用珍贵、稀有的喜马拉雅矿盐为原料,凝聚历史精华,以世界顶级矿物盐牙膏姿态展示在世人面前,给人类口腔健康带来革命性的突破。” “富迪v生活”为当事人的微信公众号(微信号foryoucn)。 (一)2017年2月21日,当事人在微信公众号上发布名为“专属特制,就等一个您”的微信文章。该文章宣传名为“参之源”的商品具有“辅助降血压”、“提高免疫力”的功能。经查,“参之源”商品为普通食品。 (二)2017年3月11日起,当事人在微信公众号上发布名为“富迪产品画册”的微信文章,该文章主要用于向消费者介绍商品的品质、性能等内容。该文章中在介绍名为“精品套锅”的商品时,有“304顶级不锈钢”的内容;在介绍名为“富迪凝胶”的商品时,有“专门针对妇科常见疾病”的内容,经查,“富迪凝胶”商品为消毒产品。 (三)2017年11月28日,当事人在微信公众号上发布名为“全民补肽 富迪在行动”的微信文章。文章内宣传名为“小分子活性肽”的商品具有“增强机体的免疫力”、“降血压”、“血脂调节作用”、“抗氧化”、“抗运动疲劳”等功效。经查,“小分子活性肽”商品为普通食品。上述广告内容均由当事人员工设计、制作并经当事人确认和发布,广告费用无法计算。2018年2月7日,当事人已撤除上述广告。

2018年3月1日,《沪监管浦处字〔2018〕第152017100248 号》处罚决定书显示:富迪康科技因未按照规定向工商总局报备信息,且自有网站信息披露不完整,违法行为、违法状态持续时间较长,被上海市浦东新区市场监督管理局责令15日内整改,并处30万元罚款。

2019年2月21日,《沪工商检处字〔2019〕第320201810050 号》处罚决定书显示:富迪康科技自2018年4月8日起,在微信公众号“富迪 v 生活 ”中发布广告视频,该视频多次出现富佑集团董事局主席与现任或原国家机关工作人员的合影,在官网中使用富佑集团董事局主席与现任或原国家机关工作人员的合影做广告宣传,被上海市工商行政管理局检查总队责令停止发布违法广告,并处100万元罚款。

2019年9月2日,《沪监管浦处字(2019)第152019100001号》处罚决定书显示:富迪康科技未依照有关规定进行信息报备和披露,上海市浦东新区市场监督管理局罚款30万元。

更早的2009年11月12日,《沪工商徐案处字〔2009〕第040200910214号》处罚决定书显示:富迪健康科技涉嫌违反《直销管理条例》第五十条,被徐汇区市场监督管理局要求富迪健康科技责令停产停业。

如果大家看了富迪健康科技的“光辉历史”,估计怎么也不会和“与行业领先企业”联系在一起。可是为什么幸福狐狸要大力赞美富迪健康科技呢?是不知道富迪健康科技的真实情况,还是希望借助于富迪健康科技的直销牌照和产品进行弥补自身的短板?或许只有这两个“强强联合”的当事人才明白原因吧。