
文 | 互金跟投专家喵喵
都说有江湖的地方总免不了有腥风血雨,可以确定的是,P2P行业也是一个小江湖,所以自然免不了有一些变动与起伏,当然,不代表所有的变数都是糟糕的,还是要具体问题具体分析的。
(可关注互金跟投公众号,回复【5月】获取5月预警名单和更多资讯。)
草根投资
这两天,投友问得最多的平台莫过于草根投资,毕竟人家刚宣称了23亿元的融资: 6月4日,草根投资宣布获得上市公司洲际油气领投的23亿D轮巨额融资。
似乎草根投资已经不草根了,获得多轮融资,这次D轮融资高达23个亿,算得上是P2P行业历史上最大的单笔融资纪录。
在此之前,草根投资的三轮融资,分别是A轮顺为资本的副总裁马文静的千万美元融资;B轮,获得广州沃垠沃丰10亿元融资;C轮,上市公司*闻华**传媒1亿元融资。
不过,由于BC轮融资传出负面,且国资背景非常薄弱,因此一直以来保持观望的态度。
此次的D轮融资,能够改变这一观点吗?

(草根投资测评结果)
此次融资是由上市公司洲际油气(股票代码:600759)领投,这个上市公司背景如何?
洲际油气一直在资本运作方面久负盛名。
2017年7月,洲际油气成为2017年第一家遭遇控股股东股权质押爆仓的上市公司。

(洲际油气事件)
正是因为大量输血收购对象,让洲际油气的控股股东广西正和身负巨额债务,而洲际油气也因运作两年仍然烂尾的跨境并购才导致了此次的杠杆危机。
除了在资本运作上,洲际油气在经营上,也不甚理想。
据2017年年报显示,洲际油气2017年1-12月实现营业收入28.51亿元,归属于上市公司股东的净利润-2.26亿元。
不过在今年一季度,实现净利润4025.17万元,扭亏为盈,但是这并不代表没有风险。
综上,这个擅长资本运作,在2017年遭遇杠杆危机,经营状况也不乐观的大股东,能够给平台强有力的背景依靠吗?
另外,此次融资还未披露洲际油气的具体投资金额及增资后的股权结构,如果洲际油气真的能拿出其公告说的最多5亿元, 等股权进行变更后 ,草根投资或许可以尝试轻仓,目前还是维持观望。
微贷网
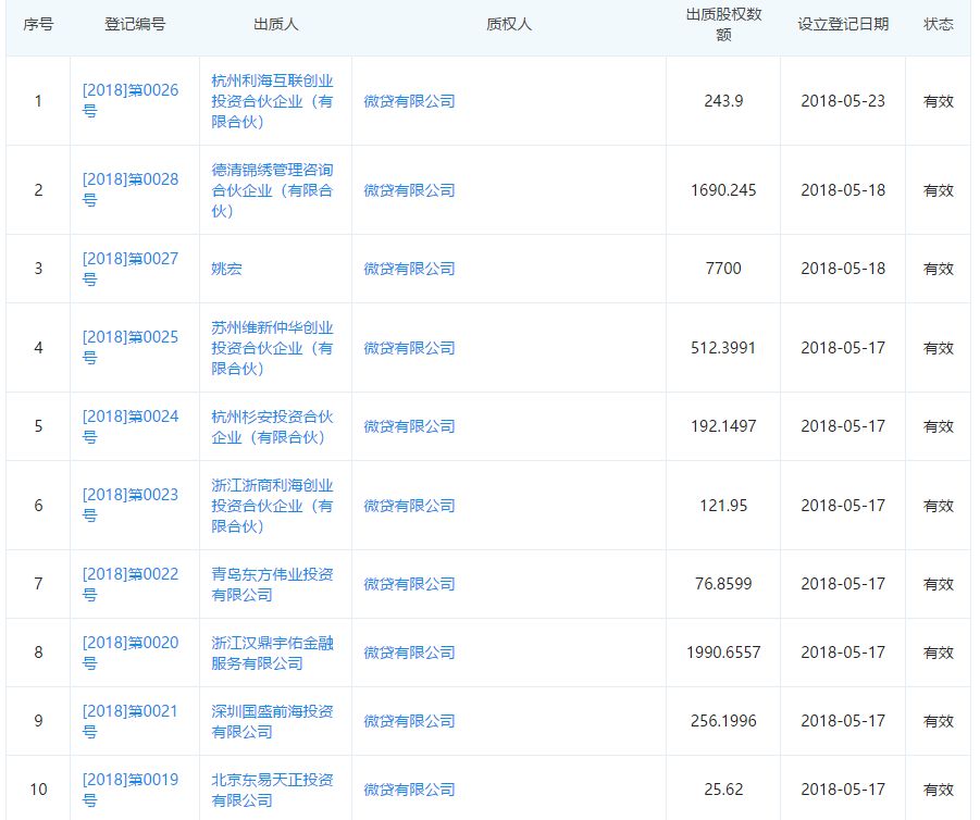
说完了草根投资,再来回顾一下前几天说的关于微贷网股权质押的事情。

(微贷网股权质押)
在企查查上面,也能看到微贷网的股东包括大股东姚宏在内的所有股东都把自己的股权进行质押,得到这一消息后,跟投专家在分析股权质押的行为,一般来说主要目的在于获取现金,但是觉得微贷网的情况与此不符。
根据微贷网控股公司汉鼎宇佑2017年年报披露,微贷网2017年营收36.7亿元,净利润5.44亿元;而平台2016年营收为17.76亿元,净利润为3.25亿,这么说来,微贷网不应该存在资金压力,至少短期内资金链都还很坚韧。
到底原因是什么?由于所知情况不多,因此当时只是把这件事说出来与大家分享。
随后,在行业里也引起了不少投友的关注。
上个星期,在微贷网召开的粉丝见面会上,相关的负责人也对“股权质押”一事做了回应:

(微贷网粉丝见面会)

(跟投粉丝聊天截图1)

(跟投粉丝聊天截图2)
姚宏对于是否赴港上市选择保密,在视频中,姚宏表示,微贷(杭州)金融信息服务有限公司即微贷网母公司,而此次质押给的是微贷有限公司,其旗下全资控股微贷香港有限公司,而这两个公司,都是姚宏作为法人。

(微贷有限公司股权结构)
虽然,姚宏对于赴港上市选择保密,但是,投友们分析,此次的股权质押就是为赴港上市而做出的准备:将微贷(杭州)金融信息服务有限公司装入微贷有限公司,此后有可能将这一股权注入微贷香港有限公司,香港上市就是自然而然的事了。
当然,这只是喵喵的猜测,至于后续是否沿着这条路发展,还得继续追踪。
不过可以肯定的是,微贷网目前没有什么问题,还是可以投资。
爱钱帮
在5月平台事件大汇总的时候,便有投友提及爱钱帮的事,跟投君的回复是6月份的平台库会进行调仓,但是很多投友都等不及想知道具体原因以及结果,今天喵喵就来解答一下大家的困惑吧。
先来说一下爱钱帮的股权结构,在2017年7月,爱钱帮宣布完成B轮融资,获得A股上市公司凯瑞德(002072)董事长张培峰个人5亿元人民币投资。
随后,经过股权结构变更,张培峰成为爱钱帮占股70%的大股东。

(爱钱帮股权结构)
而这个张培峰的来头,相信在资本市场的人对他还是比较熟悉的,张培峰擅长资本运作,人生的第一桶金也是从资本市场中获得的,在西班牙求学期间,18岁的张培峰紧盯欧洲股票市场,将目标投向了当时的新兴行业——电讯业,在短短三年内,在某龙头个股斩获近30倍收益。
2014年,张培峰成立深圳中金投基金管理有限公司,又“精准”踏上2015年的牛市,完成财富暴增。
2017年6月9日张培峰从二级市场上购买凯瑞德以来,已在1个月左右时间连续四次增持。增持后张培峰合计持有公司股9143134股,占公司总股本的 5.19%,彼时这部分股票市值近3亿。
从这些经历来看,张培峰的资本运作能力是值得佩服的,那他入股爱钱帮,对爱钱帮是利是弊?
喵喵猜想,张培峰以个人名义入股爱钱帮,然后经过包装运作,再以凯瑞德旗下公司的身份高价收购。
不过监管层此前发令严禁上市公司高溢价并购,虽后来澄清并未针对互联网金融等领域,但明确了高溢价并购的风险。
张培峰先以个人名义,成为爱钱帮的大股东,后又安排“自己人”进入爱钱帮。
据悉,爱钱帮的创始团队已悉数退出董事会。董事会中仅保留原来的董事长王吉涛变更为董事,原董事万良中、朱海发和监事汪凯随着资本的进入已被剔除出董事名单,并变更为董事石晗和监事程娜娜。
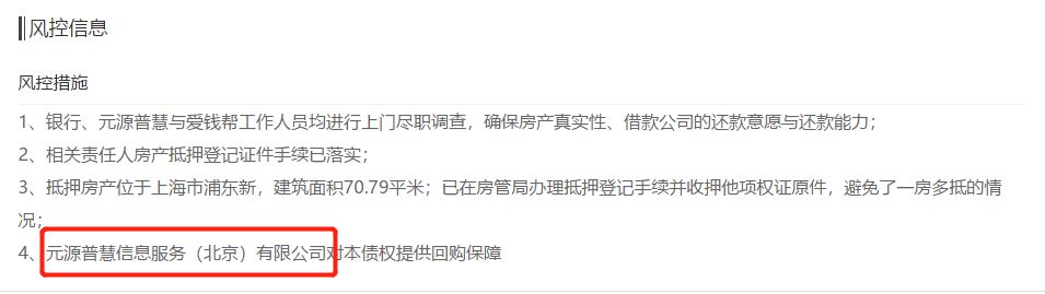
除了管理团队的大换血,资产端方面也有了更改,爱钱帮的散标区,现在发的标的主要为车抵贷与房产抵押贷,其中一个主力合作机构为元源普慧信息服务(北京)有限公司。

(标的风控信息)
喵喵进入一个房贷标的风控措施便能看到元源普惠信息服务(北京)有限公司的身影,那这个公司,与张培峰、凯瑞德有关系吗?

(元源普惠公司信息)
进入元源普惠的主要人员,喵喵发现到程娜娜作为其监事,而这个程娜娜同时也是爱钱帮的监事,从其关联公司就能看到:

(程娜娜任职信息)
也就是说,爱钱帮与凯瑞德的关系密切,爱钱帮是否会被凯瑞德收购成为上市公司的一员呢?
但是,带着私募操盘者和资本原始的嗜血本性的张培峰已经清理原管理团队,现在的爱钱帮是否还是原来那个平台吗?
从近期具体标的发现,在250个标的中以企业身份借款的标的83个,企业成立时间从2003年到2018年(跨度16年)不等,成立时间与发标时间仅相差3个月的标的有18个,占比21.6%。
可以看出大量新成立的企业在平台借款,从侧面是否能够说明平台的风控没有那么严谨?
以一个具体标的来说:爱车贷-大众*萨特帕**-CDA302

(具体标的)
从借款人信息披露中,喵喵确定是这家公司:承德浩源投资咨询有限公司。

(承德浩源企业变更信息)
这是一个新标,在6月4日的时候还未满标,但是法人在2018年3月9日已经完成了变更,平台犯这样的低级错误,也太不应该了吧?
由于张培峰的入股及管理团队大换血,爱钱帮的业务已经进行了调整,加上风控方面并不那么严谨,所以将爱钱帮暂时由中仓平台调为轻仓,日后是否能够升仓还是继续降仓就得看张培峰怎么发展爱钱帮了。
以上,就是最近三家问得比较多的平台分析,如果你有什么其他发现的话,也可以告诉喵喵哦。
本文来自【互金跟投】公众号平台(ID:hjgentou)。
互金跟投已更新独创119家P2P平台预警名单,预警命中率26.05%,成功避开善林财富,钱宝网,好好理财等32家暴雷平台。
感兴趣的投友,欢迎关注公众号回复【5月】获取5月预警名单。