文 | 青 争
NO. 1| 壹
你会因为什么而搬家?
孩子?工作?区域发展?或是交通?
小编有个做文创行业的朋友,目前住在富春板块的公望街地铁口,在银湖板块的雍景山城也有一套房子,目前是待交付状态。
朋友说, 原本他买雍景山城只是为了投资,但最近,他却动了把“家”转移到银湖的心思。
“杭州主城房子摇不到,摇了套银湖的,看着便宜也就买了。现在,看着银湖的发展红红火火,就打算慢慢住到银湖去了。”朋友说,他目前的客户,虽然依旧以富阳为主,但富阳终究是市场小了点。
“现在,杭州客户慢慢也多起来了。银湖么,离滨江什么的近一点,去客户那边也比较方便吧。而且,靠近美院,可能还能多招几个美院的学生来提高公司文创的实力。 目前感觉,银湖那边发展是真的不错,以后应该会越来越好 。”
不得不说,朋友选择银湖或许是明智的。
毕竟,银湖近段时间利好不断。无论是交通道路的发展,还是产业引进、银湖科技城的发展,都比富阳的老城区要更活跃。
正如朋友打趣说的那句话一样: 在银湖,见到“新面孔”美女的机会,要比富阳主城多得多 。
NO. 2| 贰
对此,小编对银湖近期的利好,进行了梳理。
首先,是交通方面:
地铁6号线,目前在银湖板块设置的站点最多,地铁出行便利,若将来14号线落地,就更是大利好;
彩虹快速路富阳段已全线通车、公交线路的优化,详情可见《银湖工作迎利好,事关地铁站...》......
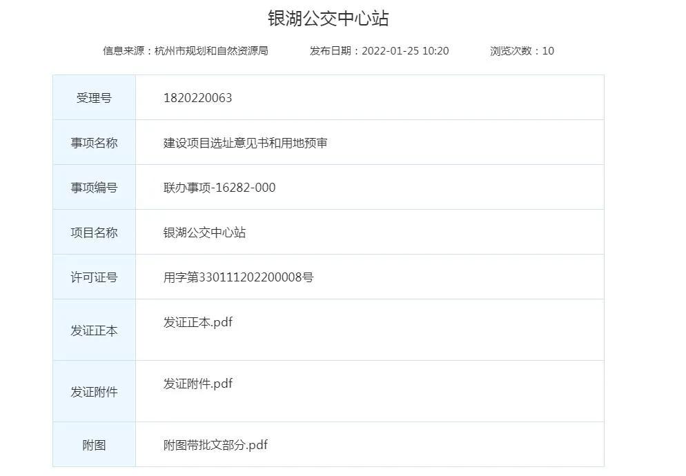
以及昨天,杭州市规划和自然资源局,发布了 银湖公交中心站的建设项目用地预审与选址意见书。 (不得不说,对于银湖区块的发展,政府真的有在用心和努力做规划。)


图源:杭州市规划和自然资源局
据附件可知,该公交中心站位于受降板块A-S41S42-01地块,位于受降地铁站西南侧。
具体范围: 西至用地边界,东至彩虹快速路绿化带,南至规划道路,北至银湖给水泵站绿化带。

图源:杭州市规划和自然资源局
该地块用地 面积为3458平方米 ,现状为建设用地0.3458公顷, 容积率为2.0-3.0 , 建筑高度不大于24米。
该公交中心站主要建设内容为: 一处公交首末站及社会停车场。

图源网络
其中,公交首末站包括 客流集散、场站管理、车辆停放、调度管理、车辆清洗、车辆检修和后勤保障等,功能配备齐全。
社会停车场要求 社会停车位不少于70个。
此外,还将充分开发利用地下空间,要求地下最大化全开挖,作为社会公共停车开放使用, 满足受降地铁站乘客P+R换乘需求,公交中心站与地铁衔接,这应该也算富阳首个了。

图源网络
住在银湖,以后可以公交无缝与地铁进行衔接,去滨江上班的,有时候在这遇上堵车,还能拐进来把车停好,然后换乘地铁上班。
NO. 3| 叁
再来看银湖的产业。
就像朋友计划搬到银湖那样:一方面,是因为银湖的未来;另一方面,也是看重银湖产业发展迅速,商业办公氛围浓厚。
此前,我们曾在《听说,银湖的房子变“昂俏”了!》这篇文章中提及,银湖引进高新产业,吸引 浙工大创新创业研究院、杭电研究院、大数据研究院等,集聚王光厚院士氢传感器项目、巨峰科技、雄迈集成、字节信息、艾科赛德 等一大批创业项目,还引进了 银江技术股份有限公司 、 银江研究院 落地银湖。

高新企业的落地,也促进了人才引进。
所以, 在银湖,有机会遇到更多的“新鲜面孔”。
此外,银湖科技城还一直处于规划发展之中,未来发展不容小觑。
再之,银湖,又靠近未来科技城,人才、资源的流动自然是大于富阳主城区的。
最近,在银湖13号地块规划图中,图片展示了银湖 八万多方的商业综合体 ,详情可见《银湖,即将新添8万多方的商业综合体》,以及富政储出[2021]3号地块—商业金融、商业办公用地、富政储出[2020]32号地块—旅馆用地,详情可见《快看!秦望府真正的纯粹大户型地块刚公示》。
当然,银湖值得期待的地块,以及产业发展远远不止这些。
银湖的未来,必然值得展望和期待。
NO. 4| 肆
小编的这位朋友,打算搬家银湖。
那么, 如果你在银湖也有套房,你会打算搬过去住吗?
你们会因为什么原因
想要搬家?
欢迎评论区留言讨论
- End -