钱江晚报·小时新闻记者 黄伟芬
11月10日上午10点,阿里司法拍卖频道一套武林壹号的房源1元起拍,保证金435.5万元。
这也是在杭州法拍房市场销声匿迹了将近一年半后,老牌豪宅武林壹号再次有房源上线司法拍卖平台。

这套武林壹号3幢1单元2901室的房产是顶跃,除了建筑面积718.03 ㎡的房子本身外,还包括两个地下车位及一个建筑面积约15.4 ㎡的地下储藏室。
整个标的的评估价约8697万元,也是截至目前武林壹号历年法拍房中评估价最高的一套。

1】已有6万多人次围观
出现神秘竞买人不断加价
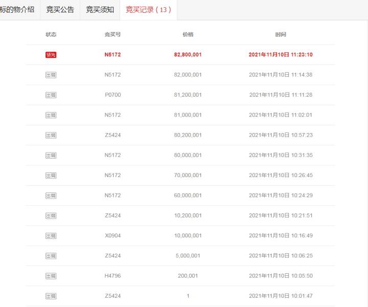
今天(11月11日)上午9点,有10人报名,2387人设置提醒,67052人次围观。
10日上午11点多,7人经过13次竞价,拍卖价格已经到了8280万元。
在这13次出价中,包括第一轮的1元起拍,有4次为Z5424买家出价。
虽然还没到最后阶段,但已经出现了N5172的竞买人不断加价的一幕。
竞买号为N5172的竞拍者,在没有对手出价的情形下连续出价,不知道是不是嫌加价速度、幅度过慢,分别在6、7、8轮,时隔3分钟加价约4980万、时隔2分钟1000万、时隔5分钟1000万地凑整加价,在Z5424加价20万后再次出价。
随后,在P0700买家加价20万后,N5172买家再度凑整加价,约10分钟后,N5172买家又又又又为自己加价了,这一把,加到了8280万。
上午9点35分开始,又有两人报名入场。
63次竞价(其中38次延时)之后,截至11月11日上午10点50分,该房产价格已经拍到了9400万元,拍卖还在继续。
最终经过85次竞价,上午11点37分,该房产被竞拍号为Z5424的竞拍者以9840万元拍下,超过评估价1100多万。

2】此套房源被称“皇冠上的明珠”
保证金就要435.5万元
需要注意的是,这套房源的保证金为435.5万元,如果悔拍,保证金将不予退还。
如果悔拍,这笔钱都够在杭州买得起一套还可以的新房了。
具体情况如何,小时新闻记者将继续关注。

这套房源确实也算得上武林壹号600多套房源中的“皇冠上的明珠”。
据悉,700㎡以上的顶跃户型,整个武林壹号小区不到10套。根据透明售房网数据,3幢1单元2901室当初新房销售时的备案单价为9.85万元/㎡,总价为7073万元,在小区所有房源中位列第4贵,比它更贵的只有5幢1单元2501室,备案价7252万元,以及1幢的两套建筑面积高达1121㎡的顶跃,当初备案价都超过1亿元。

2901室为一户一层,配备三部电梯,包括一部保姆电梯,房子建成于2015年。室内一楼平面布局为两房三厅一厨四卫一保姆房一阳台,二楼平面布局为三房两卫。目前二楼北面一房间及南边主卧卫生间东部区域因装修改造,内部原有装修已经拆除,处于毛坯状态。
3】欠物业费等18万多
这些细节请注意
小时新闻记者了解到,该房产目前在开发商名下,标的物存在二次过户。标的物转让登记手续由买受人自行办理,交易双方按照税法规定各自缴纳相应的税(费)。
根据小区物业公司提供的信息:截止至2021年9月30日计费周期,该房产所欠物业服务费180081.92元、车位管理费6600元、储藏室物管费1650元,三项合计188331.92元。之后所产生的物业费及可能存在的房屋维修基金、水电煤等欠费情况需要竞买人自行向物业公司及相关管理部门咨询确认,前述所欠费用均由买受人承担。
从十年前首开至今,武林壹号房产多次流入法拍市场,也书写着富豪们大起大落的人生。
此前最近的武林壹号一次法拍是在2020年5月13日,一套556.79平方米的房源,经过119次竞拍成交,成交总价4750万元,单价8.5万元/平方米。
本文为钱江晚报原创作品,未经许可,禁止转载、复制、摘编、改写及进行网络传播等一切作品版权使用行为,否则本报将循司法途径追究侵权人的法律责任。
来源:钱江晚报·小时新闻