顶级管理咨询公司——麦肯锡、波士顿、贝恩(MBB)
麦肯锡、波士顿咨询和贝恩公司是全球顶级管理咨询公司,在多个排名上长期保持前三的位次。无论是员工收入还是项目收费,大致都代表行业顶尖水平。

根据福布斯2016美国非上市公司排行榜(America's Largest Private Companies),麦肯锡以84亿美元的收入位列39,波士顿咨询以50亿美元的收入排名80,而贝恩以23亿美元的收入排名203。三家员工数量分别约为1.1万,1.2万和5700。
计算后得出,麦肯锡平均每个雇员为公司贡献约76.4万美元的营业收入,波士顿咨询为41.7万美元,贝恩人均创收40.4万美元。

运营效率的差异或由于三家在业务细分上的差异。麦肯锡战略咨询(比较贵的项目)占比可能会较高。
"四大"——普华永道、德勤、安永、毕马威
普华永道、德勤、安永和毕马威已经不再仅仅是四大会计师事务所,近年来,它们通过频繁的横向并购,咨询业务发展极快,规模扩张迅速。在不少咨询企业的收入下滑的大背景下,"四大"的咨询收入增长确实亮眼。
引入数据之前,有必要先对"四大"咨询业务的披露方式进行说明。首先,"四大"仅在全球层面和一些主要经济体披露财务数据,其次,"四大"的咨询业务统计方式有所不同,普华永道年报中将咨询类业务统称为Advisory,不再进行细分;德勤将管理咨询(Consulting)和财务咨询(Financial Advisory)单独进行计算;安永与德勤做法类似,将Advisory(咨询)和Transaction Advisory(财务交易)单独统计;毕马威和普华永道类似,统称为Advisory(咨询)。本文中"四大"的咨询业务指的是整体的咨询类服务,对于单独披露咨询和交易服务收入的德勤和安永,对其两项数据进行加总,统称为咨询收入。
根据其全球年报,2015财年,德勤咨询收入高达153亿美元,占整体收入比重为43%,规模和权重均居"四大"之首;普华永道咨询收入达112亿美元,占整体收入32%;安永咨询收入为98亿美元,占整体收入比重为34%;毕马威咨询收入为91亿美元,占整体收入比重为37%。
在体量上,"四大"咨询中最小的毕马威,也比MBB中最大的麦肯锡,要大一些。在"四大"咨询收入在整体收入中的份额上,普华永道最低。
"四大"在年报中都披露了整体的员工数量,就其全球整体的运营效率而言,普华永道2015财年平均贡献约17万美元的营业收入,德勤约为16万美元。安永和毕马威均14万美元左右。
仅有安永披露了具体业务线的员工数量。2015财年,安永咨询业务收入98.2亿美元,从业人员5.2万余人,人均创收18.8万美元,远低于MBB。
差距可能由如下几个因素导致。其一,"四大"的咨询类服务收费整体低于MBB;其二,"四大"的咨询类业务中,战略咨询等高费率服务占比较低,而运营和技术实施类服务需要投入的员工数量较大。

鉴于"四大"整体运营效率接近,基本可以推断"四大"咨询每个员工年创造营收应维持在20万美元上下。这不代表"四大"一些采取独立品牌运作战略咨询,如德勤的摩立特(Monitor)和普华永道的思略特(Strategy&),这两家或与MBB的效率更为接近。
埃森哲、IBM
埃森哲和IBM的体量庞大,业务复杂。
2016财年,埃森哲全球营收达329亿美元,雇员总数为38.4万。如将其整体视作咨询公司,人均创造收入仅8.46万美元。在披露的10K文件中,埃森哲的业务按照类型(Type of work)可以被分为咨询业务(Consulting)和外包业务(Outsourcing)。按照此维度,其营收中有179亿美元来自咨询业务,其余为外包业务。
但埃森哲并未公布细分的雇员数量,但常理判断咨询类业务的运营效率会更高,人均创造收入会更多,或略低于"四大"的水平。

2016财年,IBM录得799亿美元营收,雇员总数约为38万,人均创造营收21万美元。整体业务被分为Cognitive Solutions,Global Business Services,Technology Services & Cloud Platforms,Systems和Global Financing五大板块。IBM的咨询(Consulting)业务属于GBS板块,2016财年营收达73亿美元。IBM并未披露细分的雇员信息。

国内咨询公司——北大纵横
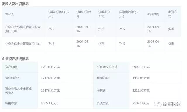
国内咨询公司数量繁多,体量相对较小,信息公开很少。北大纵横或可以作为国内一线咨询公司的代表。"企查查"中的工商数据显示,2015年,北大纵横营业总收入为1.71亿元人民币(2400万美元),从业人数642人。计算得出人均创造业务收入约为26.6万元人民币(3.8万美元)。


总结
简而言之,平均每个麦肯锡员工给公司带来的业务收入,约为波士顿和贝恩的2倍,约为"四大"的4倍,约为北大纵横的20倍。

写在最后的是,虽然都被叫做"咨询",但每家公司的业务结构差别仍然较大,通过公开信息的比对只能看到整体,并无法探知不同业务群组的表现。