宠物品类一直是跨境热门品类,疫情以后更是增速惊人。欧美是全球最大的宠物经济市场,在美国,约有69%的家庭饲养了至少一只宠物。有权威数据预测,到2023年全球宠物经济市场预计将达到2979亿元。
宠物热门细分品类包括宠物食品,宠物玩具,宠物美容,宠物喂食,宠物出行等等。
在亚马逊上,我们注意到,一款外表看似普通的宠物笼子,居然拥有高达120000个评论。

这是宠物品牌是Mid West Homes For Pets 家的产品 ,产品材质为铝,具有双开门设计跟独特滑动栓门锁,圆角设计跟耐用涂层能让狗狗安全安置于狗笼之内,组装方便并且还能轻松折叠。

MidWest Homes for Pets是美国百年宠物品牌,通过产品开发研究跟无数测试,致力于提供最创新、最有效和最优质的产品。另外,还为爱狗人士提供专业宠物训练方案。


一起看下该品牌的知识产权布局情况。
MidWest Homes for Pets品牌权利人为Mid-West Metal Products Company, Inc.旗下拥有包括ICRATE,QUIET TIME等多个子品牌。
商标注册情况如下:

专利方面, MidWest Homes for Pets拥有100多个专利。

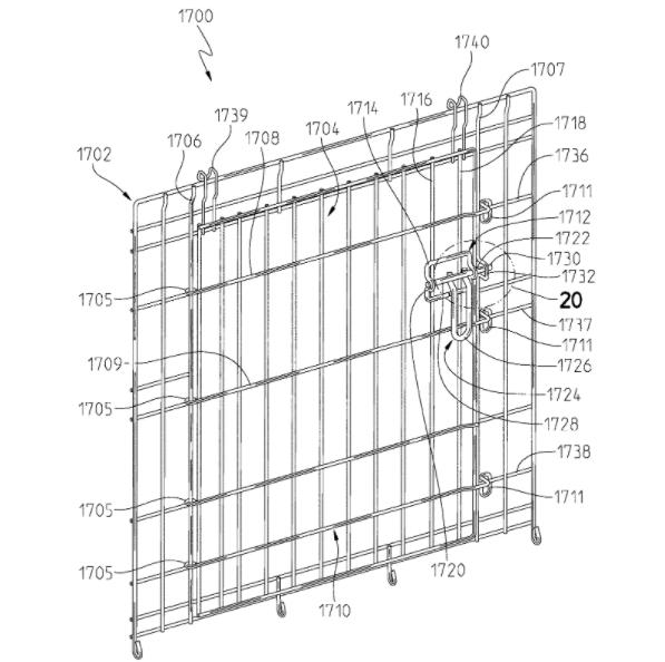
品牌方除了完整产品会申请发明及外观专利之外,一些独特的创意设计也会申请专利。例如下方这个滑动门锁就具有美国发明专利。


下方列举品牌方几个具有外观专利的产品供卖家参考。





以上就是今天的宠物品牌分享,看似平平无奇的狗笼产品却能拥有十几万的评论,其产品实际拥有独特的创意设计。 MidWest Homes for Pets拥有多个商标及100多项专利,其知识产权保护十分全面,卖家们在销售的时候要尽量避开该品牌的侵权雷区。
另外除了产品的实用功能之外,品牌方还能为消费者提供附加价值,包括如何利用产品进行宠物训练,增进宠物跟主人的感情。全方位的产品服务不断增强品牌影响力跟品牌价值。