对众多消费者来说,品牌质量是挑选车型的重要因素之一,许多人选购自主品牌车型时,往往会顾及到质量而犹豫不决。今天我们根据自主汽车网品牌投诉栏目、汽车之家、车质网等知名网站投诉数据进行分析,来向大家盘点,我国各个自主品牌的质量到底如何。
说到具体品牌的质量表现,还是一件比较悬的事情,我们不能通过某一车型用起来没出过问题所以断言这品牌质量不错。目前业界可以用PPH(新车百车故障数)值来大致判断,PPH值是指用车时间在2-12个月的新车平均每一百辆中出现多少个故障的数值,数值越小,则代表质量越好。这篇我们就选择了目前自主品牌销量最好的品牌——吉利,来作为本系列第一篇质量档案。

可能还是有些读者不太能理解自主品牌在全球所有品牌中的水平,所以我也给出了合资品牌的PPH值数据,大家可以对比来看。
从数据来看,自主品牌的平均新车质量确实要比合资品牌的质量更差一些。即使是自主品牌领头羊吉利,其PPH值为229,也还离合资品牌的平均PPH值有微小的差距。

(数据来源:自主汽车网)
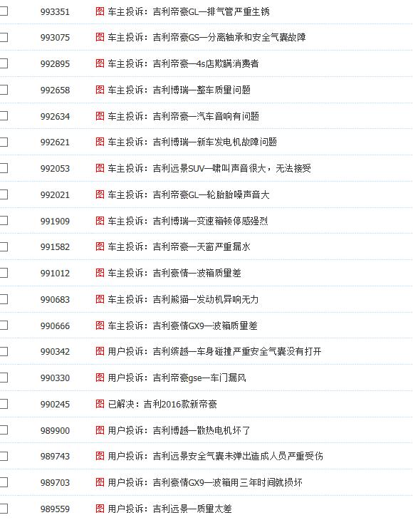
而从自主汽车网对于自主品牌车型投诉量来看,吉利也有两款车型上榜:吉利帝豪和吉利博越。这两款车型是吉利在紧凑级轿车和紧凑级SUV的主打车型——事实上这两款车型已经上市多年,帝豪甚至超过10年,且这两款车型销量一直都还不错,基本保持在月均15000台以上,也是因为如此巨大的保有量,所以对于质量问题的投诉数量较多。

(数据来源:自主汽车网)
从问题类型来分析,吉利品牌主要的质量问题就是集中在抖动、异响、变速箱顿挫和转向系统卡滞上——简而言之,三大件出的问题较多。不过看起来问题都不算大,并没有出现断轴、漏油等设计方面的问题,异响、抖动、转向卡滞一般来说是装配和安装方面的问题。

( 数据来源:自主汽车网)
笔者之前有文章说过,自主汽车之所以在技术方面有所落后,其实并不单单是主机厂的原因,还因为国内整体的制造工业和国外有差距,我国自主品牌汽车工厂的自动化、工艺流程、装配工人的整体技术水平是和合资品牌工厂也是有差距的。而不得不提的是,吉利可是有着接近150万台的年产量,设备、人工的技术水平差距放在一百多万辆车辆年产量的基础上也被放大,在这种背景下吉利将品牌PPH值保持在合资品牌的平均水准左右,我觉得是值得夸赞的。

但事实上吉利依然可以做的更好——2018年全年,自主汽车中质量最好的品牌是领克,合资品牌中质量最好的品牌是沃尔沃,雷克萨斯是纯进口品牌,不在合资品牌之列。可以说目前中国最好的造车工艺都集中在吉利集团旗下——从领克、沃尔沃学习到先进的制造工艺、流程、设备是完全可以下放到吉利品牌车型身上的,不过学习经验、吸收改进需要时间,购买更好的设备需要金钱。而后者在吉利品牌庞大的销量之下不是问题,所以吉利只是需要时间而已。
实际上所有的自主品牌汽车都是需要时间来完善整个行业的技术标准、工艺流程,在我看来,其实自主品牌的进步是飞快的,就比如长城的哈弗就是如此。从新车质量的表现看,绝大部分自主品牌2018年度的新车质量相对2017年有了长足的进步,其中吉利更是提升飞快。所以2020年甚至2019年,我们或许就可以看到吉利品牌的新车质量超过许多合资品牌了。届时,我相信吉利的消费者们也不会再因为质量而犹豫不决。
