作者:31537681680883
浙江省人民医院 专职专科护理单元 项小燕
护士兄弟姐妹们平常打得了针,救得了命;能做研究,能搞革新。但对双腔耐高压PICC导管的封管问题犯了难。
现在耐高压注射型PICC已被广泛应用于临床;但其在使用过程中也存在一些问题。临床使用耐高压PICC导管常见问题为导管堵塞,严重影响导管使用寿命。有研究显示,双腔耐高压注射型PICC堵管发生率为23%,;临床在使用双腔耐高压注射型PICC时,发现不常使用的管腔易出现堵管,交替使用两个管腔能有效降低堵管发生率,但两个管腔交替使用在执行上存在一定困难。那怎么办呢?
聪明的美小护们想到了采用单手双腔同时封管手法对双腔耐高压注射型PICC进行封管,取得良好的效果,但存在一定操作难度,比如注射器滑脱,污染,推注注射器活塞用力不均等问题。

图一,单手双封法
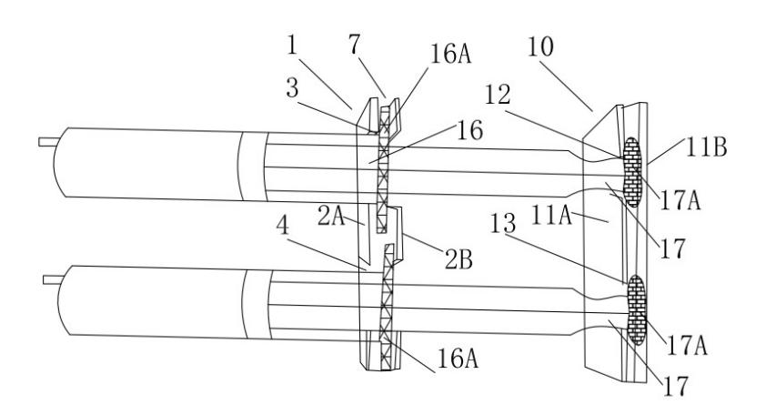
问题似乎一个接一个,但这怎能难倒我们呢?我科设计一种能用于医护人员单人实现双腔同时冲封管的装置(见图二)。该辅助装置包括空筒支撑座,所述空筒支撑座包括本体,所述本体的上表面开有第一凹槽、第二凹槽,所述第一凹槽、第二凹槽贯穿本体的正面、背面且平行设置。第一凹槽、第二凹槽分别用于固定容纳针筒的筒身,具体是针筒上端外沿贴合住本体背面的第一凹槽或第二凹槽的两侧,将两个针筒平行固定在空筒支撑座上,医护人员单手通过空筒支撑座固定两个针筒,再利用同一只手的手指或手掌推动两个活塞杆实现同步注射或利用另一只手同时推动两个活塞杆进行同步注射。

图二,POWER PICC导管冲封管辅助装置使用实例
图中:空筒支撑座1,本体2,本体正面2A,本体背面2B,本体侧面2C,本体上表面2D,第一凹槽3,第二凹槽4,第一副槽5,第二副槽6,第一通孔槽7,第一弧形槽8、第二弧形槽9,按压底座10,支撑块11,支撑块正面11A,支撑块背面11B,支撑块侧面11C,支撑块上表面11D,第三凹槽12,第四凹槽13,第三副槽14,第四副槽15,针筒头部16,针筒上沿16A,活塞杆头部17,活塞杆上沿17A。
本辅助装置与现有技术相比,医护人员既能单手完成双腔导管同时冲封管操作,降低了医疗成本;又能同时完成双腔冲封注射,降低堵管发生的概率,提高安全系数;并且安装使用方便快捷,仅需将针筒直接放置即可实现;该装置采用PP材料,制造成本低廉,清洁消毒方便,可重复多次使用。
护士不仅有双灵巧的双手,小点子也非常多,发现问题解决问题的能力那是一套一套的。小小装置切切实实解决临床大问题。
本文转载自其他网站,不代表健康界观点和立场。如有内容和图片的著作权异议,请及时联系我们(邮箱:guikequan@hmkx.cn)