工作中常遇到这样的问题:
北京市,税前年薪50个W,税后真正拿到手的有多少个W?
天津市,想税后30个W,得向HR要多少个W的税前?
……
今天介绍一款免费、简单好用的税前、税后工资转换神器:“张大妈计算器”。网页地址:https://hizdm.cn/city/beijing/

图 1 主界面
√ 点击红框切换城市;
一、税前转税后:
操作比较简单:输入税前月薪 → 设置专项扣除及五险一金标准 → 点击查看结果:

图 2 配置税前月度收入、专项附加、五险一金标准
根据设定算得的月度税后收入总额:

图 3 月度税后收入总额
√ 此处“税后”为每月税后收入的平均值。
√ 由于当前实行的累计税率,因此每月实际税后收入会与该数略有出入,但全年平均数与此基本吻合。
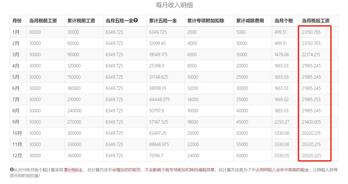
该工具也可以帮你推演正常情况下每月税后工资清单:

图 4 每月税后工资推演
二、税后转税前:
点击此处进入“工资反推”界面:

图 5 税后转税前入口
点击“计算”,系统会自动算出结果与目标税后月薪无限接近的税前月收入:

图 6 自动反推的税前月收入